ЗапКам
zap-kam16@yandex.ru
(900) 323-41-41
Вход / Регистрация отключена
Вход
Избранное
0
по запросу
Каталог
Все товары и категории
Запчасти КАМАЗ
Двигатель
Двигатели в сборе
Евро-0
КамАЗ-4310
Урал-4320
КамАЗ-4350
Евро-1
КамАЗ-43114
Евро-2
КамАЗ-43118
КамАЗ-65115
КамАЗ-6520
Евро-3
Евро-4
Евро-5
Газовые
Блоки цилиндров
Блоки цилиндров Евро-0 КамАЗ
Блоки цилиндров Евро-1 КамАЗ
Блоки цилиндров Евро-2 КамАЗ
Блоки цилиндров Евро-3 КамАЗ
Блоки цилиндров Евро-4,5 КамАЗ Common Rail
Сборочные комплекты (лонг-, шорт-блоки)
Блоки управления
Валы коленчатые
Коленвалы Евро-0 КамАЗ
Коленвалы Евро-1 КамАЗ
Коленвалы Евро-2 КамАЗ
Коленвалы Евро-3 КамАЗ
Коленвалы Евро-4,5 КамАЗ Common Rail
Вкладыши коренные
Евро-3,4,5
Евро-0,1,2
Вкладыши шатунные
Евро-3,4,5
Евро-0,1,2
Валы распредительные
ЦПГ – поршневая
Поршневая Евро-4,-5 (740.602)
Поршневая Евро-2,-3 (740.60)
Поршневая Евро-1,-2 (740.30)
Поршневая Евро-0,1 (740)
Кольца поршневые
ТНВД
Евро-4-5 Common Rail
Евро-3
Евро-2
Евро-1
Евро-0
Система питания
Форсунки топливные
Распылители форсунок
Топливозаборники
ГБЦ
Евро-3,4,5 Common Rail
Евро-1,2,3
Евро-0
Газ
Турбокомпрессоры
ТРК Евро-4,5 (однотурбовые)
Евро-4
Евро-3
Евро-2
Евро-1
Насос водяной
Насос масляный
Маховики
Коробка передач
КПП в сборе
Валы
Валы вторичные
Валы первичные
Валы промежуточные
Шестерни
Синхронизаторы
Делители в сборе
Коробка раздаточная
РК в сборе
РК 6522
Дифференциалы
Валы
Валы первичные
Валы промежуточные
Вилки
Шестерни
Механизмы переключения
Трансмиссия
Мосты
Редукторы в сборе
Заднего моста
Переднего моста
Среднего моста
Зубьев
31, 35
50
49
48
47
46
КамАЗ
4310
43114
43118
4326
5320
53205
65115
43253
53229
6520
6522
4308
65111
65116
65117
55102
55111
53212
53215
54115
5410
5511
Мосты в сборе
Передние
Средние
Задние
6520, 6522 (20т)
65115 (15т)
65111 (15т)
43118 (10т)
43114 / 4310 (8т)
53205 Евро (10т)
5320 (8т)
5511 (10т)
МОД
Мадара
Подвеска в сборе
Ось передняя
Ось в сборе
Ходовая часть
Подвеска (тележка) в сборе
Колеса и шины
Рама
Рессоры
Лебедка
Механизмы управления
Отопление и вентиляция
Система выпуска
Сцепление
Тормоза
Кабина
Управление рулевое
Электрооборудование
Автомобили
КАМАЗ 5490
Двигатель 457
Двигатели в сборе
Сцепление
Кабина
Кузов
Мосты
Рама
Система выпуска
Тормоза
Управление рулевое
Ходовая часть
КАМАЗ К5
Двигатели WeiChai
Двигатели в сборе
Двигатели Р6
Двигатели 910 Р6 в сборе
Кабина
Сцепление
Тормоза
Управление рулевое
Электрооборудование
ZF
КПП ZF в сборе
16S EcoSplit
КПП 16s 1820 TO
КПП 16S 2220
9S Ecomid
12AS Astronic
12TX Traxon
Запчасти 12tx Traxon
Cummins
Двигатели в сборе
Блоки цилиндров
Коленвалы
Головки блока
Генератор
Китайские грузовики
Shaanxi HanDe
Fast Gear
Sitrak
Weichai
FAW
Laizhou Tongji
Европейские грузовики
Mercedes
Электрооборудование
Блоки управления
Блоки управления ADM
Блоки управления CPC4
Блоки управления двигателем
Блоки управления электрооборудованием
Датчики
Стартеры
Карданная передача
Карданы КамАЗ
Коробки отбора мощности
Прицепная техника
ССУ (Седла)
Ремонт
Ремонт двигателей
Ремонт КПП Камаз и ZF
Ремонт раздаток и редукторов
Ремонт кабин
Услуги
Комплектация заявок
Скупка запчастей и агрегатов
Контакты
Отправить заявку
Каталоги запчастей к технике
Грузовые
Foton
Foton-BJ1099
Клапан регулировочный
Поиск
Клапан регулировочный
/ Foton-BJ1099
zoom-in
zoom-out
enlarge
shrink
circle-right
circle-left
file-text2
info
cart
Тип техники
Не выбрано
Грузовые
Двигатели
Марка
Не выбрано
DAF
DongFeng
FAW
Foton
HOWO
IVECO
JAC Motors
MAN
Shaanxi
SITRAK
Volvo
Автокомпонент Плюс
ЗИЛ
КАЗ
КамАЗ
Мадара
НефАЗ
СЗАП
Тонар
УралАЗ
Модель
Не выбрано
3253DLPJE-0RZA01 (2015)
4189SLFKA-AEZA01 (2012)
BJ1039, BJ1049 (Aumark III) (2008)
BJ1041, BJ1069 (Ollin) (2008)
BJ1051, BJ1061 (Aumark) (2009)
Foton-BJ1039 (2007)
Foton-BJ1049 (2007)
Foton-BJ1049 (2007)
Foton-BJ1069 (2007)
Foton-BJ1099 (2007)
Foton-BJ3251DLPJB (2007)
Оllin Express I (2008)
Схема
>
Не выбрано
Механизм опрокидывания и фиксации кабины
Механизм опрокидывания и фиксации кабины
Подъемный насос
Элементы кабины
Элементы кабины
Элементы кабины
Элементы кабины
Остекление кабины
Коврики и звукоизоляция
Стеклоочиститель и стеклоомыватель
Панель приборов
Каркас и остекление боковой стенки
Каркас и остекление задней стенки
Аксессуары крыши
Двери
Стеклоподъемник
Дверной замок
Сиденья
Спойлер
Система отопления
Кондиционер
Зеркала заднего вида
Солнцезащитный козырек
Ремни безопасности, огнетушитель
Логотипы кабины
Логотипы кабины
Логотипы кабины
Логотипы кабины
Облицовка кабины
Брызговики
Подножка
Платформа
Платформа
Платформа
Брызговик
Брызговик
Брызговик
Кронштейны для подъема двигателя
Подвеска силового агрегата
Насос масляный
Блок цилиндров
Картер масляный
Маслоохладитель
Маслоохладитель
Распределительный вал и шестерни
Коленчатый вал, поршень, шатун
Головка блока цилиндров
Ось клапанного коромысла
Картер маховика
Маховик
Крышка головки блока цилиндров
Сапун
Заглушка
Шкивы
Привод компрессора
Коллектор выпускной
Коллектор выпускной
Патрубок выпускной
Насос топливный
Система впрыска топлива
Фильтр топливный
Фильтр топливный
Трубопровод от топливного фильтра к топливному насосу
Трубопровод от топливного фильтра к топливному насосу
Топливный бак
Топливная система
Механизм управлением акселератором
Механизм управлением акселератором
Система подачи воздуха
Коллектор впускной
Выхлопная система
Выхлопная система
Привод вентилятора
Насос водяной и термостат
Вентилятор
Радиатор
Радиатор
Сцепление
Картер сцепления
Привод сцепления
Привод сцепления
Картер коробки передач
Вал первичный
Вал вторичный
Вал промежуточный
Крышка задняя
Крышка верхняя
Крышка верхняя
Механизм переключения передач
Механизм переключения передач
Вал карданный
Мост задний
Рама
Бампер передний
Бампер задний
Подвеска передняя
Подвеска задняя
Ось передняя
Ось передняя
Колесо и шина
Колесо и шина
Колесо и шина
Подъемное устройство запасного колеса
Управление рулевое
Гидроусилитель рулевого управления
Тормоза передние
Подвеска педали тормоза
Стояночный тормоз
ABS
Клапан регулировочный
Клапан четырехконтурный
Клапан быстрого растормаживания
Клапан быстрого растормаживания
Клапан ускорительный
Клапан тормозной
Трубопроводы тормозной системы
Трубопроводы тормозной системы
Трубопроводы тормозной системы
Трубопроводы тормозной системы
Трубопроводы тормозной системы
Трубопроводы тормозной системы
Трубопроводы тормозной системы
Трубопроводы тормозной системы
Трубопроводы тормозной системы
Трубопроводы тормозной системы
Трубопроводы тормозной системы
Трубопроводы тормозной системы
Трубопроводы тормозной системы
Установка воздухоосушителя и ресивера
Генератор переменного тока
Стартер
Аккумулятор
Освещение заднее
Освещение переднее
Сигналы звуковые
Переключатели
Реле
Жгут проводов шасси
Жгут проводов кабины
Комбинация приборов. Датчик спидометра
Датчики и клапаны
Термометр и датчик
Акустическая система
Инструменты
Ящик с инструментами
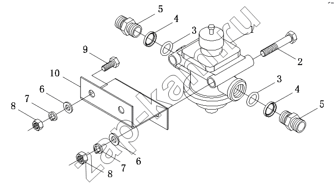
1
2
3
3
4
4
5
5
6
6
7
7
8
8
9
10
Поз.
Артикул
Название детали
Foton-BJ1099
Модель А
Модель В
1S107935643Н1
1S107935643Н1
Регулировочный клапан
1
1
1
1
1106835680008
Клапан регулировки давления
1
1
1
2
Q150В1080
Болт с шестигранной головкой
2
2
2
3
NМО20х2.65G
О-образное резиновое уплотнительное кольцо
2
2
2
4
1417035600120
Сальник
2
2
2
5
1417035600174
Штуцер
2
2
2
6
Q40110
Плоская шайба
4
4
4
7
Q40310
Шайба пружинная
4
4
4
8
Q340В10
Гайка шестигранная тип 1
4
4
4
9
Q150В1030
Болт с шестигранной головкой
2
2
2
10
1106835680009
Кронштейн клапана регулировки давления
1
1
1
Содержащиеся в справочниках-каталогах запасные части и детали не предлагаются к продаже, а носят исключительно информационный характер
Дополнительная информация
×
Название:
Номер:
Примечание:
Войти
Имя пользователя
Пароль
Забыли пароль?
Запомнить меня
Войти
Поиск товаров
Поиск товаров
Корзина покупок