ЗапКам
zap-kam16@yandex.ru
(900) 323-41-41
Вход / Регистрация отключена
Вход
Избранное
0
по запросу
Каталог
Все товары и категории
Запчасти КАМАЗ
Двигатель
Двигатели в сборе
Евро-0
КамАЗ-4310
Урал-4320
КамАЗ-4350
Евро-1
КамАЗ-43114
Евро-2
КамАЗ-43118
КамАЗ-65115
КамАЗ-6520
Евро-3
Евро-4
Евро-5
Газовые
Блоки цилиндров
Блоки цилиндров Евро-0 КамАЗ
Блоки цилиндров Евро-1 КамАЗ
Блоки цилиндров Евро-2 КамАЗ
Блоки цилиндров Евро-3 КамАЗ
Блоки цилиндров Евро-4,5 КамАЗ Common Rail
Сборочные комплекты (лонг-, шорт-блоки)
Блоки управления
Валы коленчатые
Коленвалы Евро-0 КамАЗ
Коленвалы Евро-1 КамАЗ
Коленвалы Евро-2 КамАЗ
Коленвалы Евро-3 КамАЗ
Коленвалы Евро-4,5 КамАЗ Common Rail
Вкладыши коренные
Евро-3,4,5
Евро-0,1,2
Вкладыши шатунные
Евро-3,4,5
Евро-0,1,2
Валы распредительные
ЦПГ – поршневая
Поршневая Евро-4,-5 (740.602)
Поршневая Евро-2,-3 (740.60)
Поршневая Евро-1,-2 (740.30)
Поршневая Евро-0,1 (740)
Кольца поршневые
ТНВД
Евро-4-5 Common Rail
Евро-3
Евро-2
Евро-1
Евро-0
Система питания
Форсунки топливные
Распылители форсунок
Топливозаборники
ГБЦ
Евро-3,4,5 Common Rail
Евро-1,2,3
Евро-0
Газ
Турбокомпрессоры
ТРК Евро-4,5 (однотурбовые)
Евро-4
Евро-3
Евро-2
Евро-1
Насос водяной
Насос масляный
Маховики
Коробка передач
КПП в сборе
Валы
Валы вторичные
Валы первичные
Валы промежуточные
Шестерни
Синхронизаторы
Делители в сборе
Коробка раздаточная
РК в сборе
РК 6522
Дифференциалы
Валы
Валы первичные
Валы промежуточные
Вилки
Шестерни
Механизмы переключения
Трансмиссия
Мосты
Редукторы в сборе
Заднего моста
Переднего моста
Среднего моста
Зубьев
31, 35
50
49
48
47
46
КамАЗ
4310
43114
43118
4326
5320
53205
65115
43253
53229
6520
6522
4308
65111
65116
65117
55102
55111
53212
53215
54115
5410
5511
Мосты в сборе
Передние
Средние
Задние
6520, 6522 (20т)
65115 (15т)
65111 (15т)
43118 (10т)
43114 / 4310 (8т)
53205 Евро (10т)
5320 (8т)
5511 (10т)
МОД
Мадара
Подвеска в сборе
Ось передняя
Ось в сборе
Ходовая часть
Подвеска (тележка) в сборе
Колеса и шины
Рама
Рессоры
Лебедка
Механизмы управления
Отопление и вентиляция
Система выпуска
Сцепление
Тормоза
Кабина
Управление рулевое
Электрооборудование
Автомобили
КАМАЗ 5490
Двигатель 457
Двигатели в сборе
Сцепление
Кабина
Кузов
Мосты
Рама
Система выпуска
Тормоза
Управление рулевое
Ходовая часть
КАМАЗ К5
Двигатели WeiChai
Двигатели в сборе
Двигатели Р6
Двигатели 910 Р6 в сборе
Кабина
Сцепление
Тормоза
Управление рулевое
Электрооборудование
ZF
КПП ZF в сборе
16S EcoSplit
КПП 16s 1820 TO
КПП 16S 2220
9S Ecomid
12AS Astronic
12TX Traxon
Запчасти 12tx Traxon
Cummins
Двигатели в сборе
Блоки цилиндров
Коленвалы
Головки блока
Генератор
Китайские грузовики
Shaanxi HanDe
Fast Gear
Sitrak
Weichai
FAW
Laizhou Tongji
Европейские грузовики
Mercedes
Электрооборудование
Блоки управления
Блоки управления ADM
Блоки управления CPC4
Блоки управления двигателем
Блоки управления электрооборудованием
Датчики
Стартеры
Карданная передача
Карданы КамАЗ
Коробки отбора мощности
Прицепная техника
ССУ (Седла)
Ремонт
Ремонт двигателей
Ремонт КПП Камаз и ZF
Ремонт раздаток и редукторов
Ремонт кабин
Услуги
Комплектация заявок
Скупка запчастей и агрегатов
Контакты
Отправить заявку
Каталоги запчастей к технике
Грузовые
КамАЗ
4308 (Евро 4)
5320-5001080 Рессора кабины
Поиск
5320-5001080 Рессора кабины
/ КамАЗ 4308 (Евро 4)
zoom-in
zoom-out
enlarge
shrink
circle-right
circle-left
file-text2
info
cart
Тип техники
Не выбрано
Грузовые
Двигатели
Марка
Не выбрано
DAF
DongFeng
FAW
Foton
HOWO
IVECO
JAC Motors
MAN
Shaanxi
SITRAK
Volvo
Автокомпонент Плюс
ЗИЛ
КАЗ
КамАЗ
Мадара
НефАЗ
СЗАП
Тонар
УралАЗ
Модель
Не выбрано
4308 (2004)
4308 (2008)
4308 (Евро 3) (2013)
4308 (Евро 4) (2012)
4308-C4 (2019)
4308-C4 (2019)
4308-H3 (2019)
4308-R4 (2019)
4310
4310
43101
43114
43118 (2002)
43118 (Евро 4) (2012)
43253 (Часть-1) (2011)
43253 (Часть-2) (2011)
43253, 43255 (Евро-4) (2012)
43255 (Евро-2) (2012)
43255 (Евро-3) (2012)
4326 (2001)
4326 (2003г)
43261 (Евро-1, 2) (2007)
4350 (4х4) (2004)
43501 (4х4) (2007)
43502 (Евро 4) (2013)
45141 (2009)
45142 (2009)
45143 (2009)
5308 (Евро 3) (2012)
5308 (Евро 4) (2013)
5315
5320
53212
53228, 65111 (2004)
53229 (Евро 2) (2010)
5350 (6х6) (2004)
53501 (6х6) (2007)
53504 (6х6) (2007)
5360
53605 (Евро-4) (2013)
5410
54112
5460
5460 (2005)
5490 (2016)
55102
5511 (2003)
6350 (8х8) (2004)
63501 (8х8) (2007)
6450 (8х8) (2007)
6460
6460 (Евро 3, 4) (2013)
6460 (Евро 4) (2013)
65111 (2008)
65111 (Евро 4) (2012)
65115 (2001)
65115 (2009)
65115 (Евро-3) (2013)
65115, 65116 (Евро-4) (2010)
65116 (2006)
6520
6520 (Euro-2, 3) (2009)
6520 (Euro-4) (2012)
6520 (Euro-4) (2016)
65201 (2007)
65201 Евро 2-3 (2016)
6522 (2005)
6522 (Euro-2, 3) (2009)
6522 (Евро-4) (2016)
65226 (2009)
65226 (2013)
6540
KNORR-BREMSE для КамАЗ
Общий (5320, 53212, 5410, 54112, 5511, 55102)
Самосв. установка 6520 (2011)
Схема
>
Не выбрано
43255-1000253 Агрегат силовой, укомплектованный для установки на автомобиль
4308-1000255-42 Агрегат силовой, укомплектованный для установки на автомобиль
5308-1001000-20 Установка кронштейнов силового агрегата
43255-1001000-50 Установка кронштейнов силового агрегата
4308-1001005-90 Установка силового агрегата
5308-1001005-10 Установка силового агрегата
4308-1009001 Установка деталей крепления указателя уровня масла
4308-1080010-10 Капотирование нижнего моторного отсека
5308-1080010-10 Капотирование нижнее моторного отсека
5308-1100050 Установка топливного бака
53215-1101010-05 Бак топливный
53215-1103001 Установка крышки топливного бака
5308-1105068 Установка фильтра грубой очистки топлива и топливопроводов
4308-1109001-60 Установка воздушного фильтра
4308-1109003-10 Установка воздухозаборника
4308-1109400-10 Воздухозаборник с уплотнителем
4308-1109405-10 Воздухозаборник
5308-1109001-20 Установка воздушного фильтра
4308-1109003-10 Установка воздухозаборника
4308-1109400-10 Воздухозаборник с уплотнителем
4308-1200008 Установка системы выпуска
4308-1200009 Установка системы выпуска
4308-1208002 Установка бака нейтрализующей жидкости
65115-1208055-10 Бак нейтрализующей жидкости
65115-1208055 Бак нейтрализующей жидкости в сборе с кронштейном
65115-1208500-10 Установка насоса дозирующего
5308-1208500 Установка насоса дозирующего
65115-1208650 Клапан в сборе
65115-1208650-10 Клапан в сборе
4308-1300023-60 Установка блока охлаждения
5308-1300023-60 Установка блока охлаждения
5308-1301005-65 Блок охлаждения
4308-1301005-60 Блок охлаждения
4308-1308005-50 Установка вентилятора с вязкостной муфтой
65115-1308005-09 Установка вентилятора с вязкостной муфтой
5308-1311005-20 Установка бачка расширительного
4308-1311005-60 Установка бачка расширительного
5320-1311060 Пробка расширительного бачка
4308-1580004-20 Установка шумоизоляционного экрана нижнего КПП
5308-1580004-10 Установка нижнего шумоизоляционного экрана КПП
4308-1600006-60 Установка педали и привода выключения сцепления
4308-1600006-70 Установка педали и привода выключения сцепления
4308-1602008-30 Педаль сцепления с кронштейном и главным цилиндром
4308-1602010-30 Педаль сцепления
5320-1602510-10 Главный цилиндр управления сцеплением
5320-1602560 Бачок главного цилиндра привода сцепления
5320-1602568 Толкатель поршня главного цилиндра
4308-1600010-30 Установка сцепления и коробки передач
4308-1600010-60 Установка сцепления и коробки передач
43255-1609509-30 Установка пневмогидравлического усилителя
43255-1609509-40 Установка пневмогидравлического усилителя
4308-1703005-82 Привод управления механизмом переключения передач
4308-1703005-84 Привод управления механизмом переключения передач
4308-1703204 Опора рычага переключения передач
14.1703248-60 Рукоятка рычага переключения передач
4308-1703325-82 Тяга
4308-1703325-84 Тяга в сборе
65115-1703520-20 Тяга реактивная
6540-1703520-06 Тяга реактивная
4308-2200001-42 Установка карданных валов
4308-2200001-83 Установка карданных валов
4308-2201006-83 Вал карданный трехшарнирный
4308-2201011-54 Вал карданный заднего моста
53205-2201050 Вилка скользящая с шарниром
4308-2201017-54 Вал карданный с шарниром
4308-2202011-83 Вал карданный промежуточный с опорой
4308-2202017-83 Вал карданный с шарниром
43081-2400055-30 Мост задний
43081-2400065-30 Мост задний
43081-2401009 Картер заднего моста
43081-2401114 Сапун
43081-2402014-10 Передача главная заднего моста
43081-2402009-10 Передача главная заднего моста
43081-2402015 Картер редуктора заднего моста
43081-2402021-10 Шестерня ведущая заднего моста
43081-2402031-10 Шестерня ведущая заднего моста
43081-2402048 Стакан подшипников
43081-2402050 Крышка подшипника
43081-2402074 Крышка подшипника
43081-2402076 Крышка подшипника
43081-2403011-10 Дифференциал межколесный
53212-2403054 Сателлит дифференциала заднего моста с втулкой
4308-2800010-51 Рама
4308-2800010-53 Рама
5308-2804003 Установка заднего буфера
5410-2806040 Установка буксирной проушины
5308-2809001-55 Установка переднего противоподкатного защитного устройства
4308-2900001-30 Установка передней подвески
4308-2900002-30 Установка задней подвески
4308-2900002-20 Установка задней подвески
4308-2902012-15 Рессора передняя
65115-2902012-15 Рессора передняя
4308-2913012-10 Рессора дополнительная
4308-3000012 Ось передняя с тормозами
4308-3000012-03 Ось передняя с тормозами
4308-3000015 Ось передняя
4308-3001012 Кулак поворотный
4308-3101702 Установка передних колес
4308-3101703 Установка сдвоенных колес
4308-3101711 Колесо 6,75x19,5 с шиной
4308-3103009 Ступица колеса с диском тормоза, подшипником и манжетой
4308-3103010 Ступица колеса с диском тормоза
4308-3104009-42 Ступица заднего колеса с диском тормоза, подшипником и манжетами
4308-3104010-42 Ступица заднего колеса с диском тормоза
5308-3105010 Установка держателя запасного колеса
4308-3400002-19 Установка рулевого колеса
5308-3400012-10 Установка рулевого механизма
4308-3400018-55 Установка трубопроводов
5308-3400018-10 Установка трубопроводов
43255-3400019-30 Установка бачка и насоса ГУР
5308-3400019-10 Установка бачка и насоса ГУР
5308-3414010-10 Тяга сошки с наконечниками
5297-3414052 Тяга рулевой трапеции
6520-3414055 Наконечник тяги
5308-3400014-10 Установка колонки рулевого управления
6520-3406014-19 Установка крана регулировки рулевой колонки
5308-3422010-10 Вал карданный
53205-3422012 Шарнир карданный
5308-3422014-10 Шарнир с втулкой
6520-3444075-19 Колонка рулевого управления с кронштейном
6520-3444008-19 Колонка рулевого управления
6520-3444010-19 Колонка рулевого управления
4308-3500006-34 Установка пневмопривода тормозов
4308-3500006-65 Установка пневмопривода тормозов
6520-3500080-80 Установка пневмопривода в кабине
5460-3500080-05 Установка пневмопривода в кабине
6520-3500014-34 Установка двухсекционного тормозного крана
5320-3514108 Кран тормозной двухсекционный с педалью
100-3514108-10 Кран тормозной двухсекционный
16-3515310 Клапан контрольного вывода
4308-3501011-01 Тормоз передний левый
4308-3502011 Тормоз задний левый
5308-3502011 Тормоз задний левый
5308-3506001-04 Установка пневмопривода тормозов передней оси
5308-3542005-04 Блок передних модуляторов АБС
4308-3506002-44 Пневмопривод заднего моста
4308-3513005 Ресивер малый в сборе с фитингами
5308-3513005 Ресивер малый в сборе с фитингами
4308-3513008-34 Ресивер в сборе
4308-3513009-34 Ресивер в сборе
5308-3506170-04 Установка охладителя
4308-3518010 Блок управления тормозами задней тележки
5350-3518001-01 Ускорительный клапан с глушителем
2233-3518010-20 Ускорительный клапан с глушителем
2233-3522010-10 Клапан управления тормозами прицепа с двухпроводным приводом и глушителем
4308-3506002-34 Пневмопривод заднего моста
4308-3506170-34 Подсоединение охладителя
5308-3509000 Установка подвода воздуха к компрессору тормозов
5308-3509000-01 Установка подвода воздуха к компрессору тормозов
5308-3511001-04 Блок подготовки воздуха
5308-3500011-06 Установка осушителя
5308-3511013 Ресивер в сборе с фитингами
5308-3531010-04 Установка клапана накачки шин
4308-3518010-04 Блок управления тормозами задней тележки
53205-3541109-01 Датчик скорости с втулкой
43255-3542007-80 Блок управления тормозами второго контура
5308-3570009 Клапан электромагнитный в сборе
5308-3570010 Корпус вспомогательного тормоза с пневмоцилиндром
5308-3570014 Корпус вспомогательного тормоза с заслонкой
53205-3570205 Пневмоцилиндр вспомогательного тормоза
53205-3570210 Цилиндр пневматический ф35х65
4308-3700001-95 Электрооборудование. Расположение на автомобиле
4308-3700001-90 Электрооборудование. Расположение на автомобиле
4308-3700001-95 Светотехника
5308-3700060-21 Электрооборудование. Расположение на панели приборов
5308-3700060-20 Электрооборудование. Расположение на панели приборов
4308-3700086-90 Электрооборудование. Расположение на платформе
4308-3700086-91 Электрооборудование. Расположение на платформе
5308-3703001-20 Установка аккумуляторных батарей
5320-3721001-10 Установка звуковых электрических сигналов
65115-3722002 Установка блока предохранителей
5308-3722003 Установка силовых предохранителей
43114-3723003-70 Установка розеток прицепа
53205-3723005 Установка розетки переносной лампы
5320-3737001-01 Установка малогабаритного выключателя массы
65115-3741018 Установка электрооборудования обогрева зеркал на кабине
65115-3741300-01 Установка контактора подогревателя воздуха
53215-3759001 Установка преобразователя напряжения
5308-3741001-20 Установка электрооборудования подогревателя
65115-3741016-70 Установка электрооборудования системы подогрева топлива на панели приборов
5308-3802001 Пломбировка спидометра
4308-3830002 Установка датчиков аварийного давления воздуха
4308-3830005 Установка датчиков указателя давления воздуха
65115-3840001 Установка тахографа
6520-3840002-50 Пломбировка датчика скорости
6520-4000010-24 Система управления двигателем. Расположение на автомобиле
4308-4000012-50 АБС. Расположение на автомобиле
4308-4012004 Установка выключателя диагностики АБС
4308-4011034 Установка переключателей на панели выключателей
65115-4000016-24 Система нейтрализации. Расположение на автомобиле
4308-4000012-50 АБС.Расположение на автомобиле
4308-4000013-11 Система управления пневматической подвеской. Расположение на автомобиле
4308-5000003 Переднее крепление и механизм уравновешивания кабины
Кабина со спальным местом с дверями окрашенная
54105-5000014 Кабина с дверями окрашенная
54105-5000014 Кабина с дверями окрашенная
65222-5000100 Установка термошумоизоляции и обивки кабины
65222-5000100 Установка термошумоизоляции и обивки кабины
5460-5000121 Установка сиденья водителя
5460-5000122 Установка сиденья пассажира
5460-5000123-01 Установка среднего сиденья
5308-5000007 Установка подвески кабины и ограничителя подъема кабины
4308-5001006-20 Установка задней подвески кабины
4308-5001008-20 Задняя подвеска правая
4308-5001009-20 Задняя подвеска кабины левая
5308-5002051-10 Установка ограничителя подъма кабины
5308-5001006-20 Установка задней подвески кабины
5308-5001008-20 Задняя подвеска правая
5320-5001080 Рессора кабины
5308-5001005 Установка элементов задней подвески кабины
53205-5001003 Установка элементов передней подвески кабины
4308-5001005 Установка элементов задней подвески кабины
4308-5018010 Запор кабины правый
53205-5101250 Установка облицовок порогов
53205-5114250 Установка усилителя противоударного
4308-5109001 Установка ковров и термошумоизоляции пола
6520-5205001 Установка стеклоочистителя
65115-5206005 Установка ветровых стекол
65115-5208004 Установка омывателя
6560-5300023-10 Установка панели приборов
6522-5325160 Установка поручней панели приборов
53205-5310001 Установка ручки передка
54105-5413010 Установка дверок боковин
65115-5603005 Установка стекол окна задка
4308-5614200-81 Установка шумоизоляционного экрана над двигателем
5308-5614200-20 Установка шумоизоляционного экрана над двигателем
53205-5713008 Установка вентиляционного люка крыши
65115-6100005 Установка стекол и арматуры двери
53205-6100014 Дверь правая
53205-6100015 Дверь левая
65115-6103005 Установка форточек двери
5320-6103051-01 Стекло форточки двери
65115-6104005 Установка стеклоподъемников двери
65115-6104011 Стеклоподъемник двери
65115-6104030 Механизм стеклоподъемника двери
5320-6104060 Ручка стеклоподъемника
5320-6105011 Установка замков и ручек двери левая
65115-6105011 Установка замков и ручек двери левая
5320-6105021-10 Замок двери левый
5320-6105035-10 Фиксатор замка левый
5320-6105080 Привод замка двери правый в сборе
5320-6105150 Ручка двери наружная
65115-6108005 Установка косынок передка и ограничителя открывания двери
65115-6110005 Установка опускных стекол
65115-6114005 Установка подлокотников двери
6460-6800900-02 Схема подключения пневмосистемы сидений
54115-6800900-02 Схема подключения пневмосистемы сидений
4308-7900020 Радиооборудование. Расположение на кабине Radio
5308-8100005 Установка ситемы отопления
4308-8101060 Радиатор отопителя
5308-8106004 Установка подогревателя 14TC с автономным топливным бачком
5308-8106005 Установка подогревателя и электронасоса
5308-8106320 Топливный бачок с кронштейном
5320-8118027 Улитка вентилятора с распределителем левая
5320-8118069 Колесо рабочее с электродвигателем
5460-8201002 Установка зеркал заднего вида
6522-8202005 Установка поручней входа
53205-8212300 Установка окантовок и уплотнителей
65115-8213005 Установка надоконных полок
65115-8212180 Установка маркировки светоотражающей на кабине
4308-8212008-01 Установка бокового знака
43255-8400006-06 Установка оперения кабины
63501-8401009 Установка облицовочной панели
4308-8403010-50 Установка задней части переднего крыла правая
4308-8403011-50 Установка задней части переднего крыла левая
4308-8404003-40 Установка задних крыльев
4308-8410003-74 Установка.боковой защиты
4308-8410003-85 Установка боковой защиты
5308-8416012 Установка облицовки буфера
53215-8500005-70 Установка световозвращающей маркировки на платформе
4308-8500008-11 Установка платформы
4308-8500008 Установка платформы
4308-8500010-10 Платформа
4308-8500010 Платформа
4308-8501010-10 Основание платформы
4308-8501010 Основание платформы
53215-8502010-73 Борт боковой
53215-8502041-73 Стойка передняя левая
53215-8502060-73 Стойка средняя
53215-8502071-73 Стойка задняя левая
53215-8505029-73 Запор бортов левый
4308-8508008-90 Каркас тента
4308-8508008-80 Каркас тента
4308-8521008-10 Установка кронштейнов на раму
4308-2707001 Установка тягово-сцепного устройства
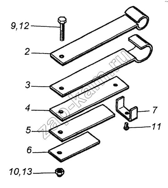
2
3
4
5
6
7
9
10
11
12
13
Поз.
Артикул
Название детали
Кол-во
2
5320-5001085
Лист №1
1;
3
5320-5001087
Лист №2
1;
4
5320-5001089
Лист №3
1;
5
5320-5001087
Лист №2
1;
6
5320-5001093
Лист №5
1;
7
5320-5001095
Хомут листа
1;
9
1/13069/21
Болт М10х1,25-6gх30
1;
10
1/21647/11
Гайка М10х1,25-6Н
1;
11
1/05351/00
Заклепка 6х12
1;
12
БолтМ10x1,25-6gx30.109.016
Болт М10x1,25-6gx30.109.016
1;
13
ГайкаМ10х1,25-6Н.4.016
Гайка М10х1,25-6Н.4.016
1;
Содержащиеся в справочниках-каталогах запасные части и детали не предлагаются к продаже, а носят исключительно информационный характер
Дополнительная информация
×
Название:
Номер:
Примечание:
Войти
Имя пользователя
Пароль
Забыли пароль?
Запомнить меня
Войти
Поиск товаров
Поиск товаров
Корзина покупок