ЗапКам
zap-kam16@yandex.ru
(900) 323-41-41
Вход / Регистрация отключена
Вход
Избранное
0
по запросу
Каталог
Все товары и категории
Запчасти КАМАЗ
Двигатель
Двигатели в сборе
Евро-0
КамАЗ-4310
Урал-4320
КамАЗ-4350
Евро-1
КамАЗ-43114
Евро-2
КамАЗ-43118
КамАЗ-65115
КамАЗ-6520
Евро-3
Евро-4
Евро-5
Газовые
Блоки цилиндров
Блоки цилиндров Евро-0 КамАЗ
Блоки цилиндров Евро-1 КамАЗ
Блоки цилиндров Евро-2 КамАЗ
Блоки цилиндров Евро-3 КамАЗ
Блоки цилиндров Евро-4,5 КамАЗ Common Rail
Сборочные комплекты (лонг-, шорт-блоки)
Блоки управления
Валы коленчатые
Коленвалы Евро-0 КамАЗ
Коленвалы Евро-1 КамАЗ
Коленвалы Евро-2 КамАЗ
Коленвалы Евро-3 КамАЗ
Коленвалы Евро-4,5 КамАЗ Common Rail
Вкладыши коренные
Евро-3,4,5
Евро-0,1,2
Вкладыши шатунные
Евро-3,4,5
Евро-0,1,2
Валы распредительные
ЦПГ – поршневая
Поршневая Евро-4,-5 (740.602)
Поршневая Евро-2,-3 (740.60)
Поршневая Евро-1,-2 (740.30)
Поршневая Евро-0,1 (740)
Кольца поршневые
ТНВД
Евро-4-5 Common Rail
Евро-3
Евро-2
Евро-1
Евро-0
Система питания
Форсунки топливные
Распылители форсунок
Топливозаборники
ГБЦ
Евро-3,4,5 Common Rail
Евро-1,2,3
Евро-0
Газ
Турбокомпрессоры
ТРК Евро-4,5 (однотурбовые)
Евро-4
Евро-3
Евро-2
Евро-1
Насос водяной
Насос масляный
Маховики
Коробка передач
КПП в сборе
Валы
Валы вторичные
Валы первичные
Валы промежуточные
Шестерни
Синхронизаторы
Делители в сборе
Коробка раздаточная
РК в сборе
РК 6522
Дифференциалы
Валы
Валы первичные
Валы промежуточные
Вилки
Шестерни
Механизмы переключения
Трансмиссия
Мосты
Редукторы в сборе
Заднего моста
Переднего моста
Среднего моста
Зубьев
31, 35
50
49
48
47
46
КамАЗ
4310
43114
43118
4326
5320
53205
65115
43253
53229
6520
6522
4308
65111
65116
65117
55102
55111
53212
53215
54115
5410
5511
Мосты в сборе
Передние
Средние
Задние
6520, 6522 (20т)
65115 (15т)
65111 (15т)
43118 (10т)
43114 / 4310 (8т)
53205 Евро (10т)
5320 (8т)
5511 (10т)
МОД
Мадара
Подвеска в сборе
Ось передняя
Ось в сборе
Ходовая часть
Подвеска (тележка) в сборе
Колеса и шины
Рама
Рессоры
Лебедка
Механизмы управления
Отопление и вентиляция
Система выпуска
Сцепление
Тормоза
Кабина
Управление рулевое
Электрооборудование
Автомобили
КАМАЗ 5490
Двигатель 457
Двигатели в сборе
Сцепление
Кабина
Кузов
Мосты
Рама
Система выпуска
Тормоза
Управление рулевое
Ходовая часть
КАМАЗ К5
Двигатели WeiChai
Двигатели в сборе
Двигатели Р6
Двигатели 910 Р6 в сборе
Кабина
Сцепление
Тормоза
Управление рулевое
Электрооборудование
ZF
КПП ZF в сборе
16S EcoSplit
КПП 16s 1820 TO
КПП 16S 2220
9S Ecomid
12AS Astronic
12TX Traxon
Запчасти 12tx Traxon
Cummins
Двигатели в сборе
Блоки цилиндров
Коленвалы
Головки блока
Генератор
Китайские грузовики
Shaanxi HanDe
Fast Gear
Sitrak
Weichai
FAW
Laizhou Tongji
Европейские грузовики
Mercedes
Электрооборудование
Блоки управления
Блоки управления ADM
Блоки управления CPC4
Блоки управления двигателем
Блоки управления электрооборудованием
Датчики
Стартеры
Карданная передача
Карданы КамАЗ
Коробки отбора мощности
Прицепная техника
ССУ (Седла)
Ремонт
Ремонт двигателей
Ремонт КПП Камаз и ZF
Ремонт раздаток и редукторов
Ремонт кабин
Услуги
Комплектация заявок
Скупка запчастей и агрегатов
Контакты
Отправить заявку
Каталоги запчастей к технике
Грузовые
КамАЗ
4308-C4
43255-8400006-06 Установка оперения кабины
Поиск
43255-8400006-06 Установка оперения кабины
/ КамАЗ 4308-C4
zoom-in
zoom-out
enlarge
shrink
circle-right
circle-left
file-text2
info
cart
Тип техники
Не выбрано
Грузовые
Двигатели
Марка
Не выбрано
DAF
DongFeng
FAW
Foton
HOWO
IVECO
JAC Motors
MAN
Shaanxi
SITRAK
Volvo
Автокомпонент Плюс
ЗИЛ
КАЗ
КамАЗ
Мадара
НефАЗ
СЗАП
Тонар
УралАЗ
Модель
Не выбрано
4308 (2004)
4308 (2008)
4308 (Евро 3) (2013)
4308 (Евро 4) (2012)
4308-C4 (2019)
4308-C4 (2019)
4308-H3 (2019)
4308-R4 (2019)
4310
4310
43101
43114
43118 (2002)
43118 (Евро 4) (2012)
43253 (Часть-1) (2011)
43253 (Часть-2) (2011)
43253, 43255 (Евро-4) (2012)
43255 (Евро-2) (2012)
43255 (Евро-3) (2012)
4326 (2001)
4326 (2003г)
43261 (Евро-1, 2) (2007)
4350 (4х4) (2004)
43501 (4х4) (2007)
43502 (Евро 4) (2013)
45141 (2009)
45142 (2009)
45143 (2009)
5308 (Евро 3) (2012)
5308 (Евро 4) (2013)
5315
5320
53212
53228, 65111 (2004)
53229 (Евро 2) (2010)
5350 (6х6) (2004)
53501 (6х6) (2007)
53504 (6х6) (2007)
5360
53605 (Евро-4) (2013)
5410
54112
5460
5460 (2005)
5490 (2016)
55102
5511 (2003)
6350 (8х8) (2004)
63501 (8х8) (2007)
6450 (8х8) (2007)
6460
6460 (Евро 3, 4) (2013)
6460 (Евро 4) (2013)
65111 (2008)
65111 (Евро 4) (2012)
65115 (2001)
65115 (2009)
65115 (Евро-3) (2013)
65115, 65116 (Евро-4) (2010)
65116 (2006)
6520
6520 (Euro-2, 3) (2009)
6520 (Euro-4) (2012)
6520 (Euro-4) (2016)
65201 (2007)
65201 Евро 2-3 (2016)
6522 (2005)
6522 (Euro-2, 3) (2009)
6522 (Евро-4) (2016)
65226 (2009)
65226 (2013)
6540
KNORR-BREMSE для КамАЗ
Общий (5320, 53212, 5410, 54112, 5511, 55102)
Самосв. установка 6520 (2011)
Схема
>
Не выбрано
4308-1001005-90 Установка силового агрегата
4308-1009001-30 Установка деталей крепления указателя уровня масла
4308-1080010-10 Капотирование нижнее моторного отсека
4308-1080090-10 Установка кронштейнов шумоизоляционного экрана под двигателем
43255-1001000-50 Установка кронштейнов силового агрегата
5308-1015007-10 Установка тройников системы подогрева двигателя
4308-1104000-30 Установка топливных трубопроводов
4308-1105068-10 Установка фильтра грубой очистки топлива
4308-1109001-65 Установка воздушного фильтра
4308-1109003-20 Установка воздухозаборника
4308-1109400-20 Воздухозаборник с уплотнителем
5308-1100050-10 Установка топливного бака
53215-1103001-20 Установка крышки топливного бака
4308-1200008-10 Установка системы выпуска
4308-1208002-10 Установка бака нейтрализующей жидкости
4308-1208020 Установка датчиков и форсунки
4308-1208030 Установка кронштейнов
4308-1208050 Установка системы нейтрализации
4308-1208070 Установка трубопроводов системы нейтрализации
65115-1208055-20 Бак нейтрализующей жидкости
65115-1208055-20 Бак нейтрализующей жидкости
65115-1208057 Бак нейтрализующей жидкости в сборе с дозирующим насосом
65115-1208650-40 Клапан
3297-1308005-10 Установка вентилятора с вязкостной муфтой
4308-1300023-60 Установка блока охлаждения
4308-1311005-60 Установка бачка расширительного
4308-1580004-20 Установка шумоизоляционного экрана нижнего коробки передач
4308-1600006-71 Установка педали и привода выключения сцепления
4308-1600010-31 Установка коробки передач и сцепления
4308-1602008-30 Педаль сцепления с кронштейном и главным цилиндром
43255-1609509-30 Установка пневмогидравлического усилителя
5320-1602510-10 Главный цилиндр управления сцеплением
5320-1602560 Бачок главного цилиндра привода сцепления
4308-1703005-84 Привод управления механизмом переключения передач
4308-1703204 Опора рычага переключения передач
4308-1703325-84 Тяга
65115-1703520-20 Тяга реактивная
5460-1809001-08 Установка пневмоаппаратов на щитке приборов нижнем
4308-2200001-56 Установка карданных валов
43081-2400055-30 Мост задний
43081-2400056-30 Мост задний
43081-2400057-30 Мост задний
43081-2402014-30 Передача главная заднего моста
43081-2402015 Картер редуктора заднего моста
43081-2402031-30 Шестерня ведущая заднего моста
43081-2402048 Стакан подшипников
43081-2403011-30 Дифференциал межколёсный
43114-2411006 Кран пневматический с фитингами
4308-2800010-55 Рама
5308-2804003 Установка заднего буфера
5308-2809001-55 Установка переднего противоподкатного защитного устройства
4308-2900001-30 Установка передней подвески
4308-2900002-30 Установка задней подвески
4308-2902012-15 Рессора передняя
4308-2913012-10 Рессора дополнительная
65115-2902012-15 Рессора передняя
4308-3000012 Ось передняя с тормозами
4308-3000012-03 Ось передняя с тормозами
4308-3000012-04 Ось передняя с тормозами
4308-3000015 Ось передняя
4308-3101702 Установка передних колес
4308-3101702-02 Установка передних колес
4308-3101702-06 Установка передних колес
4308-3101703 Установка сдвоенных колес
4308-3101703-02 Установка сдвоенных колес
4308-3101703-06 Установка сдвоенных колес
4308-3101711 Колесо 6,75х19,5 с шиной
4308-3101711-02 Колесо 6,75х19,5 с шиной
4308-3101711-06 Колесо 6,75х19,5 с шиной
4308-3103009 Ступица колеса с диском тормоза
4308-3103009-03 Ступица колеса с диском тормоза
4308-3103009-04 Ступица колеса с диском тормоза
4308-3103010 Ступица колеса
4308-3103010-03 Ступица колеса
4308-3103010-04 Ступица колеса
4308-3104009-42 Ступица заднего колеса с диском тормоза
4308-3104009-43 Ступица заднего колеса с диском тормоза
4308-3104010-42 Ступица заднего колеса с диском тормоза
4308-3104010-43 Ступица заднего колеса с диском тормоза
5308-3105010 Установка держателя запасного колеса
4308-3400002-19 Установка рулевого колеса
4308-3400018-55 Установка трубопроводов
43255-3400019-30 Установка бачка и насоса ГУР
5308-3400012-10 Установка рулевого механизма
5308-3400014-10 Установка колонки рулевого управления
5308-3414010-10 Тяга сошки с наконечниками
5308-3422010-10 Вал карданный
5308-3422012 Шарнир карданный
5308-3422014-10 Шарнир с втулкой
6520-3406014-19 Установка крана регулировки
6520-3444008-19 Колонка рулевого управления
6520-3444010-19 Колонка рулевого управления
6520-3444075-19 Колонка рулевого управления с кронштейном
3297-3514208 Кран тормозной двухсекционный с педалью
4308-3501010 Тормоз передний
4308-3501010-01 Тормоз передний правый
4308-3501011-01 Тормоз передний левый
4308-3502010 Тормоз задний правый
4308-3502010-01 Тормоз задний правый
4308-3502011 Тормоз задний левый
4308-3502011-01 Тормоз задний левый
4308-3506180 Установка охладителя
4308-3506180-04 Установка охладителя
4308-3506180-04 Установка охладителя
4308-3513002-04 Ресивер с фитингами
4308-3513003-04 Ресивер с фитингами
4308-3515005-04 Четырехконтурный защитный клапан в сборе с фитингами
4308-3518010-04 Блок упр. торм. задней тележки
4308-3542007-80 Блок управления тормозами
5308-3500011-06 Осушитель в сборе с фитингами
5308-3501010-10 Тормоз передний правый
5308-3501011-10 Тормоз передний левый
5308-3509000 Установка подвода воздуха
5308-3511013 Ресивер в сборе с фитингами
5308-3513005 Ресивер малый в сборе с фитингами
5308-3531010-04 Блок клапана накачки шин
5308-3542005-02 Блок передних модуляторов АБС
5308-3570009-04 Клапан электромагнитный в сборе с фитингами
5308-3570010 Корпус вспомогательного тормоза с пневмоцилиндром
53205-3541109-01 Датчик скорости со втулкой
53205-3541109-02 Датчик скорости со втулкой
53205-3541109-03 Датчик скорости со втулкой
53205-3570205 Пневмоцилиндр вспомогат.тормоза
53215-3570210 Пневмоцилиндр пневматический ф35х65
5490-3534030-02 Кран регулировки рулевой колонки в сборе с соединительной арматурой
5490-3537112 Кран тормозной обратного действия с ручным управлением в сборе с фитингами
5308-3703001-20 Установка аккумуляторных батарей
5308-3710004 Установка выключателя аккумуляторной батареи
5308-3722001 Установка предохранителей
5308-3724002-20 Установка проводов на панели приборов
5308-3741013-20 Установка электрооборудования подогревателя на шасси
5308-3741019 Установка электрооборудования подогревателя на панели приборов
5308-3747005 Установка реле и блока управления электрооборудованием
5320-3715001 Установка подкапотной лампы
5320-3721001-10 Установка звуковых электрических сигналов
5320-3737001-01 Установка малогабаритного выключателя массы
53205-3711040 Установка таблички регулировки пучка света фар
53205-3714001-10 Установка плафонов
53205-3714003 Установка плафона освещения вещевого ящика
53205-3723005 Установка розетки переносной лампы
53215-3716002-80 Установка задних фонарей
5425-3738002 Установка габаритных фонарей
5480-3726001-10 Установка бокового повторителя указателя поворота
6460-3731001-30 Установка боковых габаритных фонарей на переднем крыле
65115-3710001-59 Установка выключателей
65115-3722002 Установка блока предохранителей
65115-3741016-70 Установка электрооборудования системы подогрева топлива на панели приборов
65115-3741017 Установка электрооборудования обогрева зеркал на панели приборов
65115-3741018 Установка электрооборудования обогрева зеркал на кабине
65115-3741300-01 Установка контактора подогревателя воздуха
65117-3743001 Установка противотуманных фар
6520-3711001-10 Установка блок-фар.
6520-3718001 Установка блока управления корректором фар
6522-3700084 Установка электрооборудования стеклоподъемников
65228-3710002 Установка выключателя коробки отбора мощности
4308-3830002 Установка датчиков аварийного давления воздуха
4308-3830005 Установка датчиков указателей давления воздуха
5308-3802001 Пломбировка спидометра
5308-3805001 Установка щитка приборов
5308-3805010 Щиток приборов
65115-3840001 Установка тахографа
65115-3840010-01 Установка тахографа
65115-3840010-02 Установка тахографа
6520-3840002-50 Пломбировка датчика скорости
4308-4011038 Установка датчика педали сцепления
4308-4012004-10 Установка выключателя диагностики
4308-4070007 Установка жгута ЭМК вспомогательного тормоза
4308-4070300-25 Установка жгута системы управления двигателем
43253-4011220 Установка кожуха блоков АБС
43253-4011220-01 Установка кожуха в сборе с блоком АБС
43253-4011220-10 Кожух в сборе с блоком АБС
43253-4011220-20 Кожух в сборе с блоком АБС
43253-4015220-10 Установка блоков АБС
43253-4015220-20 Установка блоков АБС
43253-4070120-10 Установка жгута АБС в панели приборов
43253-4070220-10 Установка жгутов АБС на кабине
43253-4070221-10 Установка жгута АБС в кожухе
43253-4070221-20 Установка жгута АБС в кожухе
43253-4070320-12 Установка жгута датчиков и модуляторов на шасси
65115-4012001 Установка предохранителей
65115-4070100-25 Установка жгута проводов системы управления двигателем (панельного)
6520-4011033-14 Установка переключателей на панели приборной
6520-4011040-10 Установка выключателя моторного тормоза
6520-4011101 Установка кронштейна разъёмов CAN
6520-4011102 Установка кронштейна диагностики
6520-4012002-13 Установка реле
6520-4019001 Установка датчика температуры
6520-4020001 Установка педали управления подачей топлива
6520-4070101-24 Установка жгута шины данных в панели приборов
6520-4070103-24 Установка жгута шины данных щитка приборов
6520-4070104-24 Установка переходника диагностики
6520-4070200-24 Установка крепления жгутов системы управления двигателем на кабине
4308-4202005-30 Установка коробки отбора мощности
4308-4202005-40 Установка коробки отбора мощности без насоса
4308-4202006-20 Установка управления коробки отбора мощности
4308-5000003 Переднее крепление и механизм уравновешивания кабины
4308-5001005 Установка элементов задней подвески кабины
4308-5001006-20 Установка задней подвески кабины
4308-5001008-20 Задняя подвеска кабины правая
4308-5001009-20 Задняя подвеска кабины левая
4310-5002074 Шпилька стопорная
5308-5002051-10 Установка ограничителя подъема кабины
5320-5001080 Рессора кабины
53205-5000014 Кабина с дверями окрашенная
53205-5001003 Установка элементов передней подвески кабины
53205-5002052 Установка скобы верхней.
5460-5000121-01 Установка сиденья водителя
5460-5000121-02 Установка сиденья водителя
5460-5000121-05 Установка сиденья водителя
5460-5000122-01 Установка сиденья пассажира
5460-5000122-02 Установка сиденья пассажира
5460-5000123-01 Установка среднего сиденья
53205-5101250 Установка облицовок порогов
53205-5114250 Установка усилителя противоударного
65115-5206005 Установка ветровых стекол
65115-5208004 Установка омывателя
6520-5205001 Установка стеклоочистителя
4308-5325005 Установка панели приборов
53205-5310001 Установка ручки передка
6560-5325300 Щиток нижний с приборами
54105-5413010 Установка дверок боковин
4308-5614200-81 Уст-ка шумоиз. экрана над дв-лем
65115-5603005 Установка стекол задка
53205-5713008 Установка вентиляционного люка крыши
5320-6105010 Установка замков и ручек двери правая
5320-6105011 Установка замков и ручек двери левая
5320-6105034-10 Фиксатор замка правый
5320-6105035-10 Фиксатор замка левый
5320-6105080 Привод замка двери правый
5320-6105081 Привод замка двери левый
53205-6100133-01 Установка дверей
65115-6100005 Установка стекол и арматуры двер
65115-6103005 Установка форточек двери
65115-6104005 Установка стеклоподъемников двери
65115-6104010 Стеклоподъемник двери правый
65115-6104011 Стеклоподъемник двери левый
65115-6104030 Механизм стеклоподъемника двери
65115-6108005 Установка косынок передка и ограничителя открывания двери
65115-6110005 Установка опускных стекол
65115-6114005 Установка подлокотников двери
65115-6114005 Установка подлокотников двери
54115-6800900-02 Схема подключения пневмосистемы сидений
6460-6800900-02 Схема подключения пневмосистемы сидений
4308-7900010 Радиооборудование. Расположение на панели приборов
4308-7900020 Радиооборудование. Расположение на кабине
5308-8100005 Установка системы отопления
5308-8100007-10 Установка шлангов системы отопления
5308-8106004-10 Установка подогревателя 14ТС с автономным топливным бачком
5308-8106005 Установка подогревателя и электронасоса
5308-8106320 Топливный бачок с кронштейном
5320-8105010 Кран сливной
53205-8118100 Установка вентиляции
53205-8118200 Установка фильтра и радиатора
65115-8100006 Установка системы отопления в кабине
4308-8212008-01 Установка заводских боковых знаков
5460-8201410 Зеркало переднего обзора с держателем
5460-8201510 Зеркало бокового обзора с кронштейном
65115-8212180 Установка маркировки светоотражающей на кабине
65115-8212491 Установка логотипа
65115-8212491-04 Установка логотипа и знака заводского
65115-8212491-07 Установка логотипа и знака заводского
65115-8213005 Установка надоконной полки
65115-8217005-01 Установка ремня безопасности водителя
65115-8217006-01 Установка ремня безопасности пассажира
65115-8217007-01 Установка ремня безопасности среднего пассажира
6522-8202005 Установка поручней входа
4308-8403010-50 Установка задней части переднего крыла правая
4308-8403010-51 Установка задней части переднего крыла правая
4308-8403011-50 Установка задней части переднего крыла левая
4308-8404003-40 Установка задних крыльев
43255-8400006-06 Установка оперения кабины
5308-8416012 Установка облицовки буфера
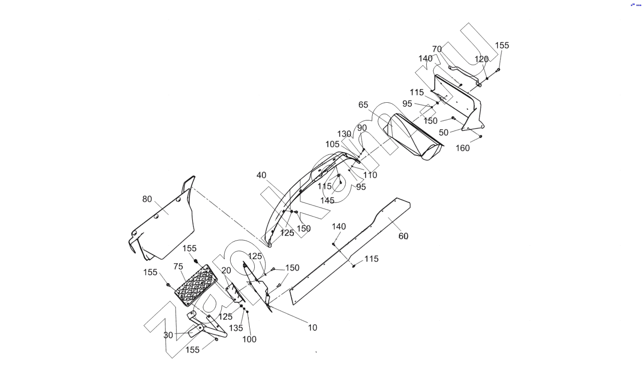
10
20
30
40
50
60
65
70
75
80
90
95
95
100
105
110
115
115
115
120
125
125
125
130
135
140
140
145
150
150
150
155
155
155
155
160
Поз.
Артикул
Название детали
Кол-во
10
5320-8403274
Щиток грязевой правый в сборе
1;
15
5320-8403275
Щиток грязевой левый в сборе
1;
20
5308-8403024-50
Пластина подножки правая
1;
25
5308-8403025-50
Пластина подножки левая
1;
30
5308-8403150-50
Кронштейн подножки правый
1;
35
5308-8403151-50
Кронштейн подножки левый
1;
40
5308-8403014-50
Панель передней части переднего крыла правая
1;
45
5308-8403015-50
Панель передней части переднего крыла левая
1;
50
5308-8403154-50
Щиток задний правый
1;
55
5308-8403155-50
Щиток задний левый
1;
60
5320-8403291
Фартук брызговика нижний
2;
65
43105-8403124
Щиток грязевой верхний
2;
70
4308-8403165-10
Ручка
1;
75
63501-8405015
Накладка подножки верхняя
2;
80
5308-8403110-50
Щиток подножки правый
1;
85
5308-8403111-50
Щиток подножки правый
1;
90
1/32764/01
Винт М6-6gх20
4;
95
1/58962/11
Гайка ЕМ6-6Н
10;
100
1/61008/11
Гайка М8х1,25-6Н
8;
105
1/05194/01
Шайба плоская 6х12х1,5
4;
110
1/26444/01
Шайба плоская 6х15х1
4;
115
870621
Шайба плоская 6х22х1
24;
120
1/05196/01
Шайба плоская 8х17
10;
125
1/26467/01
Шайба плоская 8х20
20;
130
1/05164/77
Шайба 6 пружинная
4;
135
1/05166/77
Шайба 8 пружинная
8;
140
356-75101
Болт М6-6gх16 (45104991010100)
22;
145
356-75103
Болт М6-6gх25 (45104991010300)
2;
150
356-75082
Болт М8-6gx20
30;
155
356-75083
Болт М8-6gх25 (45104991008300)
16;
160
356-75142
Гайка М8-6Н (45104993014200)
10;
Содержащиеся в справочниках-каталогах запасные части и детали не предлагаются к продаже, а носят исключительно информационный характер
Дополнительная информация
×
Название:
Номер:
Примечание:
Войти
Имя пользователя
Пароль
Забыли пароль?
Запомнить меня
Войти
Поиск товаров
Поиск товаров
Корзина покупок