ЗапКам
zap-kam16@yandex.ru
(900) 323-41-41
Вход / Регистрация отключена
Вход
Избранное
0
по запросу
Каталог
Все товары и категории
Запчасти КАМАЗ
Двигатель
Двигатели в сборе
Евро-0
КамАЗ-4310
Урал-4320
КамАЗ-4350
Евро-1
КамАЗ-43114
Евро-2
КамАЗ-43118
КамАЗ-65115
КамАЗ-6520
Евро-3
Евро-4
Евро-5
Газовые
Блоки цилиндров
Блоки цилиндров Евро-0 КамАЗ
Блоки цилиндров Евро-1 КамАЗ
Блоки цилиндров Евро-2 КамАЗ
Блоки цилиндров Евро-3 КамАЗ
Блоки цилиндров Евро-4,5 КамАЗ Common Rail
Сборочные комплекты (лонг-, шорт-блоки)
Блоки управления
Валы коленчатые
Коленвалы Евро-0 КамАЗ
Коленвалы Евро-1 КамАЗ
Коленвалы Евро-2 КамАЗ
Коленвалы Евро-3 КамАЗ
Коленвалы Евро-4,5 КамАЗ Common Rail
Вкладыши коренные
Евро-3,4,5
Евро-0,1,2
Вкладыши шатунные
Евро-3,4,5
Евро-0,1,2
Валы распредительные
ЦПГ – поршневая
Поршневая Евро-4,-5 (740.602)
Поршневая Евро-2,-3 (740.60)
Поршневая Евро-1,-2 (740.30)
Поршневая Евро-0,1 (740)
Кольца поршневые
ТНВД
Евро-4-5 Common Rail
Евро-3
Евро-2
Евро-1
Евро-0
Система питания
Форсунки топливные
Распылители форсунок
Топливозаборники
ГБЦ
Евро-3,4,5 Common Rail
Евро-1,2,3
Евро-0
Газ
Турбокомпрессоры
ТРК Евро-4,5 (однотурбовые)
Евро-4
Евро-3
Евро-2
Евро-1
Насос водяной
Насос масляный
Маховики
Коробка передач
КПП в сборе
Валы
Валы вторичные
Валы первичные
Валы промежуточные
Шестерни
Синхронизаторы
Делители в сборе
Коробка раздаточная
РК в сборе
РК 6522
Дифференциалы
Валы
Валы первичные
Валы промежуточные
Вилки
Шестерни
Механизмы переключения
Трансмиссия
Мосты
Редукторы в сборе
Заднего моста
Переднего моста
Среднего моста
Зубьев
31, 35
50
49
48
47
46
КамАЗ
4310
43114
43118
4326
5320
53205
65115
43253
53229
6520
6522
4308
65111
65116
65117
55102
55111
53212
53215
54115
5410
5511
Мосты в сборе
Передние
Средние
Задние
6520, 6522 (20т)
65115 (15т)
65111 (15т)
43118 (10т)
43114 / 4310 (8т)
53205 Евро (10т)
5320 (8т)
5511 (10т)
МОД
Мадара
Подвеска в сборе
Ось передняя
Ось в сборе
Ходовая часть
Подвеска (тележка) в сборе
Колеса и шины
Рама
Рессоры
Лебедка
Механизмы управления
Отопление и вентиляция
Система выпуска
Сцепление
Тормоза
Кабина
Управление рулевое
Электрооборудование
Автомобили
КАМАЗ 5490
Двигатель 457
Двигатели в сборе
Сцепление
Кабина
Кузов
Мосты
Рама
Система выпуска
Тормоза
Управление рулевое
Ходовая часть
КАМАЗ К5
Двигатели WeiChai
Двигатели в сборе
Двигатели Р6
Двигатели 910 Р6 в сборе
Кабина
Сцепление
Тормоза
Управление рулевое
Электрооборудование
ZF
КПП ZF в сборе
16S EcoSplit
КПП 16s 1820 TO
КПП 16S 2220
9S Ecomid
12AS Astronic
12TX Traxon
Запчасти 12tx Traxon
Cummins
Двигатели в сборе
Блоки цилиндров
Коленвалы
Головки блока
Генератор
Китайские грузовики
Shaanxi HanDe
Fast Gear
Sitrak
Weichai
FAW
Laizhou Tongji
Европейские грузовики
Mercedes
Электрооборудование
Блоки управления
Блоки управления ADM
Блоки управления CPC4
Блоки управления двигателем
Блоки управления электрооборудованием
Датчики
Стартеры
Карданная передача
Карданы КамАЗ
Коробки отбора мощности
Прицепная техника
ССУ (Седла)
Ремонт
Ремонт двигателей
Ремонт КПП Камаз и ZF
Ремонт раздаток и редукторов
Ремонт кабин
Услуги
Комплектация заявок
Скупка запчастей и агрегатов
Контакты
Отправить заявку
Каталоги запчастей к технике
Грузовые
КамАЗ
43255 (Евро-3)
43255-1200003 Установка системы выпуска
Поиск
43255-1200003 Установка системы выпуска
/ КамАЗ 43255 (Евро-3)
zoom-in
zoom-out
enlarge
shrink
circle-right
circle-left
file-text2
info
cart
Тип техники
Не выбрано
Грузовые
Двигатели
Марка
Не выбрано
DAF
DongFeng
FAW
Foton
HOWO
IVECO
JAC Motors
MAN
Shaanxi
SITRAK
Volvo
Автокомпонент Плюс
ЗИЛ
КАЗ
КамАЗ
Мадара
НефАЗ
СЗАП
Тонар
УралАЗ
Модель
Не выбрано
4308 (2004)
4308 (2008)
4308 (Евро 3) (2013)
4308 (Евро 4) (2012)
4308-C4 (2019)
4308-C4 (2019)
4308-H3 (2019)
4308-R4 (2019)
4310
4310
43101
43114
43118 (2002)
43118 (Евро 4) (2012)
43253 (Часть-1) (2011)
43253 (Часть-2) (2011)
43253, 43255 (Евро-4) (2012)
43255 (Евро-2) (2012)
43255 (Евро-3) (2012)
4326 (2001)
4326 (2003г)
43261 (Евро-1, 2) (2007)
4350 (4х4) (2004)
43501 (4х4) (2007)
43502 (Евро 4) (2013)
45141 (2009)
45142 (2009)
45143 (2009)
5308 (Евро 3) (2012)
5308 (Евро 4) (2013)
5315
5320
53212
53228, 65111 (2004)
53229 (Евро 2) (2010)
5350 (6х6) (2004)
53501 (6х6) (2007)
53504 (6х6) (2007)
5360
53605 (Евро-4) (2013)
5410
54112
5460
5460 (2005)
5490 (2016)
55102
5511 (2003)
6350 (8х8) (2004)
63501 (8х8) (2007)
6450 (8х8) (2007)
6460
6460 (Евро 3, 4) (2013)
6460 (Евро 4) (2013)
65111 (2008)
65111 (Евро 4) (2012)
65115 (2001)
65115 (2009)
65115 (Евро-3) (2013)
65115, 65116 (Евро-4) (2010)
65116 (2006)
6520
6520 (Euro-2, 3) (2009)
6520 (Euro-4) (2012)
6520 (Euro-4) (2016)
65201 (2007)
65201 Евро 2-3 (2016)
6522 (2005)
6522 (Euro-2, 3) (2009)
6522 (Евро-4) (2016)
65226 (2009)
65226 (2013)
6540
KNORR-BREMSE для КамАЗ
Общий (5320, 53212, 5410, 54112, 5511, 55102)
Самосв. установка 6520 (2011)
Схема
>
Не выбрано
43255-1000252 Агрегат силовой, укомплектованный для установки на автомобиль
43255-1000252-20 Агрегат силовой, укомплектованный для установки на автомобиль
43255-1000252-60 Агрегат силовой, укомплектованный для установки на автомобиль
43255-1001000 Установка опор силового агрегата
4308-1001000-03 Установка опор силового агрегата
43255-1001000-50 Установка кронштейнов силового агрегата
43255-1001005-20 Установка силового агрегата
43255-1001005-50 Установка силового агрегата
43255-1080010 Установка шумоизоляционного экрана силового агрегата нижнего
65115-1080010-50 Капотирование нижнего моторного отсека
4308-1009001 Установка деталей крепления указателя уровня масла
43255-1105030 Установка фильтра грубой очистки топлива и топливопроводов
43255-1105068 Установка фильтра грубой очистки топлива и топливопроводов
53229-1100030-40 Установка топливного бака
53215-1101010-05 Бактопливный
5297-1108002 Установка педали электронного управления подачей топлива
43255-1109001 Установка воздушного фильтра
43255-1109001-30 Установка воздушного фильтра
740.1109510-03 Фильтр воздушный
7405.1109510-07 Фильтр воздушный
4308-1170003 Установка системы охлаждения наддувочного воздуха
5308-1170000 Установка системы охлаждения наддувочного воздуха
43255-1200003 Установка системы выпуска
43255-1200005 Установка системы выпуска
54115-1300023-29 Установка радиатора
43255-1300023-20 Установка радиатора
65115-1308005-09 Установка вентилятора с вязкостной муфтой
4308-1308005-50 Установка вентилятора с вязкостной муфтой
43255-1311005-11 Установка бачка расширительного
43255-1311005-30 Установка бачка расширительного
4308-1311010 Бачок расширительный
43255-1580004 Установка шумоизоляционного экрана нижнего КПП
43255-1580004 Установка шумоизоляционного экрана нижнего КПП
43255-1600005-10 Установка сцепления и коробки передач
4308-1600010-60 Установка сцепления и коробки передач
4308-1600010-30 Установка сцепления и коробки передач
43255-1609509 Установка пневмогидравлического усилителя
43255-1609509-10 Установка пневмогидравлического усилителя
43255-1609509-20 Установка пневмогидравлического усилителя
43255-1609509-30 Установка пневмогидравлического усилителя
43255-1600006-10 Установка педали и привода выключения сцепления
43255-1600006-20 Установка педали и привода выключения сцепления
43255-1600006-30 Установка педали и привода выключения сцепления
4308-1602008-30 Педаль сцепления с кронштейном и главным цилиндром
4308-1602010-30 Педаль сцепления
5320-1602510-10 Главный цилиндр управления сцеплением
5320-1602568 Толкатель поршня главного цилиндра
5320-1602560 Бачок главного цилиндра привода сцепления
4308-1601008 Картер сцепления
43255-1703005-50 Установка привода управления механизмом переключения передач
4308-1703005-82 Привод управления механизмом переключения передач
54115-1703005 Установка привода управления механизмом переключения передач
4308-1703204 Опора рычага переключения передач
14.1703248-60 Рукоятка рычага переключения передач
4308-1703520 Тяга реактивная
6540-1703520-06 Тяга реактивная
54115-1703325 Тяга
4308-1703325-82 Тяга
43255-1703325-50 Тяга в сборе
141.1700108-40 Коробка передач с картером сцепления
14.1701010 Картер коробки передач
141.1701025-30 Вал первичный коробки передач
141.1701027-30 Вал первичный коробки передач со втулкой
14.1701039-60 Крышка подшипника первичного вала
14.1701047 Вал промежуточный
141.1701100-20 Вал вторичный
14.1701200 Крышка заднего подшипника вторичного вала
14.1701201 Крышка заднего подшипника вторичного вала
14.1702010 Механизм переключения передач
14.1702013 Крышка коробки передач верхняя
14.1702026 Вилка переключения 2-ой и 3-ей передач
14.1702031 Вилка переключения 4-ой и 5-ой передач
142.1702200 Опора рычага переключения передач
142.1702208 Опора рычага переключения передач
43255-2200001-30 Установка карданного вала
43255-2200001-50 Установка карданного вала
43255-2200001-57 Установка карданных валов
43255-2201011-30 Вал карданный заднего моста
53205-2205050 Вилка скользящая с шарниром
53205-2205026-10 Крестовина карданного вала
43253-2400025-10 Мост задний
43253-2400075-10 Мост задний
43253-2401006 Картер моста заднего с механизмом блокировки
43253-2401007 Картер заднего моста с механизмом блокировки
55102-2409016 Вилка блокировки
43253-2402010-10 Передача главная заднего моста
43253-2402014-10 Передача главная заднего моста
53205-2402015 Картер редуктора заднего моста
5320-2402048 Стакан подшипников
54115-2402050 Крышка стакана подшипников
53205-2402064-10 Шестерня ведомая коническая
5320-2402108 Стакан подшипников
53212-2403054 Сателлит дифференциала заднего моста с втулкой
53215-2403010-10 Дифференциал заднего моста
53229-2403011-10 Дифференциал заднего моста
43255-2411020 Привод блокировки межколесного дифференциала
43255-2800010-30 Рама
43255-2800010-55 Рама
5320-2800016 Установка кронштейнов
5325-2803003 Установка переднего буфера
5325-2803005 Буфер передний с клыками
53205-2806114 Вилка буксирная с пружиной
43253-2804003 Установка заднего буфера
5410-2806040 Установка буксирной проушины
43255-2809001-55 Установка переднего противоподкатного защитного устройства
43255-2900001 Установка передней подвески
65115-2902012-20 Рессора передняя
4925-2900002-01 Подвеска задняя
5425-2912012-01 Рессора задняя
5360-2912020-20 Ушко с втулкой
65115-3000012-13 Ось передняя с тормозами
65115-3000015 Ось передняя
53205-3001012-10 Кулак поворотный
53215-3101002 Установка передних колёс
53215-3101003 Установка сдвоенных колес
53215-3101011 Колесо 7,5-20 с шиной
53229-3105010 Держатель запасного колеса
65115-3103010 Ступица переднего колеса с барабаном тормоза
65115-3104010-20 Ступица заднего колеса с барабаном тормоза
4310-3400012 Установка рулевого механизма
4310-3400020 Механизм рулевой
4310-3401010-20 Картер механизма рулевого управления
4310-3401063 Вал сошки с крышкой
4310-3401710 Редуктор угловой механизма рулевого управления
4310-3401716 Корпус углового редуктора механизма рулевого управления
4310-3401720 Крышка корпуса с манжетами
4310-3401736 Шестерня ведущая углового редуктора с корпусом
4310-3401750 Шестерня ведомая углового редуктора
4310-3430012 Клапан управления гидроусилителем руля
4310-3430014 Корпус клапана управления гидроусилителем руля
5320-3430220-01 Клапан обратный
53205-3414010 Тяга сошки
43255-3400014-19 Установка колонки рулевого управления
43255-3422010-19 Вал карданный
53205-3422012 Шарнир карданный
43255-3422014-19 Шарнир с втулкой
6520-3444075-19 Колонка рулевого управления с кронштейном
6520-3444008-19 Колонка рулевого управления
6520-3444010-19 Колонка рулевого управления
43255-3400018-19 Установка трубопроводов и бачка насоса ГУР
43255-3407001 Установка насоса ГУР
5297-3414052 Тяга рулевой трапеции
43255-3500006-83 Установка пневмопривода тормозов
43114-3500011-04 Установка осушителя
65115-3500011-80 Установка осушителя
43253-3500013-14 Установка воздушных ресиверов
43253-3500013-03 Установка ресиверов
16-3513110 Кран слива конденсата
5460-3500080-05 Установка пневмопривода в кабине
6520-3500014-34 Установка двухсекционного тормозного крана
5320-3514108 Кран тормозной двухсекционный с педалью
100-3514108-10 Кран тормозной двухсекционный
16-3515310 Клапан контрольного вывода
5320-3500015-04 Установка четырехконтурного защитного клапана
53205-3515400-10 Клапан защитный четырехконтурный
43253-3500018-04 Установка ускорительных клапанов
43255-3518010-01 Блок управления тормозами задней тележки
43253-3500033-04 Установка регулятора тормозных сил
100-3533010 Регулятор тормозных сил в сборе
43253-3500062 Установка клапана двухмагистрального
65115-3506180-81 Установка охладителя
65115-3506180-82 Установка охладителя
43253-3500037-41 Установка кабелей АБС
43253-3500042-41 Модуляторы с соединительной арматурой
65115-3542005-80 Блок передних модуляторов АБС
43255-3542007 Блок задних модуляторов АБС
65115-3500070-82 Тормоз вспомогательный и его привод
65115-3570014 Корпус вспомогательного тормоза с заслонкой
6460-3570014-10 Корпус вспомогательного тормоза с заслонкой
53205-3570205 Пневмоцилиндр вспомогательного тормоза
53205-3570210 Цилиндр пневматический ф35х65
43253-3506042-41 Установка пневмоуправления системой АБС
65115-3501011-22 Тормоз передний
5320-3502012-10 Суппорт заднего тормоза
53229-3501090-40 Колодка тормоза с накладками
5511 -3502121 -10 Кронштейн тормозной камеры и разжимного кулака
661-3519310 Камера тормозная тип 30
5308-3509000 Установка подвода воздуха к компрессору тормозов
5308-3509000-01 Установка подвода воздуха к компрессору тормозов
65115-3531010-80 Установка клапана накачки шин
65228-3710002 Установка выключателя коробки отбора мощности
43253-3703001-35 Установка аккумуляторных батарей
4308-3710004-30 Установка выключателя аккумуляторной батареи
5308-3710004 Установка выключателя аккумуляторной батареи
6520-3710001-95 Установка выключателей
65115-3710001-85 Установка выключателей
53205-3711001 Установка фар и передних указателей поворота
6520-3711001-10 Установка блок-фар
53205-3714001-10 Установка плафонов
53205-3714003 Установка плафона освещения вещевого ящика
5320-3715001 Установка подкапотной лампы
5513-3716002-85 Установка задних фонарей
53215-3718001-85 Установка электромеханического корректора
6520-3718001 Установка блока управления корректором фар
5320-3721001-10 Установка звуковых электрических сигналов
53602-3722002 Установка блока предохранителей
4308-3722001-30 Установка предохранителей
53205-3723005 Установка розетки переносной лампы
53215-3726001 Установка бокового повторителя указателя поворота
5480-3726001 Установка бокового повторителя указателя поворота (рестайлинговое исполнение)
54115-3731001 Установка боковых габаритных фонарей на переднем крыле
6460-3731001 -30 Установка боковых габаритных фонарей на переднем крыле
43255-3731001-17 Установка боковых габаритных фонарей
43255-3731001-32 Установка боковых габаритных фонарей
5320-3737001-01 Установка малогабаритного выключателя массы
5425-3738002 Установка габаритных фонарей
65228-3741001 Установка электрооборудования подогревателя
65228-3741060 Установка таймера
65115-3741008 Установка оборудования обогрева зеркал
65115-3741018 Установка электрооборудования обогрева зеркал на кабине
4308-3747001-50 Установка реле
65115-3741300-01 Установка контактора подогревателя воздуха
65115-3741017 Установка оборудования обогрева зеркал
5308-3741004-13 Установка электрооборудования системы подогрева топлива
5308-3741016-13 Установка электрооборудования системы подогрева топлива на панели приборов
4308-3805001-42 Установка щитка приборов
5308-3805001 Установка щитка приборов
4308-3805010-42 Щиток приборов
5308-3805010 Щиток приборов
53205-3830002 Установка датчиков аварийного давления воздуха
4308-3830005 Установка датчиков указателя давления воздуха
65201-3859001-40 Установка электрооборудования АБС
740.62-3800001-10 Установка датчиков на двигателе
65115-3800002 Установка датчиков на коробке передач
142.3802900-30 Установка сменных шестерен привода датчика спидометра
4308-4000001-14 Электроника. Расположение на автомобиле
65115-4000010-23 Система управления двигателем. Расположение
6520-4011005 Установка батареи резервного питания
6520-4011033 Установка переключателей на панели приборной
4308-4011034 Установка переключателей на панели выключателей
6520-4011035 Установка индикации на щитке приборов
4308-4011037 Установка датчика педали сцепления
4308-4011038 Установка датчика педали сцепления
6520-4011040 Установка выключателя моторного тормоза
65115-4012001 Установка предохранителей
6520-4012002 Установка реле
4308-4012004 Установка выключателя диагностики
43255-5000012-20 Кабина
43255-5000012-40 Кабина
43255-5000014-20 Кабина с дверями окрашенная
53205-5000014 Кабина с дверями окрашенная
5320-5000003 Переднее крепление и механизм уравновешивания кабины
65115-5000003 Переднее крепление и механизм уравновешивания кабины
4308-5001006-01 Установка задней подвески кабины
65115-5001006 Установка задней подвески кабины
5320-5001080 Рессора кабины
4310-5002051 Установка ограничителя подъема кабины
43114-5002051-10 Установка ограничителя подъема кабины
54115-5000075 Установка ремней безопасности
54115-5000120 Установка сидений
5320-5001010 Кронштейн переднего крепления кабины верхний
43255-5000079-10 Установка механизма опрокидывания кабины
4310-5004005 Насос механизма опрокидывания кабины
65115-5003079 Установка гидроцилиндра кабины
45255-5004079-70 Установка насоса и трубопроводов
6460-5000080 Установка заглушек на крыше
6520-5205001 Установка стеклоочистителя
6520-5208004 Установка омывателя
6560-5300023-10 Установка панели приборов
5320-5301047 Панель передка боковая съемная левая
53205-5310010 Ручка передка
6522-5325160 Установка поручней панели приборов
43255-5614200-10 Установка шумоизоляционного экрана
53205-5713008 Установка вентиляционного люка крыши
53205-6100014 Дверь правая
53205-6100015 Дверь левая
53205-6100005 Установка стекол и арматуры двери левой
5320-6103051-01 Стекло форточки двери
53205-6103210 Стекло двери опускное
53205-6104011 Стеклоподъемник двери
53205-6104030 Механизм стеклоподъемника двери
5320-6104060 Ручка стеклоподъемника
5320-6105020-10 Замок двери правый
5320-6105080 Привод замка двери правый в сборе
5320-6105150 Ручка двери наружная
5320-6105035-10 Фиксатор замка левый
5320-6106083 Ограничитель двери
54115-6800900-02 Схема подключения пневмосистемы сидений
4308-8100005 Установка системы отопления кабины
5320-8102030 Сопло обдува ветрового стекла
5320-8105160-01 Кран отопления
5320-8118027 Улитка вентилятора с распределителем левая
5320-8118069 Колесо рабочее с электродвигателем
4308-8109020 Привод управления отоплением
43255-8106001-10 Установка подогревателя 14ТС
5320-8105010 Кран сливной
43255-8106002-10 Установка топливного бачка и топливопроводов подогревателя 14ТС
5460-8201002 Установка зеркал заднего вида
53205-8202011 Поручень входа
54115-8213005 Установка надоконных полок и противосолнечных козырьков
53205-8213005 Установка надоконной полки и противосолнечных козырьков
53205-8401010 Панель облицовочная
63501-8401009 Установка облицовочной панели
5320-8406010-01 Замок панели
5320-8406100 Личинка замка панели
5320-8407011 Петля облицовочной панели левая
65115-8415011 Обтекатель
4310-8400012-10 Установка оперения кабины
6520-8400006-20 Установка оперения кабины
43255-8400004 Установка брызговиков
43255-8403008 Установка задней части переднего крыла
65115-8403010-42 Установка задней части переднего крыла правая
43255-8410003 Установка боковой защиты
65115-8416007 Нижний пояс «Рестайлинг». Условная сборочная единица
65115-8405009-50 Установка подножек левая
65115-8416010-50 Установка облицовки буфера
4308-4202005 Установка коробки отбора мощности с насосом
4308-4202005-20 Установка КОМ с насосом
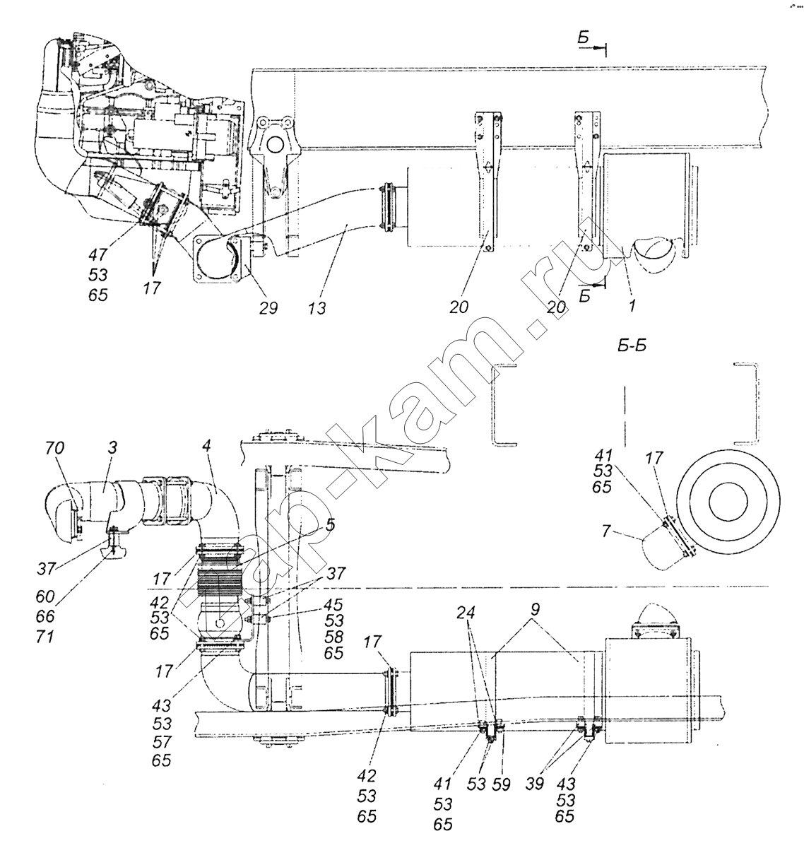
1
3
4
5
5
5
7
9
13
17
17
17
17
17
20
20
24
29
37
37
39
41
41
42
42
43
43
45
53
53
53
53
53
53
53
53
53
57
58
60
65
65
65
65
65
65
65
65
70
Поз.
Артикул
Название детали
Кол-во
43255-1200003-10
43255-1200003-10
Установка системы выпуска
1;
43255-1200003
43255-1200003
Установка системы выпуска
1;
1
6520-1201010
Глушитель выпуска
1;
3
43255-1203010-04
Труба приемная
1;
4
43255-1203011-03
Труба передняя
1;
5
65115-1203012
Металлорукав
1;
5
45104120000700
Металлорукав
1;
7
43255-1203015
Патрубок выпускной
1;
9
54115-1203047
Хомут
2;
13
43255-1203214-12
Труба задняя
1;
17
54115-1201059-13
Фланец натяжной
1;
18
54115-1203020
Прокладка
9;
20
54115-1203041-01
Кронштейн глушителя
2;
22
54115-1203061
Стремянка
1;
24
43255-1203070-04
Шпилька М 10х1,25
4;
25
43255-1203080
Проставка
2;
26
54115-1203083
Проставка
5;
28
43255-1203184-04
Кронштейн
1;
29
43255-1203187-02
Кронштейн
1;
37
6460-3703005
Втулка
2;
39
65116-3703005
Втулка
5;
41
1/59709/21
Болт М10х1,25-6gх35
4;
42
1/13070/21
Болт М10х1,25-6gх40
10;
43
1/12347/21
Болт М10х1,25-6gх45
7;
45
1/59713/21
Болт М10х1,25-6gх75
2;
53
1/21647/11
Гайка М10х1,25-6Н
37;
57
1/26386/01
Шайба плоская 10,6х18х2
2;
58
1/26468/01
Шайба плоская 10,2х25х2
4;
60
1/26469/01
Шайба плоская 12,6х28х3
2;
65
1/05168/77
Шайба 10 пружинная
33;
70
45104120000390
Хомут специальный
1;
Содержащиеся в справочниках-каталогах запасные части и детали не предлагаются к продаже, а носят исключительно информационный характер
Дополнительная информация
×
Название:
Номер:
Примечание:
Войти
Имя пользователя
Пароль
Забыли пароль?
Запомнить меня
Войти
Поиск товаров
Поиск товаров
Корзина покупок