ЗапКам
zap-kam16@yandex.ru
(900) 323-41-41
Вход / Регистрация отключена
Вход
Избранное
0
по запросу
Каталог
Все товары и категории
Запчасти КАМАЗ
Двигатель
Двигатели в сборе
Евро-0
КамАЗ-4310
Урал-4320
КамАЗ-4350
Евро-1
КамАЗ-43114
Евро-2
КамАЗ-43118
КамАЗ-65115
КамАЗ-6520
Евро-3
Евро-4
Евро-5
Газовые
Блоки цилиндров
Блоки цилиндров Евро-0 КамАЗ
Блоки цилиндров Евро-1 КамАЗ
Блоки цилиндров Евро-2 КамАЗ
Блоки цилиндров Евро-3 КамАЗ
Блоки цилиндров Евро-4,5 КамАЗ Common Rail
Сборочные комплекты (лонг-, шорт-блоки)
Блоки управления
Валы коленчатые
Коленвалы Евро-0 КамАЗ
Коленвалы Евро-1 КамАЗ
Коленвалы Евро-2 КамАЗ
Коленвалы Евро-3 КамАЗ
Коленвалы Евро-4,5 КамАЗ Common Rail
Вкладыши коренные
Евро-3,4,5
Евро-0,1,2
Вкладыши шатунные
Евро-3,4,5
Евро-0,1,2
Валы распредительные
ЦПГ – поршневая
Поршневая Евро-4,-5 (740.602)
Поршневая Евро-2,-3 (740.60)
Поршневая Евро-1,-2 (740.30)
Поршневая Евро-0,1 (740)
Кольца поршневые
ТНВД
Евро-4-5 Common Rail
Евро-3
Евро-2
Евро-1
Евро-0
Система питания
Форсунки топливные
Распылители форсунок
Топливозаборники
ГБЦ
Евро-3,4,5 Common Rail
Евро-1,2,3
Евро-0
Газ
Турбокомпрессоры
ТРК Евро-4,5 (однотурбовые)
Евро-4
Евро-3
Евро-2
Евро-1
Насос водяной
Насос масляный
Маховики
Коробка передач
КПП в сборе
Валы
Валы вторичные
Валы первичные
Валы промежуточные
Шестерни
Синхронизаторы
Делители в сборе
Коробка раздаточная
РК в сборе
РК 6522
Дифференциалы
Валы
Валы первичные
Валы промежуточные
Вилки
Шестерни
Механизмы переключения
Трансмиссия
Мосты
Редукторы в сборе
Заднего моста
Переднего моста
Среднего моста
Зубьев
31, 35
50
49
48
47
46
КамАЗ
4310
43114
43118
4326
5320
53205
65115
43253
53229
6520
6522
4308
65111
65116
65117
55102
55111
53212
53215
54115
5410
5511
Мосты в сборе
Передние
Средние
Задние
6520, 6522 (20т)
65115 (15т)
65111 (15т)
43118 (10т)
43114 / 4310 (8т)
53205 Евро (10т)
5320 (8т)
5511 (10т)
МОД
Мадара
Подвеска в сборе
Ось передняя
Ось в сборе
Ходовая часть
Подвеска (тележка) в сборе
Колеса и шины
Рама
Рессоры
Лебедка
Механизмы управления
Отопление и вентиляция
Система выпуска
Сцепление
Тормоза
Кабина
Управление рулевое
Электрооборудование
Автомобили
КАМАЗ 5490
Двигатель 457
Двигатели в сборе
Сцепление
Кабина
Кузов
Мосты
Рама
Система выпуска
Тормоза
Управление рулевое
Ходовая часть
КАМАЗ К5
Двигатели WeiChai
Двигатели в сборе
Двигатели Р6
Двигатели 910 Р6 в сборе
Кабина
Сцепление
Тормоза
Управление рулевое
Электрооборудование
ZF
КПП ZF в сборе
16S EcoSplit
КПП 16s 1820 TO
КПП 16S 2220
9S Ecomid
12AS Astronic
12TX Traxon
Запчасти 12tx Traxon
Cummins
Двигатели в сборе
Блоки цилиндров
Коленвалы
Головки блока
Генератор
Китайские грузовики
Shaanxi HanDe
Fast Gear
Sitrak
Weichai
FAW
Laizhou Tongji
Европейские грузовики
Mercedes
Электрооборудование
Блоки управления
Блоки управления ADM
Блоки управления CPC4
Блоки управления двигателем
Блоки управления электрооборудованием
Датчики
Стартеры
Карданная передача
Карданы КамАЗ
Коробки отбора мощности
Прицепная техника
ССУ (Седла)
Ремонт
Ремонт двигателей
Ремонт КПП Камаз и ZF
Ремонт раздаток и редукторов
Ремонт кабин
Услуги
Комплектация заявок
Скупка запчастей и агрегатов
Контакты
Отправить заявку
Каталоги запчастей к технике
Грузовые
КамАЗ
43261 (Евро-1, 2)
43501-1200002 Установка системы выпуска
Поиск
43501-1200002 Установка системы выпуска
/ КамАЗ 43261 (Евро-1, 2)
zoom-in
zoom-out
enlarge
shrink
circle-right
circle-left
file-text2
info
cart
Тип техники
Не выбрано
Грузовые
Двигатели
Марка
Не выбрано
DAF
DongFeng
FAW
Foton
HOWO
IVECO
JAC Motors
MAN
Shaanxi
SITRAK
Volvo
Автокомпонент Плюс
ЗИЛ
КАЗ
КамАЗ
Мадара
НефАЗ
СЗАП
Тонар
УралАЗ
Модель
Не выбрано
4308 (2004)
4308 (2008)
4308 (Евро 3) (2013)
4308 (Евро 4) (2012)
4308-C4 (2019)
4308-C4 (2019)
4308-H3 (2019)
4308-R4 (2019)
4310
4310
43101
43114
43118 (2002)
43118 (Евро 4) (2012)
43253 (Часть-1) (2011)
43253 (Часть-2) (2011)
43253, 43255 (Евро-4) (2012)
43255 (Евро-2) (2012)
43255 (Евро-3) (2012)
4326 (2001)
4326 (2003г)
43261 (Евро-1, 2) (2007)
4350 (4х4) (2004)
43501 (4х4) (2007)
43502 (Евро 4) (2013)
45141 (2009)
45142 (2009)
45143 (2009)
5308 (Евро 3) (2012)
5308 (Евро 4) (2013)
5315
5320
53212
53228, 65111 (2004)
53229 (Евро 2) (2010)
5350 (6х6) (2004)
53501 (6х6) (2007)
53504 (6х6) (2007)
5360
53605 (Евро-4) (2013)
5410
54112
5460
5460 (2005)
5490 (2016)
55102
5511 (2003)
6350 (8х8) (2004)
63501 (8х8) (2007)
6450 (8х8) (2007)
6460
6460 (Евро 3, 4) (2013)
6460 (Евро 4) (2013)
65111 (2008)
65111 (Евро 4) (2012)
65115 (2001)
65115 (2009)
65115 (Евро-3) (2013)
65115, 65116 (Евро-4) (2010)
65116 (2006)
6520
6520 (Euro-2, 3) (2009)
6520 (Euro-4) (2012)
6520 (Euro-4) (2016)
65201 (2007)
65201 Евро 2-3 (2016)
6522 (2005)
6522 (Euro-2, 3) (2009)
6522 (Евро-4) (2016)
65226 (2009)
65226 (2013)
6540
KNORR-BREMSE для КамАЗ
Общий (5320, 53212, 5410, 54112, 5511, 55102)
Самосв. установка 6520 (2011)
Схема
>
Не выбрано
54115-5000003 Переднее крепление и механизм уравновешивания кабины
5320-5000003 Переднее крепление и механизм уравновешивания кабины
43114-5000006-64 Установка кабины с оперением
43114-5000006-24 Установка кабины с оперением
43114-5000006-34 Установка кабины с оперением
54105-5000014 Кабина с дверями окрашенная
43114-5000014-24 Кабина с дверями окрашенная
53205-5000075 Установка ремней безопасности
53205-5000075-10 Установка ремней безопасности
43114-5000079-30 Установка механизма опрокидывания кабины и запасного колеса
43114-5000079-40 Установка механизма опрокидывания кабины и запасного колеса
43114-5000079-70 Установка механизма опрокидывания кабины
43114-5000079-80 Установка механизма опрокидывания кабины и запасного колеса
53205-5000120 Установка сидений
53205-5000120-10 Установка сидений
43114-5001006-20 Установка задней подвески кабины
43114-5001006 Установка задней подвески кабины
53205-5001006 Установка задней подвески кабины
5320-5001010 Кронштейн переднего крепления кабины верхний
5320-5001080 Рессора кабины
43114-5002051-10 Установка ограничителя кабины
4310-5002051 Установка ограничителя подъема кабины
43114-5003014 Гидроцилиндр МОК в сб.
4310-5003014 Цилиндр опрокидывающего механизма кабины
4310-5003010 Гидроцилиндр
4310-5003038 Поршень
4310-5004010 Насос опрокидывающего механизма кабины
4310-5004016 Корпус насоса механизма опрокидывания кабины и запасного колеса
53205-5018010 Запор кабины правый
53205-5018011 Запор кабины левый
5320-5018014 Корпус запора кабины правый
5320-5018060 Кронштейн запора кабины правый
53205-5205001 Установка стеклоочистителя
271.5205010 Стеклоочиститель электрический
53205-5208004 Установка омывателя электрического
43118-5300023 Монтаж и крепление панели приборов
5320-5301047/046 Панель передка боковая съемная левая
5320-5301047-10 Панель передка боковая съемная левая
5320-5303012 Ящик вещевой
5320-5303020-01 Дверка вещевого ящика
5320-5303039 Ограничитель
53205-5310010 Ручка передка
4326-5614200 Установка шумоизоляционного экрана двигателя
53205-5713008 Установка вентиляционного люка крыши
5350-5713008 Установка люка крыши
53205-6100005 Установка стекол и арматуры двери левой
53205-6100014 Дверь правая
53205-6100015 Дверь левая
53205-6104011 Стеклоподъемник двери
53205-6104030 Механизм стеклоподъемника двери
5320-6105020-10/021-10 Замок двери правый/левый
5320-6105035-10 Фиксатор замка левый
5320-6105080 Привод замка двери левый в сборе
5320-6105150 Ручка двери наружная в сборе
5320-6106083 Ограничитель двери
53205-6800010 Сиденье водителя
5320-6804010 Механизм подрессоривания сиденья водителя
5320-6804111 Механизм перемещения сиденья водителя
5320-6804756 Ручка регулировки торсиона
53205-6810010 Сиденье пассажирское
53205-6830010 Сиденье пассажирское с ящиком
53205-8100005 Установка системы отопления
5320-8102030 Сопло обдува ветрового стекла
4310-8104001 Установка вентилятора кабины
5320-8105010 Кран сливной
5320-8105015 Пробка крана
5320-8105160 Кран отопления
5320-8109020-10 Привод управления отоплением
5320-8118027 Улитка вентилятора с распределителем левая
5320-8118069 Колесо рабочее с электродвигателем
53205-8106001 Установка подогревателя 15.8106
53205-8106002 Установка топливного бачка и топливопроводов подогревателя 15.8106
53215-8106001 Установка подогревателя ПЖД-12Б
53215-8106002 Установка топливного бачка и топливопроводов подогревателя ПЖД-12Б
53205-8201002 Установка зеркал заднего вида
5320-8202200\201 Ручка правая\левая
5320-8203010-01 Пепельница в сборе
5320-8204011\10 Козырек противосолнечный с обивкой левый\правый
53212-8208001 Установка световозвращателей на кабине
54112-8208003 Установка световозвращателей
65115-8208003-04 Установка задних световозвращателей
53205-8213005 Установка надоконной полки и противосолнечных козырьков
54115-8213005 Установка надоконной полки и противосолнечных козырьков
43114-8400012-64 Установка оперения кабины
4410-8400012 Установка оперения кабины
53205-8401010 Панель облицовочная
43118-8403009 Установка задней части переднего крыла левая
43114-8403009-50 Установка задней части переднего крыла левая
5320-8406010-01 Замок панели
5320-8406100 Личинка замка панели
5320-8407011 Петля облицовочной панели левая
65115-8415011 Обтекатель
5320-8415008 Установка обтекателей
43501-8500008-81 Установка платформы
4326-8500010 Платформа
4310-8500010-02 Платформа
43118-8500010-31 Платформа
43501-8500010-81 Платформа
4310-8501010 Основание платформы
43118-8501010-31 Основание платформы
43501-8501010-81 Основание платформы
4310-8501016 Каркас основания платформы
53212-8501016 Каркас основания платформы
6350-8502041-73 Стойка передняя левая
6350-8502060-73 Стойка средняя
6350-8502071-73 Стойка задняя левая
53215-8505029-73 Запор бортов левый
4310-8506003 Установка среднего сиденья
43501-8506008-81 Установка скамеек
4310-8506011 Скамейка №1 боковая
4310-8506013-10 Скамейка №2 боковая
4310-8508008 Каркас тента и установка
43501-8508008-81 Каркас тента
4310-8508012 Установка тента платформы
4310-8508670 Решетка №1 каркаса тента правая
4310-8522030 Щит №1 Настила пола
43261-1000272-50 Агрегат силовой 740.11-240, укомплектованный для установки на автомобиль
43261-1000278 Агрегат силовой 740.11-240, укомплектованный для установки на автомобиль
4326-1000272-11 Агрегат силовой 740.11-240, укомплектованный для установки на автомобиль
4326-1000260-01 Агрегат силовой, укомплектованный для установки на автомобиль
43114-1000284-51 Агрегат силовой 740.13-260, укомплектованный для установки на автомобиль
65111-1000282-30 Агрегат силовой 740.13-260, укомплектованный для установки на автомобиль
43118-1000261-01 Агрегат силовой, укомплектованный для установки на автомобиль
740.11-1000309-23 Агрегат силовой КАМАЗ 740.11-240
740.31-1000302-01 Агрегат силовой КАМАЗ 740.31-240
740.30-1000302-71 Агрегат силовой
740.11-1000409-23 Двигатель с оборудованием
740.11-1000459-23 Двигатель с оборудованием
740.31-1000402-01 Двигатель с оборудованием 740.31-240
740.30-1000402-61 Двигатель с оборудованием 740.30-260
53205-1001005 Установка силового агрегата
53229-1001005 Установка силового агрегата
53205-1001015 Кронштейн передней опоры
5320-1001062-10 Башмак задней опоры силового агрегата
7406.1002003 Установка картера агрегатов
7406.1002320 Картер агрегатов
740.21-1002004 Установка картера маховика
740.13-1002004 Установка картера маховика
740.1029114 Шестерня, ведущая привода распределительного вала
7405.1029120 Шестерня, ведомая привода топливного насоса
740.1029175 Корпус заднего подшипника
7405.1002310 Картер маховика
740.11-1002310 Картер маховика
7406.1002004-20 Установка картера маховика
7406.1002310 Картер маховика
740.37-1029170 Корпус манжеты
740.13-1002010 Блок цилиндров
740.21-1002011 Блок цилиндров
740.1002080 Заглушка водяной полости
740.1002260 Крышка блока цилиндров передняя
740.1003035 Втулка с кольцами
740.21-1003000 Установка головок цилиндра и механизма газораспределения
740.30-1003010 Головка цилиндра с клапанами
740.30-1003014 Головка цилиндра
740.1003434 Заглушка с кольцом
7406.1007091 Стойка коромысел
7406.1007140 Коромысло клапана
740.21-1006010 Распределительный вал
7482.1006036 Корпус подшипника распределительного вала с втулкой
740.13-1004010-40 Поршень с шатуном и кольцами
740.30-1004010-40 Поршень с шатуном и кольцами
740.1004045 Шатун
7405.1004120 Установка форсунки охлаждения поршня
7405.1004066 Клапан форсунки охлаждения поршня
740.13-1005007 Установка вала коленчатого
740.13-1005008 Вал коленчатый
740.30-1005007 Установка коленчатого вала
740.30-1005008 Коленчатый вал
7406.1005031 Шестерня коленчатого вала
740.13-1005059 Установка гасителя крутильных колебаний и полумуфты отбора мощности
740.21-1005059-10 Установка гасителя крутильных колебаний и полумуфты отбора мощности
740.21-1005100-20 Установка маховика и фиксатор
740.21-1005100 Установка маховика и фиксатора
7405.1005115-20 Маховик
7405.1005115-50 Маховик
7405.1005116 Маховик
7405.1005116-20 Маховик
740.50-1005100-10 Установка маховика и фиксатора
740.50-1005115-10 Маховик
740.50-1005116 Маховик
740.1005440 Фиксатор маховика
7406-1005200 Установка привода отбора мощности переднего
7406.1005500 Привод агрегатов
7406.1005250 Корпус подшипника
7406.1005535 Вал отбора мощности
740.13-1008000 Установка газопровода
7406.1008000 Установка газопровода
7403.1008020 Коллектор выпускной правый в сборе
7403.1008021 Коллектор выпускной левый в сборе
7403.1008030 Патрубок правый в сборе
740.21-1009001-02 Установка картера масляного
740.1009050 Указатель уровня масла с уплотнителем
740.1009048-30 Трубка указателя уровня
740.11-1011001 Установка масляного насоса
740.11-1011005 Масляный насос с маслозаборником
740.11-1011010 Масляный насос с шестерней
740.11-1011014-02 Насос масляный
740.11-1011016-01 Крышка с клапаном
740.1011018-50 Корпус насоса
740.11-1011019-01 Крышка масляного насоса
740.1011030-50 Шестерня ведомая масляного насоса
7406.1012001-20 Установка фильтра и теплообменника
7406.1012001-30 Установка фильтра и теплообменника
740.20-1012006 Фильтр масляный с теплообменником
7406.1012010 Фильтр очистки масла
7406.1012015 Корпус масляного фильтра
740.20-1012068 Колпак масляного фильтра
740.20-1013200-10 Теплообменник масляный
740.60-1013200 Теплообменник масляный
43114-1014001-01 Установка трубки вентиляции картера
740.1014100-14 Установка системы вентиляции
740.20-1014100-10 Установка системы вентиляции
7406.1014504 Угольник сапуна
740.1014498 Трубка сапуна с втулкой
7406.1015002 Установка патрубка и штуцеров системы подогрева двигателя
740.1022800 Установка электромагнитного клапана и штифтовых запальных свечей на двигатель
7406.1022800 Установка электромагнитного клапана
7482.1022800-10 Установка магнитного клапана
7406.1022860 Клапан с кронштейном и трубкой
43118-1100001-41 Установка топливного бака, ФГОТ и топливопроводов
43114-1100002-31 Установка топливного бака, ФГОТ и топливопроводов
43114-11000Q3-31 Установка топливного бака, ФГОТ и топливопроводов
53228-1100004-31 Установка топливного бака, ФГОТ и топливопроводов
43114-1100005-31 Установка топливного бака, ФГОТ и топливопроводов
53228-1100005-31 Установка топливного бака, ФГОТ и топливопроводов
5320-1101010-10 Бак топливный (250 л)
53215-1101010 Бак топливный
5320-1101070-10 Труба наливная топливного бака с выдвижной трубой
5320-1103010-01 Пробка топливного бака
541121-1103010 Пробка топливного бака
5320-1104012 Трубка приемная с фильтром
5410-1104012-10 Трубка приемная с фильтром
53212-1104012 Трубка приемная с фильтром
5320-1104136 Трубка слива топлива в бак с угольником
5410-1104136 Трубка слива топлива в бак с краном
7406.1105010 Фильтр грубой очистки с насосом предпусковой прокачки топлива
740.1105010-01 Фильтр грубой очистки топлива
54115-1104001 Установка топливопроводов
43253-1104000 Установка топливопроводов
740.13-1104000 Установка топливопроводов
740.13-1104000-10 Установка топливопроводов
740.21-1104000 Установка топливопроводов
740.51-1104000 Установка топливопроводов
740.21-1117010 Фильтр тонкой очистки топлива
740.51-1117010 Фильтр тонкой очистки топлива
740.1117029 Пружина
740.1108000-20 Привод управления регулятором
7406.1108000 Привод управления регулятором
7406.1108030 Кронштейн с валом привода
740.1108038 Кронштейн вала привода управления регулятором
7406.1108038 Кронштейн вала привода
740.1108050 Тяга привода управления регулятором
7406.1108050 Тяга привода управления регулятором
740.1108054 Наконечник тяги рычага управления регулятором
5320-1108003-20 Установка управления подачей топлива
53205-1108003 Установка управления подачей топлива
54115-1108003 Управление подачей топлива
5320-1108040 Толкатель
54115-1108040 Толкатель
5320-1108120-99 Тяга ручного управления подачей топлива двигателя
5320-1108120-12 Тяга ручного управления подачей топлива двигателя
5425-1108130 Тяга ручного останова двигателя
5320-1108130-02 Тяга ручного управления подачей топлива двигателя
54105-1109001 Установка воздушного фильтра
65116-1109001-10 Установка воздушного фильтра
65116-1109003-10 Воздухозаборник
740.13-1109048-10 Установка тройника
65116-1109048 Установка тройника
7405.1109510 Фильтр воздушный
7405.1109557 Элемент фильтрующий с предочистителем
740.11-1111000-50 Установка и привод ТНВД
740.31-1111000-40 Установка и привод ТНВД
740.30-1111000 Установка и привод ТНВД
7406.1111050 Вал привода ТНВД
740.11-1112000 Установка форсунки
740.50-1112000 Установка форсунки
7406.1111040 Корпус переднего подшипника
740.13-1115000-10 Установка системы впуска
740.11-1115000-30 Установка системы впуска
7406.1115000-30 Установка системы впуска
740.13-1118000-13 Установка турбокомпрессоров на двигатель
740.30-1118000 Установка турбокомпрессора
53205-1170000 Установка системы охлаждения наддувочного воздуха
53205-1170300 Теплообменник охлаждения наддувочного воздуха
53205-1170300-01 Теплообменник охлаждения наддувочного воздуха
337.1111005-20 Насос топливный высокого давления (ТНВД) в сборе
332.1106010 Топливный насос низкого давления в сборе
33.1110024 Крышка регулятора верхняя в сборе
333.1110040 Державка грузов регулятора в сборе
33.1110060 Муфта регулятора в сборе
333.1110128-30 Крышка регулятора задняя в сборе
333.1110160-32 Рычаг регулятора в сборе
33.1110505 Рычаг стартовой пружины в сборе
333.1110515-30 Шестерня регулятора ведущая в сборе
333.1110670-30 Шестерня регулятора промежуточная в сборе
333.1110700-30 Корректор подачи топлива по наддуву в сборе
337.1111020-30 Корпус топливного насоса в сборе
323.1111039-01 Секция топливного насоса в сборе
337.1111050-01 Вал кулачковый в сборе
337.1111070-21 Крышка подшипника с манжетой в сборе
337.1111110 Толкатель плунжера в сборе
338.1111140-20 Клапан перепускной в сборе
337.1111180 Рейка правая в сборе
337.1111181 Рейка левая в сборе
33.1111400 Рычаг реек в сборе
Система питания двигателя
332.1106010-01 Топливный насос низкого давления
33.1110024 Крышка регулятора верхняя
333.1110040 Державка грузов регулятора
332.1110160-50 Рычаги с корректорами
332.1110-40 Регулятор частоты вращения
337.1111005-42 Топливный насос высокого давления
Корпус топливного насоса в сборе
337.1111039-10 Секция топливного насоса
37.1141010 Насос предпусковой прокачки топлива
4326-1200002-01 Установка системы выпуска
43501-1200002 Установка системы выпуска
53205-1300023 Установка радиатора
54115-1300023-10 Установка радиатора
5320-1301003 Установка уплотнителей радиатора
4310-1301005 Установка кожуха радиатора
7406.1303002 Установка водяных труб
740.11-1303005-50 Установка водяного насоса, водяных труб и включателя гидромуфты
740.13-1303005 Установка водяного насоса, водяных труб и включателя гидромуфты
740.1303100 Труба водяная правая
740.1303101 Труба водяная левая
7406.1303100-10 Труба водяная правая
7406.1303101-10 Труба водяная левая
740.1303176 Коробка водяная
740.1307010-02 Насос водяной
740.13-1307010 Насос водяной
740.1318210-01 Включатель гидромуфты привода вентилятора
7406.1303005 Установка корпуса водяных каналов
740.30-1303005-10 Установка корпуса водяных каналов
7406.1303010-10 Корпус водяных каналов
740.13-1305010 Установка кранов сливных системы охлаждения привода управления
5320-1305010 Кран сливной системы охлаждения
5320-1305015 Пробка крана
5320-1305030 Пробка с шариком и держателем
7406.1307005 Установка водяного насоса
740.50-1307010 Водяной насос
740.13-1308010 Установка вентилятора
7406.1308010-01 Установка вентилятора с муфтой привода
740.30-1308010 Установка вентилятора
7406.1309007-10 Установка обечайки вентилятора
5320-1311005 Установка расширительного бачка
54115-1311005-10 Установка расширительного бачка
5320-1311010-30 Бачок расширительный
5320-1311060 Пробка расширительного бачка
5320-1311086-30 Скоба верхняя
740.30-1317005 Установка электромагнитной муфты
740.30-1317500-01 Муфта электромагнитная привода вентилятора
740.30-1317510-01 Шкив со ступицей вентилятора
740.30-1317520-10 Ступица вентилятора с фрикционным диском
740.1318005 Установка гидромуфты
740.1318010 Гидромуфта
740.1318025 Колесо ведущее с ведущим валом
740.1318026 Вал ведущий
740.1318044 Колесо ведомое гидромуфты с ведомым валом
740.1318074 Корпус подшипника гидромуфты
740.13-1318158 Шкив привода генератора с манжетой
4310-1600006 Установка педали и привода выключения сцепления
43118-1600006-10 Установка педали и привода выключения сцепления
53205-1600006-30 Установка педали и привода выключения сцепления
5320-1602008 Педаль сцепления с кронштейном и главным цилиндром
6520-1602008 Педаль сцепления с кронштейном и главным цилиндром
5320-1602008-10 Педаль сцепления с кронштейном и главным цилиндром
5320-1602010 Педаль сцепления
5320-1602010-10 Педаль сцепления
6460-1602010 Педаль сцепления
5320-1602510-10 Главный цилиндр управления сцеплением
5320-1602512 Главный цилиндр
5320-1602560 Бачок главного цилиндра привода сцепления
5320-1602568 Толкатель
14.1601008-20 Картер сцепления
142.1600010 Сцепление
17.1600010-01 Сцепление
17.1600010-10 Сцепление
142.1601090 Диск нажимной сцепления с кожухом
14.1601086 Рычаг оттяжной с вилкой и пружиной
55111-1609509 Установка кронштейна и ПГУ на силовой агрегат
5320-1609510 Пневмогидравлический усилитель
5320-1609516 Корпус пневмогидравлического усилителя задний
5320-1609534 Поршень следящий с корпусом
5320-1609552 Поршень выключения сцепления
5320-1609556 Уплотнение поршня выключения сцепления
5320-1609570 Диафрагма ПГУ
5320.1609578 Клапан ПГУ
5320-1609592 Поршень пневматический
4326-1600300 Установка вентиляционных трубок коробки передач
152.1700070-31 Коробка передач с делителем, управлением и деталями сцепления
152.1700258 Коробка передач с делителем, управлением и деталями сцепления
142.1700201 Коробка передач с картером сцепления
154.1700050 Коробка передач с делителем, управлением и деталями сцепления
152.1700156 Коробка передач
154.1700150 Коробка передач
14.1701010 Картер коробки передач
154.1701010 Картер коробки передач
142.1701025 Вал первичный коробки передач
152.1701025 Вал первичный коробки передач
154.1701025 Вал первичный коробки передач
154.1701026 Вал первичный коробки передач с зубчатой муфтой и втулкой
142.1701027 Вал первичный с втулкой
152.1701027 Вал первичный с втулкой
154.1701027 Вал первичный коробки передач с зубчатой муфтой
14.1701039 Крышка подшипника первичного вала
14.1701047 Вал промежуточный
154.1701047 Вал промежуточный
142.1701100 Вал вторичный
154.1701100 Вал вторичный
141.1701201 Крышка заднего подшипника вторичного вала
154.1701201 Крышка заднего подшипника вторичного вала
154.1701070 Крышка заднего подшипника промежуточного вала
14.1702010 Механизм переключения передач
14.1702013 Крышка коробки передач верхняя
14.1702026 Вилка переключения 2-ой и 3-ей передач
14.1702031 Вилка переключения 4-ой и 5-ой передач
14.1702200-10 Опора рычага переключения передач
142.1702200 Опора рычага переключения передач
142.1702208 Опора рычага переключения передач
14.1703005 Привод управления механизмом переключения передач
154.1703005 Привод управления механизмом переключения передач
15.1703005-02 Привод управления механизмом переключения передач
14.1703204 Опора рычага в сборе
154.1703204 Опора рычага переключения передач с рычагом и краном управления
15.1703204 Опора рычага переключения передач с рычагом и краном управления
14.1703206 Опора рычага переключения передача
14.1703284 Кронштейн опоры промежуточной тяги управления
154.1703520 Тяга реактивная в сборе
152.1770011 Делитель передач с управлением
152.1770011-40 Делитель передач с управлением
154.1770010 Делитель передач с управлением
15.1770030 Картер делителя передач с втулками
15.1770030-01 Картер делителя передач с втулками
154.1770030 Картер делителя передач с втулками
152.1770040 Вал первичный делителя передач
154.1770040 Вал первичный делителя передач
15.1770210-01 Вал промежуточный делителя передач
154.1770210 Вал промежуточный делителя передач
15.1771010 Механизм переключения делителя передач
15.1771110 Валик вилки механизма переключения с рычагом
15.1772100 Редукционный клапан управления механизмом переключения
15.1772132 Кран управления делителем передач с тросом
65111-1800008 Установка крепления раздаточной коробки
65111-1800008-10 Установка крепления раздаточной коробки
43118-1800008 Установка раздаточной коробки
43114-1800009 Установка управления раздаточной коробки
43118-1800009 Установка управления раздаточной коробки
4310-1804010 Кран управления раздаточной коробкой
65111-1800020 Коробка раздаточная с коробкой отбора мощности
43114-1800020 Коробка раздаточная с коробкой отбора мощности
43114-1800600 Установка сменных шестерен привода датчика спидометра
65111-1802010 Картер раздаточной коробки
65111-1802024 Вал первичный раздаточной коробки
43114-1802024 Вал первичный раздаточной коробки
65111-1802027-10 Крышка переднего подшипника первичного вала
4310-1802027 Крышка переднего подшипника первичного вала
65111-1802084-10 Вал промежуточный раздаточной коробки
43114-1802084 Вал промежуточный раздаточной коробки
65111-1802104-10 Крышка заднего подшипника промежуточного вала
65111-1802117-10 Крышка переднего подшипника привода переднего моста
65111-1802150-10 Дифференциал раздаточной коробки
43114-1802150 Дифференциал раздаточной коробки
65111-1802155-10 Обойма дифференциала раздаточной коробки с сателлитами
43114-1802155 Обойма дифференциала раздаточной коробки с сателлитами
65111-1802160-10 Обойма дифференциала раздаточной коробки
43114-1802160 Обойма дифференциала раздаточной коробки
65111-1802168 Ступица шестерни низшей передачи с втулкой
65111-1802212-10 Крышка заднего подшипника привода заднего моста
43114-1802213 Крышка заднего подшипника привода заднего моста
65111-1802230-10 Картер привода переднего моста
43114-1802230 Картер привода переднего моста
65111-1803010 Механизм включения низшей передачи
43114-1803010 Механизм включения низшей передачи
65111-1803022 Шток включения низшей передачи раздаточной коробки
4310-1803022-10 Шток включения низшей передачи
43501-2200001-10 Установка карданных валов
4326-2200001-40 Установка карданных валов
4326-2200001-30 Установка карданных валов
43114-2200001-10 Установка карданных валов
65111-2200001-10 Установка карданных валов
43118-2200001-31 Установка карданных валов
4326-2201011-10 Вал карданный заднего моста
53205-2201011-10 Вал карданный заднего моста
53205-2201017-10 Вал карданный с шарниром
53205-2201026-10 Крестовина карданного вала
53205-2201050 Вилка скользящая с шарниром
43114-2202011 Вал карданный основной
43118-2202011-31 Вал карданный основной
65111-2202011-10 Вал карданный основной
43114-2202020 Вал карданный с шарниром
43114-2202050 Вилка скользящая с шарниром
43114-2203011 Вал карданный переднего моста
53205-2205011-10 Вал карданный среднего моста
53205-2205017-10 Вал карданный с шарниром
53205-2205050 Вилка скользящая с шарниром
53205-2205026-10 Крестовина карданного вала
43114-2300020-10 Мост передний
43114-2300022-10 Мост передний
43114-2300023-10 Мост передний
43118-2300020-10 Мост передний
43118-2300022-10 Мост передний
43118-2302010-10 Передача главная переднего моста
4310-2302050 Крышка подшипника
43118-2302021 Вал ведущий переднего моста
53228-2303010-10 Дифференциал переднего моста
4310-2304012 Опора шаровая поворотного кулака
4310-2304029 Корпус поворотного кулака правый
43114-2304081 Цапфа поворотного кулака
43114-2304079 Цапфа поворотного кулака
4310-2304128 Кольцо упорное кулака шарнира полуоси
4350-2400021-10 Мост задний
43118-2400021-10 Мост задний
43114-2400022-10 Мост задний
4350-2400025-10 Мост задний
43114-2400025-10 Мост задний
43118-2400025-10 Мост задний
4350-2400041-10 Мост задний
43114-2400041-10 Мост задний
1326-2401007 Картер заднего моста с механизмом блокировки
55102-2401007 Картер заднего моста с механизмом блокировки
4310-2401081 Цапфа заднего моста
43114-2401081 Цапфа заднего моста
43081-2401114 Сапун
53205-2402010-10 Передача главная заднего моста
43253-2402011-10 Передача главная заднего моста
53205-2402011-10 Передача главная заднего моста
53205-2402015 Картер редуктора заднего моста
5320-2402048 Стакан подшипников
53205-2402050 Крышка стакана подшипников
53205-2402076 Крышка подшипника
5320-2402108 Стакан подшипников
5320-2402064-10 Шестерня ведомая коническая
53215-2403010-10 Дифференциал заднего моста
53229-2403011-10 Дифференциал заднего моста
53212-2403054 Сателлит дифференциала заднего моста с втулкой
55102-2409016 Вилка блокировки
4326-2411020 Привод блокировки межколесного дифференциала
43114-2411020 Привод блокировки межколесных дифференциалов
43118-2411020 Привод блокировки межколесных дифференциалов
43501-2411020 Привод блокировки межколесного дифференциала
43114-2500021-10 Мост средний
43118-2500021-10 Мост средний
43114-2500022-10 Мост средний
43114-2500025-10 Мост средний
43118-2500025-10 Мост средний
53205-2502011-10 Передача главная среднего моста
43118-2502014-10 Передача главная среднего моста
5320-2502012 Шестерня ведущая коническая
5320-2502208 Крышка подшипника
53205-2506010 Дифференциал межосевой
5320-2506026 Крышка подшипника
43118-2511021 Привод блокировки межосевого дифференциала
5320-2511060 Кран включения блокировки
5320-2511066 Шток
43501-2800010-10 Рама
43501-2800010 Рама
4326-2800010 Рама
43114-2800010 Рама
53228-2800010-40 Рама
5320-2800016 Установка кронштейнов
4310-2803003-20 Установка переднего буфера
4326-2803050 Установка настила буфера
5325-2803003 Установка переднего буфера
4310-2804003 Установка заднего буфера
43501-2804003 Установка заднего буфера
43114-2900001 Установка передней подвески
43501-2900001 Установка передней подвески
55111-2902012-01 Рессора передняя
43114-2902018 Ушко с втулкой и манжетами
43114-2902020 Ушко с втулкой
4310-2900002 Установка задней подвески
4326-2900002 Установка задней подвески
43501-2900002 Установка задней подвески
53228-2900002-10 Установка задней подвески
4310-2912012 Рессора задняя
4326-2912012 Рессора задняя
5322-2912012 Рессора задняя
4925-2912018 Ушко с втулкой и манжетами
5360-2912020-20 Ушко с втулкой
5320-2918052 Кронштейн балансира с осью
5511-2918050 Ось балансирной подвески с кронштейнами
5320-2919088-30 Кронштейн верхней реактивной штанги
55111-2918068 Башмак рессоры с втулками и сальником
55111-2918070 Башмак рессоры с втулками
630-2919012-20 Штанга реактивная
4310-3101002-20 Установка колес
43114-3101002 Установка колес
43118-3101002 Установка колёс
43114-3101011 Колесо с шиной левое
43118-3101011 Колесо с шиной левое
43118-3103009-10 Ступица с барабаном тормоза и проставочным кольцом
43114-3103010-10 Ступица колеса с барабаном тормоза
43114-3103010-12 Ступица колеса с барабаном тормоза
43114-3105810 Держатель запасного колеса
43501-3105810 Держатель запасного колеса
43118-3105010 Держатель запасного колеса
4310-3122001 Установка крана управления давлением системы накачки шин
4310-3122010 Кран управления давлением
4310-3122034 Золотник крана
4310-3124110 Кран запора воздуха системы накачки шин
43118-3125001-20 Установка системы накачки шин
43114-3125005 Установка системы накачки шин
4326-3125005 Установка системы накачки шин
43501-3125005 Установка системы накачки шин
4310-3400012 Установка рулевого механизма
5425-3400014 Установка колонки рулевого управления
53205-3400018 Установка трубопроводов рулевого управления
53205-3400018-10 Установка трубопроводов
4310-3400020 Механизм рулевой
4310-3401010 Картер механизма рулевого управления
4310-3401063 Вал сошки с крышкой
4310-3401710 Редуктор угловой механизма рулевого управления
4310-3401716 Корпус углового редуктора механизма рулевого управления
4310-3401720 Крышка корпуса с манжетами
4310-3401736 Шестерня ведущая углового редуктора с корпусом
4310-3401750 Шестерня ведомая углового редуктора
740.13-3407001 Установка насоса гидроусилителя руля
740.30-3407005 Установка насоса рулевого усилителя
740.30-3407006 Установка насоса рулевого усилителя
4310-3407200-01 Насос рулевого усилителя
4310-3407200-02 Насос рулевого усилителя - Power steering pump
4310-3407200-20 Насос гидроусилителя руля
4310-3407200-21 Насос рулевого усилителя
4310-3407212 Крышка насоса рулевого усилителя
53212-3407270 Клапан перепускной насоса гидроусилителя рулевого управления
4310-3407338-10 Фильтр насоса гидроусилителя руля
4310-3414010 Тяга сошки рулевого управления
4310-3414052 Тяга рулевой трапеции
4310-3422010 Вал карданный рулевого управления
53205-3422010-75 Вал карданный
5425-3444009 Колонка рулевого управления с замком противоугонного устройства
5425-3444010 Колонка рулевого управления
4310-3444010 Колонка рулевого управления
7406.3407001 Установка насоса гидроусилителя руля
43101-3500006 Установка пневмотормозов
43114-3500006-74 Установка пневмотормозов
43118-3500006 Установка пневмотормозов
43118-3500006-71 Установка пневмотормозов
4326-3500006-71 Установка пневмотормозов
4326-3500006-86 Установка пневмотормозов
43501-3500006-37 Установка пневмотормозов
43114-3500011-17 Установка осушителя
5320-3500011-10 Установка блока подготовки воздуха
5350-3500011-17 Установка осушителя
54115-3500011-17 Установка осушителя
43118-3500013 Установка воздушных ресиверов
4310-3500013-10 Установка воздушных ресиверов
6520-3500014 Установка двухсекционного тормозного крана
4310-3500015-10 Установка четырех контурного защитного клапана
43101-3500018 Установка ускорительных клапанов
4326-3500018 Установка ускорительных клапанов
43501-3500018 Установка ускорительных клапанов
43114-3500022 Установка клапана управления тормозами прицепа
43114-3500022-30 Установка клапанов управления тормозами прицепа
43501-3500022 Установка клапанов управления тормозами прицепа
43114-3500033 Установка регулятора тормозных сил
4925-3500033 Установка регулятора тормозных сил
43501-3500033 Установка регулятора тормозных сил
53205-3500037-22 Установка кабелей АБС
53205-3500037-41 Установка кабелей АБС
43114-3500062-10 Установка двухмагистрального клапана
43101-3500070 Тормоз вспомогательный и его привод
43114-3500070 Тормоз вспомогательный и его привод
53212-3501090-10 Колодка тормоза с накладками
5320-3501136 Рычаг регулировочный тормоза
4310-3502010-10 Тормоз задний
43114-3502010 Тормоз задний
43114-3502012 Суппорт заднего тормоза
43114-3502120 Кронштейн тормозной камеры и разжимного кулака
53229-3502237 Рычаг регулировочный заднего тормоза
4310-3506042-41 Установка пневмоуправления системой АБС
4326-3506042-41 Установка пневмоуправления системой АБС
43118-3506180 Установка охладителя
5350-3506180-17 Установка охладителя
54115-3506180-17 Установка охладителя
65115-3506180 Установка охладителя
7405.3509003 Установка компрессора
7406.3509003 Установка компрессора
53205-3509015 Компрессор
53205-3509039 Головка цилиндра с крышкой
53205-3509088 Крышка задняя в сборе
53205-3509154 Поршень в сборе
16-3513110 Кран слива конденсата
5320-3514108 Кран тормозной двухсекционный с педалью
100-3514108-10 Кран тормозной двухсекционный
16-3515310 Клапан контрольного вывода
53205-3515400-10 Клапан защитный четырехконтурный
16-3515510 Кран экстренного растормаживания
100-3518010 Клапан ускорительный
661-3519210-10 Камера тормозная в сборе
661-3519210-30 Камера тормозная тип 24
661-3519310-10 Камера тормозная тип 30
100-3521010 Головка соединительная
100-3522110 Клапан управления тормозами прицепа с однопроводным приводом в сборе
100-3533010 Регулятор тормозных сил в сборе
100-3537110 Кран аварийного растормаживания в сборе
53205-3570014 Корпус вспомогательного тормоза с заслонкой
53215-3570030 Вал заслонки
54112-3570010 Установка цилиндра выключения подачи топлива
54112-3570074 Цилиндр пневматический с тягой
5320-3570074 Цилиндр пневматический 30x25 с тягой
100-3570110 Цилиндр выключения подачи топлива пневматический
53205-3570205 Пневмоцилиндр вспомогательного тормоза
53205-3570210 Цилиндр пневматический диаметр 35х65
100-3570210 Цилиндр управления заслонкой в сборе
43114-3700012-12 Электрооборудование. Расположение на автомобиле
43114-3700011-40 Электрооборудование. Расположение на автомобиле
43118-3700001-23 Электрооборудование. Расположение на автомобиле
43118-3700011-20 Электрооборудование. Расположение на автомобиле
4326-3700001-29 Электрооборудование. Расположение на автомобиле
4326-3700001-33 Электрооборудование. Расположение на автомобиле
43501-3700001-20 Электрооборудование. Расположение на автомобиле
43501-3700001-29 Электрооборудование. Расположение на автомобиле
4310-3700023 Установка выключателя сигнала к водителю
4310-3700025 Установка плафона освещения платформы
5320-3700087 Монтаж электрооборудования подогревателя
740.13-3701001-10 Установка генератора
7406.3701002-20 Установка генератора
740.3701008-30 Генератор с пальцем
740.3701770-10 Кронштейн крепления генератора
7406.3701770-40 Кронштейн генератора
5320-3703001 Установка аккумуляторных батарей
53228-3703001-85 Установка аккумуляторных батарей
53205-3708001 Установка выключателя приборов и стартера
740.13-3708005 Установка стартера
53215-3709002 Установка подрулевого переключателя
53215-3710428-85 Панель выключателей
43114-3710428 Панель выключателей
53228-3710428-36 Панель выключателей
43118-3710428-17 Панель выключателей
5350-3710428-20 Панель выключателей
53205-3711001 Установка фар и передних указателей поворота
5320-3711002 Установка фары
4310-3712001 Установка фонарей передних
53205-3714001-10 Установка плафонов
54105-3714002-24 Установка плафона освещения спального места
53205-3714003 Установка плафона освещения вещевого ящика
5320-3715001 Установка подкапотной лампы
43501-3716002 Установка задних фонарей
43118-3716002-85 Установка задних фонарей
43114-3716006 Установка фонаря заднего хода
54112-3716006 Установка фонаря заднего хода
55112-3716006 Установка фонаря заднего хода
55112-3716007 Установка заднего противотуманного фонаря
54112-3716007 Установка фонаря заднего противотуманного
53215-3718001-85 Установка электромеханического корректора
4310-3719101 Установка фонаря подкузовного
5320-3721001-10 Установка звуковых электрических сигналов
53205-3722501 Установка предохранителей
53205-3722501-10 Установка предохранителей
43114-3723001 Установка розетки внешнего запуска
43114-3723002 Установка розетки переносной лампы
43114-3723003-70 Установка розеток прицепа
55112-3723003 Установка розеток прицепа
6350-3723003-22 Установка розеток прицепа
43101-3723005 Установка розетки переносной лампы
53205-3723005 Установка розетки переносной лампы
43114-3723006 Установка розетки переносной лампы
5350-3723501 Установка розетки штепсельной
5320-3726001 Установка сигнального фонаря бокового указателя поворотов
53215-3726001 Установка бокового повторителя указателей поворота
5320-3726002 Установка прерывателя указателей поворота
53215-3726002 Установка прерывателя указателей поворота
4310-3727002 Установка прожектора
43118-3731001 Установка боковых габаритных фонарей на переднем крыле
4326-3731001 Установка боковых габаритных фонарей
54115-3731001 Установка боковых габаритных фонарей на переднем крыле
53215-3731002 Установка задних контурных фонарей
5320-3737001-01 Установка малогабаритного выключателя массы
53205-3738001 Установка фонарей автопоезда
5425-3738002 Установка габаритных фонарей
53205-3741001 Установка электрооборудования подогревателя
53205-3741001-20 Установка электрооборудования подогревателя ПЖД-12
65115-3741004-10 Установка электрооборудования системы подогрева топлива
4310-3743001 Установка противотуманных фар
43118-3747001 Установка реле
53205-3747001-24 Установка реле
6460-3747001-24 Установка реле
6520-3747001 Установка реле
6520-3747001-24 Установка реле
5320-3747195-10 Установка реле блокировки стартера
6460-3747195 Установка электронного реле стартера
6520-3747195 Установка реле блокировки стартера
5350-3759001 Установка преобразователя напряжения
3122.3771 Генератор с проводом
43118-3805010-27 Щиток приборов
43114-3805010-75 Щиток приборов
43114-3805010-91 Щиток приборов
43114-3805010-94 Щиток приборов
43118-3805010-82 Щиток приборов
4326-3805010-33 Щиток приборов
4310-3816001 Установка трубопроводов к шинному манометру
43114-3830001 Установка трубопроводов к манометру
43114-3830002 Установка датчиков аварийного давления воздуха
53215-3859001-24 Установка электрооборудования АБС
4326-2707003 Установка рым-болтов
4310-2707210 Прибор буксирный
4310-2707235 Корпус буксирного прибора с крышкой (комплект)
5320-2707212 Крюк буксирного прибора в сборе
5320-2707213 Крюк с грязеотражателем
5320-2707217 Собачка защелки крюка буксирного прибора
43114-4200008 Установка коробки отбора мощности
43114-4202002-10 Установка управления коробкой отбора мощности
53229-4204008 Установка коробки отбора мощности
4310-4204010 Коробка отбора мощности
4310-4204360 Камера включения коробки отбора мощности
4310-4500002-01 Установка управления коробкой отбора мощности
4326-4500010 Установка лебедки
43114-4500010 Установка лебедки
43501-4500010 Установка лебедки
4326-4501010 Тросоукладчик лебедки, барабан троса и поперечина
4326-4501010 Тросоукладчик лебедки, барабан троса и поперечина
4310-4501014 Редуктор лебедки
4310-4501030 Вал барабана лебедки
4310-4501230 Траверса вала барабана лебедки
4310-4501280 Ролики направляющие троса лебедки в сборе
4310-4501410 Ролик нажимной троса лебедки с рамкой
4326-4502010 Вал карданный лебедки передний
4310-4502010 Вал карданный лебедки передний
43114-4502010-30 Вал карданный лебедки передний
43501-4502010 Вал карданный лебедки передний
4326-4502110 Вал карданный лебедки задний
4310-4502110-01 Вал карданный лебедки задний
43501-4502110 Вал карданный лебедки задний
4326-4502210-01 Вал карданный промежуточный
4310-4502210 Вал карданный промежуточный
4310-4505010 Блок лебедки
4310-4511010 Тросоукладчик лебедки
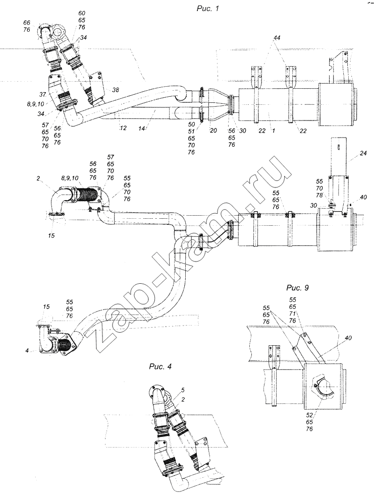
43501-1200002-11
43501-1200002
1
2
2
4
5
8
8
9
9
10
10
12
14
15
15
20
22
22
24
30
30
34
34
37
38
40
40
44
50
51
52
55
55
55
55
55
55
56
56
56
57
57
60
65
65
65
65
65
65
65
65
65
65
65
65
65
66
70
70
70
70
70
71
76
76
76
76
76
76
76
76
76
76
76
76
76
76
76
Поз.
Артикул
Название детали
Кол-во
43501-1200002-11
43501-1200002-11
Установка системы выпуска
;
43501-1200002
43501-1200002
Установка системы выпуска
;
1
6520-1201010
Глушитель выпуска
1;
2
54115-1203010-30
Патрубок приемный
1;
4
54115-1203010-50
Патрубок приемный
1;
5
54115-1203010-60
Патрубок приемный
1;
8
54115-1203012-01
Металлорукав
2;
9
54115-1203012-02
Металлорукав
2;
10
54115-1203012-03
Металлорукав
2;
12
4326-1203014-22
Труба левая
1;
14
4326-1203015-21
Труба правая
1;
15
53215-1203023-01
Прокладка
2;
20
54115-1203035
Тройник
1;
22
54115-1203047
Хомут
2;
24
6350-1203048
Труба выпускная
1;
30
54115-1203020
Прокладка
2;
34
54115-1203023
Прокладка
10;
37
43114-1203030-31
Кронштейн левой трубы
1;
38
4326-1203031-11
Кронштейн правой трубы
1;
40
4326-1203033-01
Кронштейн выпускной трубы
1;
44
54115-1203041
Кронштейн
2;
50
54115-1203060
Хомут
2;
51
54115-1203061
Стремянка
2;
52
6520-1203061
Стремянка
1;
55
1/59709/21
Болт М10х1,25-6gх35
16;
56
1/13070/21
Болт М10х1,25-6gх40
8;
57
1/12347/21
Болт М10х1,25-6gх45
4;
60
1/59724/31
Болт М10х1,25-6gх130
8;
65
1/21647/11
Гайка М10х1,25-6Н
46;
66
1/21647/40
Гайка М10х1,25-6Н
8;
70
1/26386/01
Шайба плоская 10,6х18х2
10;
71
1/26468/01
Шайба плоская 10,2х25х2
2;
76
1/05168/77
Шайба 10 пружинная
50;
Содержащиеся в справочниках-каталогах запасные части и детали не предлагаются к продаже, а носят исключительно информационный характер
Дополнительная информация
×
Название:
Номер:
Примечание:
Войти
Имя пользователя
Пароль
Забыли пароль?
Запомнить меня
Войти
Поиск товаров
Поиск товаров
Корзина покупок