ЗапКам
zap-kam16@yandex.ru
(900) 323-41-41
Вход / Регистрация отключена
Вход
Избранное
0
по запросу
Каталог
Все товары и категории
Запчасти КАМАЗ
Двигатель
Двигатели в сборе
Евро-0
КамАЗ-4310
Урал-4320
КамАЗ-4350
Евро-1
КамАЗ-43114
Евро-2
КамАЗ-43118
КамАЗ-65115
КамАЗ-6520
Евро-3
Евро-4
Евро-5
Газовые
Блоки цилиндров
Блоки цилиндров Евро-0 КамАЗ
Блоки цилиндров Евро-1 КамАЗ
Блоки цилиндров Евро-2 КамАЗ
Блоки цилиндров Евро-3 КамАЗ
Блоки цилиндров Евро-4,5 КамАЗ Common Rail
Сборочные комплекты (лонг-, шорт-блоки)
Блоки управления
Валы коленчатые
Коленвалы Евро-0 КамАЗ
Коленвалы Евро-1 КамАЗ
Коленвалы Евро-2 КамАЗ
Коленвалы Евро-3 КамАЗ
Коленвалы Евро-4,5 КамАЗ Common Rail
Вкладыши коренные
Евро-3,4,5
Евро-0,1,2
Вкладыши шатунные
Евро-3,4,5
Евро-0,1,2
Валы распредительные
ЦПГ – поршневая
Поршневая Евро-4,-5 (740.602)
Поршневая Евро-2,-3 (740.60)
Поршневая Евро-1,-2 (740.30)
Поршневая Евро-0,1 (740)
Кольца поршневые
ТНВД
Евро-4-5 Common Rail
Евро-3
Евро-2
Евро-1
Евро-0
Система питания
Форсунки топливные
Распылители форсунок
Топливозаборники
ГБЦ
Евро-3,4,5 Common Rail
Евро-1,2,3
Евро-0
Газ
Турбокомпрессоры
ТРК Евро-4,5 (однотурбовые)
Евро-4
Евро-3
Евро-2
Евро-1
Насос водяной
Насос масляный
Маховики
Коробка передач
КПП в сборе
Валы
Валы вторичные
Валы первичные
Валы промежуточные
Шестерни
Синхронизаторы
Делители в сборе
Коробка раздаточная
РК в сборе
РК 6522
Дифференциалы
Валы
Валы первичные
Валы промежуточные
Вилки
Шестерни
Механизмы переключения
Трансмиссия
Мосты
Редукторы в сборе
Заднего моста
Переднего моста
Среднего моста
Зубьев
31, 35
50
49
48
47
46
КамАЗ
4310
43114
43118
4326
5320
53205
65115
43253
53229
6520
6522
4308
65111
65116
65117
55102
55111
53212
53215
54115
5410
5511
Мосты в сборе
Передние
Средние
Задние
6520, 6522 (20т)
65115 (15т)
65111 (15т)
43118 (10т)
43114 / 4310 (8т)
53205 Евро (10т)
5320 (8т)
5511 (10т)
МОД
Мадара
Подвеска в сборе
Ось передняя
Ось в сборе
Ходовая часть
Подвеска (тележка) в сборе
Колеса и шины
Рама
Рессоры
Лебедка
Механизмы управления
Отопление и вентиляция
Система выпуска
Сцепление
Тормоза
Кабина
Управление рулевое
Электрооборудование
Автомобили
КАМАЗ 5490
Двигатель 457
Двигатели в сборе
Сцепление
Кабина
Кузов
Мосты
Рама
Система выпуска
Тормоза
Управление рулевое
Ходовая часть
КАМАЗ К5
Двигатели WeiChai
Двигатели в сборе
Двигатели Р6
Двигатели 910 Р6 в сборе
Кабина
Сцепление
Тормоза
Управление рулевое
Электрооборудование
ZF
КПП ZF в сборе
16S EcoSplit
КПП 16s 1820 TO
КПП 16S 2220
9S Ecomid
12AS Astronic
12TX Traxon
Запчасти 12tx Traxon
Cummins
Двигатели в сборе
Блоки цилиндров
Коленвалы
Головки блока
Генератор
Китайские грузовики
Shaanxi HanDe
Fast Gear
Sitrak
Weichai
FAW
Laizhou Tongji
Европейские грузовики
Mercedes
Электрооборудование
Блоки управления
Блоки управления ADM
Блоки управления CPC4
Блоки управления двигателем
Блоки управления электрооборудованием
Датчики
Стартеры
Карданная передача
Карданы КамАЗ
Коробки отбора мощности
Прицепная техника
ССУ (Седла)
Ремонт
Ремонт двигателей
Ремонт КПП Камаз и ZF
Ремонт раздаток и редукторов
Ремонт кабин
Услуги
Комплектация заявок
Скупка запчастей и агрегатов
Контакты
Отправить заявку
Каталоги запчастей к технике
Грузовые
КамАЗ
5490
5490-8401008 Установка облицовочной панели и боковых обтекателей
Поиск
5490-8401008 Установка облицовочной панели и боковых обтекателей
/ КамАЗ 5490
zoom-in
zoom-out
enlarge
shrink
circle-right
circle-left
file-text2
info
cart
Тип техники
Не выбрано
Грузовые
Двигатели
Марка
Не выбрано
DAF
DongFeng
FAW
Foton
HOWO
IVECO
JAC Motors
MAN
Shaanxi
SITRAK
Volvo
Автокомпонент Плюс
ЗИЛ
КАЗ
КамАЗ
Мадара
НефАЗ
СЗАП
Тонар
УралАЗ
Модель
Не выбрано
4308 (2004)
4308 (2008)
4308 (Евро 3) (2013)
4308 (Евро 4) (2012)
4308-C4 (2019)
4308-C4 (2019)
4308-H3 (2019)
4308-R4 (2019)
4310
4310
43101
43114
43118 (2002)
43118 (Евро 4) (2012)
43253 (Часть-1) (2011)
43253 (Часть-2) (2011)
43253, 43255 (Евро-4) (2012)
43255 (Евро-2) (2012)
43255 (Евро-3) (2012)
4326 (2001)
4326 (2003г)
43261 (Евро-1, 2) (2007)
4350 (4х4) (2004)
43501 (4х4) (2007)
43502 (Евро 4) (2013)
45141 (2009)
45142 (2009)
45143 (2009)
5308 (Евро 3) (2012)
5308 (Евро 4) (2013)
5315
5320
53212
53228, 65111 (2004)
53229 (Евро 2) (2010)
5350 (6х6) (2004)
53501 (6х6) (2007)
53504 (6х6) (2007)
5360
53605 (Евро-4) (2013)
5410
54112
5460
5460 (2005)
5490 (2016)
55102
5511 (2003)
6350 (8х8) (2004)
63501 (8х8) (2007)
6450 (8х8) (2007)
6460
6460 (Евро 3, 4) (2013)
6460 (Евро 4) (2013)
65111 (2008)
65111 (Евро 4) (2012)
65115 (2001)
65115 (2009)
65115 (Евро-3) (2013)
65115, 65116 (Евро-4) (2010)
65116 (2006)
6520
6520 (Euro-2, 3) (2009)
6520 (Euro-4) (2012)
6520 (Euro-4) (2016)
65201 (2007)
65201 Евро 2-3 (2016)
6522 (2005)
6522 (Euro-2, 3) (2009)
6522 (Евро-4) (2016)
65226 (2009)
65226 (2013)
6540
KNORR-BREMSE для КамАЗ
Общий (5320, 53212, 5410, 54112, 5511, 55102)
Самосв. установка 6520 (2011)
Схема
>
Не выбрано
5490-1001000-07 Установка кронштейнов силового агрегата
5490-1001005-05 Установка силового агрегата
5490-1001205-05 Установка поддерживающей опоры силового агрегата
5490-1080010 Капотирование нижнее моторного отсека
5490-1080090 Установка кронштейнов шумоизоляционного экрана под двигателем
5490-1100070 Установка топливных баков и топливопроводов
65206-1105005-20 Установка фильтра грубой очистки топлива
65207-1109002-10 Установка воздушного фильтра
65207-1109004 Установка воздухопровода
5490-1200004 Установка системы выпуска на автомобиле
5490-1200004-01 Установка системы выпуска на силовом агрегате
5490-1208001-10 Установка бака нейтрализующей жидкости
5490-1208500-10 Установка подающего модуля
5490-1300023-10 Установка блока охлаждения
5490-1301005-10 Блок охлаждения в сборе
5490-1301005-20 Блок охлаждения
5490-1303300-10 Установка элементов системы охлаждения на двигатель
5490-1303400-10 Установка водяных труб теплообменника интардера
5490-1580004-10 Установка шумоизоляционного экрана нижнего коробки передач
5490-1580090-10 Установка кронштейнов шумоизоляционного экрана под коробкой передач
5490-1600006-10 Установка привода выключения сцепления
20.1600010-80 Установка сцепления
5490-1600300-10 Установка трубок вентиляции
0000-1602009 Установка главного цилиндра сцепления
5490-1703005 Установка привода коробки передач
0000-1703200 Установка опоры рычага переключения передач с крышкой
5490-2200001-20 Установка карданного вала
5490-2400948-10 Мост задний
5490-2800011 Рама в сборе с кронштейнами
5490-2809001 Установка переднего противоподкатного защитного устройства
5490-2900002-45 Установка задней подвески
5490-2900005-45 Установка кронштейнов подвески на раму
65205-2900006 Установка кронштейнов передней подвески
5490-2900101 Рессора передняя со стабилизатором
5490-2902012-15 Рессора передняя
5480-2902542 Серьга со втулкой
5490-2906001 Штанга стабилизатора с кронштейнами и стойками
0000-2950010 Модуль передний
5480-3000012 Ось передняя с тормозами
5480-3000015 Ось передняя
5460-3101702-60 Установка передних стальных колес
5360-3103009-02 Ступица переднего колеса с диском тормоза, подшипниками и манжетой
5360-3103010-02 Ступица переднего колеса с диском тормоза
5460-3101703-61 Установка сдвоенных стальных колес
5460-3101711-60 Колесо 9.00x22,5 стальное с шиной
0000-3400014 Установка колонки рулевого управления
5490-3400012-10 Установка агрегатов рулевого управления
5490-3400018-15 Установка трубопроводов
5490-3400019 Установка бачка и насоса ГУР
0000-3400114 Колонка рулевого управления без подрулевых переключателей
5490-3414010 Тяга сошки
5490-3422008 Вал карданный
5490-3422010 Вал карданный
5490-3422010-02 Вал карданный
5490-3422012 Шарнир со стаканом подшипника
5490-3422030 Шарнир со шлицевым валом
5490-3444006 Колонка с карданным валом
0000-3500014 Установка педального блока
5360-3501011 Тормоз передний
5490-3506050-30 Клапан электромагнитный с фитингами
5490-3506051-30 Клапан электромагнитный с фитингами
5490-3506052-30 Блок электромагнитного клапана с фитингами
5490-3506180-15 Охладитель в сборе с кронштейном
5490-3509000-05 Установка отвода воздуха от компрессора в пневмосистему
5490-3511001-15 Осушитель в сборе с ресивером
5490-3511010-15 Осушитель в сборе с фитингами
5490-3513002-30 Ресивер малый с фитингами
5490-3513002-31 Ресивер малый с фитингами
5490-3513003-30 Блок ресиверов с фитингам
5490-3513005-30 Ресивер в сборе с фитингами
5490-3513006-30 Ресивер с фитингами
5490-3513011-15 Ресивер малый в сборе с фитингами
0000-3514001 Блок педалей с элементами крепления и датчиками
0000-3514005 Блок педалей
0000-3514010 Тормозной кран с фитингами
5490-3542001-30 Блок управления тормозами передней оси
5490-3542003-30 Модулятор передний правый
5490-3542005-30 Модулятор передний левый
5490-3542007-30 Блок управления тормозами второго контура
6580-3703001 Установка ящика с аккумуляторами
6580-3703002 Установка аккумуляторных батарей
6580-3703173 Установка крышки верхней ящика аккумуляторных батарей
6580-3703180 Установка кронштейнов АКБ
0000-3710008 Установка концевого выключателя
5490-3711001-10 Установка фар
0000-3714001 Установка электрооборудования кабины
0000-3715003 Установка освещения подножки
5490-3716002-80 Установка задних фонарей
5490-3721001-10 Установка звуковых сигналов
5490-3723007 Установка парковочной розетки и спирального кабеля
5490-3726001-10 Установка бокового повторителя указателя поворота
5490-3727001 Установка прожектора освещения сцепного устройства
5490-3731001-40 Установка боковых габаритных фонарей на боковой защите
5490-3731001-50 Установка боковых габаритных фонарей на задних крыльях
5490-3731001-60 Установка боковых габаритных фонарей на передних крыльях
5490-3737001-10 Установка малогабаритного выключателя массы
0000-3738001 Установка фонарей автопоезда
0000-3738002 Установка габаритных фонарей
5490-3743001 Установка противотуманных фар
5490-3765002-10 Установка блока управления коммутацией элетрооборудования
0000-4000200 Установка электроники в кабине
0000-4000230 Установка электроники в двери левой
0000-4000240 Установка электроники в двери правой
0000-4000700 Установка электроники в надоконной полке
0000-4000800 Установка электроники на крыши
0000-4000900 Установка электроники на спальном месте
0000-4011100 Установка кронштейнов в панель приборов
5490-4011101-10 Кронштейн блока коммутации
5490-4012001 Установка щитка приборов
0000-4014100 Установка органов управления в панели приборов
0000-4015100 Установка блоков управления в панели приборов
0000-4015101 Установка блоков в блоке коммутации
0000-4017100 Установка реле в блоке реле и предохранителей
0000-4018100 Установка предохранителей в блоке реле и предохранителей
0000-4019220 Установка датчиков в педальном блоке
0000-4023100 Установка розеток
0000-4023101 Установка прикуривателя
0000-4070100 Установка жгута проводов в панели приборов
0000-4070220 Установка жгута проводов в педальном блоке
5490-4015361 Установка блока нейтрализации
5490-4019321 Установка датчика угловых скоростей
5490-4019351 Установка датчиков температуры и влажности
5490-4030010-30 Электромагнитный клапан ECAS с соединительной арматурой
5490-4055002-30 Установка датчика положения кузова
5490-4055010-30 Датчик положения в сборе с кронштейном
0000-5000003 Установка элементов подвески кабины на кабину
0000-5000014 Каркас кабины окрашенный с дверями
0000-5000120 Установка сидений
5490-5000079-25 Установка механизма опрокидывания кабины
5490-5001002-20 Установка кронштейнов опорных
5490-5001009-20 Установка кронштейнов задней подвески нижних
5490-5001410 Кронштейн облицовки правый
5490-5003179-25 Механизм опрокидывания кабины
0000-5205001 Установка стеклоочистителя
0000-5206005 Установка лобового стекла
0000-5208004 Установка бачка омывателя
0000-5300023 Установка панели приборов
0000-5301350 Установка облицовки передних стоек
0000-5310001 Установка панели ручек передка
0000-5325010 Установка панели приборов с оборудованием
0000-5325015 Установка каркаса панели приборов
0000-5325020 Установка верхней панели
0000-5325030 Установка нижней и боковой панели
0000-5325040 Установка декоративных прокладок
0000-5325042 Установка облицовок
0000-5325050 Установка панели проема рулевой колонки
5490-5614090-20 Установка кронштейнов шумоизоляционного экрана над двигателем
5490-5614200-20 Установка шумоизоляционных экранов боковых над двигателем
0000-5713008 Установка вентиляционного люка
0000-6100005 Установка арматуры двери
0000-6105005 Установка фиксаторов замков дверей
0000-6107002 Установка уплотнителя двери
0000-8101010 Установка климатическая
0000-8101030 Кондиционер
0000-8101060 Трубопровод кондиционера
0000-8101070 Фильтр пылевой
5490-8106002 Установка автономного топливного бачка
5490-8106003 Установка жидкостных рукавов
5490-8106005-40 Установка подогревателя
5490-8114025 Установка трубок компрессора
0000-8201002 Установка комплекта зеркал
0000-8202005 Установка поручней
5490-8212180 Установка маркировки светоотражающей на кабине
0000-8213005 Установка надоконной полки
0000-8219002 Установка спальных мест
5490-8400006-10 Установка оперения кабины
0000-8401008 Установка облицовочной панели и боковых обтекателей
0000-8415002 Противосолнечный козырек
0000-8424008 Установка молдингов
5490-8403040-10 Крышка ящика инструментального
5490-8401008 Установка облицовочной панели и боковых обтекателей
5490-8401100 Панель облицовочная верхняя с замками
5490-8401214 Обтекатель правый
5490-8401215 Обтекатель левый
5490-8401217 Панель обтекателя внутренняя правая в сборе с панелью нижней
5490-8401218 Панель обтекателя внешняя правая
5490-8401219 Панель обтекателя внешняя левая
5490-8401308 Панель облицовочная нижняя с логотипом
5490-8401310 Решетка радиаторная с логотипом
5490-8403012-10 Панель передней части переднего крыла с накладкой подножки правая
5490-8403014-10 Панель передней части переднего крыла
5490-8403032-10 Панель средней части переднего крыла правая
5490-8403033-10 Панель средней части переднего крыла левая
5490-8403070-10 Держатель панели крыла правого
5490-8423008 Установка верхних и боковых обтекателей
5490-8403010-30 Установка задней части переднего крыла правая
5490-8403011-30 Установка задней части переднего крыла левая
5490-8403020-30 Задняя часть переднего крыла правая
5490-8403021-30 Задняя часть переднего крыла левая
5490-8404003-20 Установка задних крыльев
5490-8404006-20 Крыло заднее №1 правое
5490-8404007-20 Крыло заднее №1 левое
5460-8404009-50 Крыло заднее верхнее
5490-8404010-20 Крыло заднее №2 правое
5490-8404011-20 Крыло заднее №2 левое
5490-8404055 Установка кронштейнов заднего крыла
5490-8404400-10 Установка настила рамы
5490-8404520 Установка поручня
5490-8405010-10 Установка подножек правая
5490-8405011-10 Установка подножек левая
5490-8405100-10 Щиток подножки с люком правый
5490-8407160(2) Петля
5490-8410003-10 Установка боковой защиты
5490-8416012-10 Установка облицовки буфера
5490-8416014-10(2) Облицовка буфера с накладками
5490-2700001-10 Установка седельно-сцепного устройства
5
10
15
20
25
30
35
40
45
50
55
60
65
70
75
80
85
90
95
100
105
110
110
115
120
125
130
130
130
130
135
135
140
140
145
145
145
145
150
150
150
155
155
155
160
160
160
160
Поз.
Артикул
Название детали
Кол-во
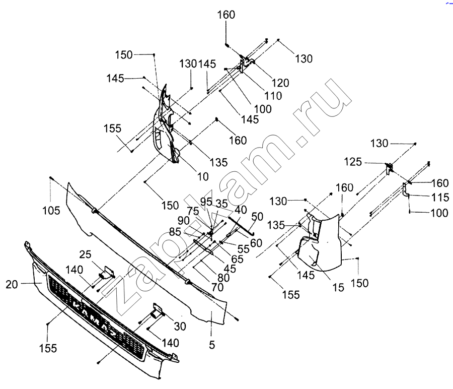
5490-8401008
5490-8401008
Установка облицовочной панели и боковых обтекателей
1;
5
5490-8401100
Панель облицовочная верхняя с замками
1;
10
5490-8401214
Обтекатель правый
1;
15
5490-8401215
Обтекатель левый
1;
20
5490-8401308
Панель облицовочная нижняя с логотипом
1;
25
5490-5001410
Кронштейн облицовки правый
1;
30
5490-5001411
Кронштейн облицовки левый
1;
35
5490-8407160
Петля
1;
40
5410-5406031
Держатель дверцы боковины
1;
45
5490-8401510
Пластина
1;
50
5490-8407152
Упор
1;
55
5320-8407158
Пластина
1;
60
1/09022/21
Болт ТЕМ6-6gх16
3;
65
1/60432/21
Болт М8-6gх16
2;
70
1/58962/11
Гайка ЕМ6-6Н
3;
75
1/05194/01
Шайба плоская 6х12х1,5
1;
80
1/05164/01
Шайба пружинная 6
3;
85
1/05166/01
Шайба пружинная 8
2;
90
260012
Палец 6х20
1;
95
1/07957/01
Шплинт 1,8х10
1;
100
45104777725290
Гайка М6
2;
105
45104777723690
Болт установочный М6х35
2;
110
45104777724690
Кронштейн обтекателя правый
1;
115
45104777724590
Кронштейн обтекателя левый
1;
120
45104777724890
Кронштейн панели правый
1;
125
45104777724790
Кронштейн панели левый
1;
130
45104777817690
Клипса
12;
135
45104777706190
Болт М6х12
4;
140
45104100033890
Болт
4;
145
4510477774490
Винт М5х19
12;
150
45104777817990
Винт самонарезающий М6х19
4;
155
45104777927590
Винт М6х25
4;
160
45104777737790
Гайка М6
4;
Содержащиеся в справочниках-каталогах запасные части и детали не предлагаются к продаже, а носят исключительно информационный характер
Дополнительная информация
×
Название:
Номер:
Примечание:
Войти
Имя пользователя
Пароль
Забыли пароль?
Запомнить меня
Войти
Поиск товаров
Поиск товаров
Корзина покупок