ЗапКам
zap-kam16@yandex.ru
(900) 323-41-41
Вход / Регистрация отключена
Вход
Избранное
0
по запросу
Каталог
Все товары и категории
Запчасти КАМАЗ
Двигатель
Двигатели в сборе
Евро-0
КамАЗ-4310
Урал-4320
КамАЗ-4350
Евро-1
КамАЗ-43114
Евро-2
КамАЗ-43118
КамАЗ-65115
КамАЗ-6520
Евро-3
Евро-4
Евро-5
Газовые
Блоки цилиндров
Блоки цилиндров Евро-0 КамАЗ
Блоки цилиндров Евро-1 КамАЗ
Блоки цилиндров Евро-2 КамАЗ
Блоки цилиндров Евро-3 КамАЗ
Блоки цилиндров Евро-4,5 КамАЗ Common Rail
Сборочные комплекты (лонг-, шорт-блоки)
Блоки управления
Валы коленчатые
Коленвалы Евро-0 КамАЗ
Коленвалы Евро-1 КамАЗ
Коленвалы Евро-2 КамАЗ
Коленвалы Евро-3 КамАЗ
Коленвалы Евро-4,5 КамАЗ Common Rail
Вкладыши коренные
Евро-3,4,5
Евро-0,1,2
Вкладыши шатунные
Евро-3,4,5
Евро-0,1,2
Валы распредительные
ЦПГ – поршневая
Поршневая Евро-4,-5 (740.602)
Поршневая Евро-2,-3 (740.60)
Поршневая Евро-1,-2 (740.30)
Поршневая Евро-0,1 (740)
Кольца поршневые
ТНВД
Евро-4-5 Common Rail
Евро-3
Евро-2
Евро-1
Евро-0
Система питания
Форсунки топливные
Распылители форсунок
Топливозаборники
ГБЦ
Евро-3,4,5 Common Rail
Евро-1,2,3
Евро-0
Газ
Турбокомпрессоры
ТРК Евро-4,5 (однотурбовые)
Евро-4
Евро-3
Евро-2
Евро-1
Насос водяной
Насос масляный
Маховики
Коробка передач
КПП в сборе
Валы
Валы вторичные
Валы первичные
Валы промежуточные
Шестерни
Синхронизаторы
Делители в сборе
Коробка раздаточная
РК в сборе
РК 6522
Дифференциалы
Валы
Валы первичные
Валы промежуточные
Вилки
Шестерни
Механизмы переключения
Трансмиссия
Мосты
Редукторы в сборе
Заднего моста
Переднего моста
Среднего моста
Зубьев
31, 35
50
49
48
47
46
КамАЗ
4310
43114
43118
4326
5320
53205
65115
43253
53229
6520
6522
4308
65111
65116
65117
55102
55111
53212
53215
54115
5410
5511
Мосты в сборе
Передние
Средние
Задние
6520, 6522 (20т)
65115 (15т)
65111 (15т)
43118 (10т)
43114 / 4310 (8т)
53205 Евро (10т)
5320 (8т)
5511 (10т)
МОД
Мадара
Подвеска в сборе
Ось передняя
Ось в сборе
Ходовая часть
Подвеска (тележка) в сборе
Колеса и шины
Рама
Рессоры
Лебедка
Механизмы управления
Отопление и вентиляция
Система выпуска
Сцепление
Тормоза
Кабина
Управление рулевое
Электрооборудование
Автомобили
КАМАЗ 5490
Двигатель 457
Двигатели в сборе
Сцепление
Кабина
Кузов
Мосты
Рама
Система выпуска
Тормоза
Управление рулевое
Ходовая часть
КАМАЗ К5
Двигатели WeiChai
Двигатели в сборе
Двигатели Р6
Двигатели 910 Р6 в сборе
Кабина
Сцепление
Тормоза
Управление рулевое
Электрооборудование
ZF
КПП ZF в сборе
16S EcoSplit
КПП 16s 1820 TO
КПП 16S 2220
9S Ecomid
12AS Astronic
12TX Traxon
Запчасти 12tx Traxon
Cummins
Двигатели в сборе
Блоки цилиндров
Коленвалы
Головки блока
Генератор
Китайские грузовики
Shaanxi HanDe
Fast Gear
Sitrak
Weichai
FAW
Laizhou Tongji
Европейские грузовики
Mercedes
Электрооборудование
Блоки управления
Блоки управления ADM
Блоки управления CPC4
Блоки управления двигателем
Блоки управления электрооборудованием
Датчики
Стартеры
Карданная передача
Карданы КамАЗ
Коробки отбора мощности
Прицепная техника
ССУ (Седла)
Ремонт
Ремонт двигателей
Ремонт КПП Камаз и ZF
Ремонт раздаток и редукторов
Ремонт кабин
Услуги
Комплектация заявок
Скупка запчастей и агрегатов
Контакты
Отправить заявку
Каталоги запчастей к технике
Грузовые
КамАЗ
6520 (Euro-4)
53205-3723005 Установка розетки переносной лампы
Поиск
53205-3723005 Установка розетки переносной лампы
/ КамАЗ 6520 (Euro-4)
zoom-in
zoom-out
enlarge
shrink
circle-right
circle-left
file-text2
info
cart
Тип техники
Не выбрано
Грузовые
Двигатели
Марка
Не выбрано
DAF
DongFeng
FAW
Foton
HOWO
IVECO
JAC Motors
MAN
Shaanxi
SITRAK
Volvo
Автокомпонент Плюс
ЗИЛ
КАЗ
КамАЗ
Мадара
НефАЗ
СЗАП
Тонар
УралАЗ
Модель
Не выбрано
4308 (2004)
4308 (2008)
4308 (Евро 3) (2013)
4308 (Евро 4) (2012)
4308-C4 (2019)
4308-C4 (2019)
4308-H3 (2019)
4308-R4 (2019)
4310
4310
43101
43114
43118 (2002)
43118 (Евро 4) (2012)
43253 (Часть-1) (2011)
43253 (Часть-2) (2011)
43253, 43255 (Евро-4) (2012)
43255 (Евро-2) (2012)
43255 (Евро-3) (2012)
4326 (2001)
4326 (2003г)
43261 (Евро-1, 2) (2007)
4350 (4х4) (2004)
43501 (4х4) (2007)
43502 (Евро 4) (2013)
45141 (2009)
45142 (2009)
45143 (2009)
5308 (Евро 3) (2012)
5308 (Евро 4) (2013)
5315
5320
53212
53228, 65111 (2004)
53229 (Евро 2) (2010)
5350 (6х6) (2004)
53501 (6х6) (2007)
53504 (6х6) (2007)
5360
53605 (Евро-4) (2013)
5410
54112
5460
5460 (2005)
5490 (2016)
55102
5511 (2003)
6350 (8х8) (2004)
63501 (8х8) (2007)
6450 (8х8) (2007)
6460
6460 (Евро 3, 4) (2013)
6460 (Евро 4) (2013)
65111 (2008)
65111 (Евро 4) (2012)
65115 (2001)
65115 (2009)
65115 (Евро-3) (2013)
65115, 65116 (Евро-4) (2010)
65116 (2006)
6520
6520 (Euro-2, 3) (2009)
6520 (Euro-4) (2012)
6520 (Euro-4) (2016)
65201 (2007)
65201 Евро 2-3 (2016)
6522 (2005)
6522 (Euro-2, 3) (2009)
6522 (Евро-4) (2016)
65226 (2009)
65226 (2013)
6540
KNORR-BREMSE для КамАЗ
Общий (5320, 53212, 5410, 54112, 5511, 55102)
Самосв. установка 6520 (2011)
Схема
>
Не выбрано
6520-1000261-41 Агрегат силовой, укомплектованный для установки на автомобиль
6520-1001000-60 Установка кронштейнов силового агрегата
6520-1001005-60 Установка силового агрегата
65115-1015265-10 Бачок топливный
5320-1015384-10 Кран
6520-1080010-30 Капотирование нижнее моторного отсека
4308-1009001 Установка деталей крепления указателя уровня масла
6520-1100075 Установка топливного бака, ФГОТ и топливопроводов
53215-1101010-05 Бак топливный
53215-1103001 Установка крышки топливного бака
6520-1109001-80 Установка воздушного фильтра
6520-1109003-60 Установка воздухозаборника
6520-1109400-61 Воздухозаборник с уплотнителем
65201-1200004-34 Установка системы выпуска
6520-1208050 Установка системы нейтрализации
65115-1208055-20 Бак нейтрализующей жидкости в сборе с кронштейном
65115-1208650-40 Клапан
6520-1308005-90 Установка вентилятора с вязкостной муфтой
6520-1300023-65 Установка блока охлаждения
6520-1301005-65 Блок охлаждения
6520-1311005-30 Установка бачка расширительного
65224-1301500-30 Установка кожуха защитного радиатора
6520-1322005-40 Установка фильтра охлаждающей жидкости
6520-1580004 Установка шумоизоляционного экрана КПП
20.1600010-30 Сцепление
5460-1600006-19 Установка педали и привода выключения сцепления
5460-1602008 Педаль сцепления с кронштейном и главным цилиндром
6460-1602010 Педаль сцепления
5320-1602510-10 Главный цилиндр управления сцеплением
5320-1602560 Бачок главного цилиндра привода сцепления
6520-1700005 Установка коробки передач на двигатель
6460-1772005-04 Установка пневмопривода управлением переключения передач
6520-1703005-60 Привод управления механизмом переключения передач
53602-1703204 Опора рычага переключения передач
6520-1703325-60 Тяга
6520-1703520-20 Тяга реактивная
6460-1703520 Тяга реактивная
6520-2200001-75 Установка карданных валов
6520-2400015-10 Мост задний
6520-2401007 Картер моста заднего с механизмом блокировки
55102-2409016 Вилка блокировки
43081-2401114 Сапун
6520-2402011-10 Передача главная заднего моста
6520-2402015 Картер редуктора заднего моста
6520-2402076 Крышка подшипника
6520-2402050-01 Крышка подшипника
6520-2403011-10 Дифференциал моста заднего
53212-2403054 Сателлит дифференциала заднего моста с втулкой
6520-2405024 Водило с кожухом и сателлитами
6520-2405061 Шестерня ведомая колесной передачи
6520-2402021-10 Шестерня ведущая коническая
6520-2500011-10 Мост средний
6520-2502011-10 Передача главная среднего моста
6520-2502015 Картер редуктора среднего моста
6520-2503011-10 Дифференциал моста среднего
6520-2506010 Межосевой дифференциал среднего моста
6520-2506054 Сателлит межосевого дифференциала со втулкой
5320-2511060 Кран включения блокировки
6520-2800010-58 Рама
6520-2804003-30 Установка заднего буфера
6520-2806040 Установка буксирной вилки
6520-2806046 Вилка буксирная с пружиной
6520-2900001-50 Установка передней подвески
6520-2902012-20 Рессора передняя
65115-2905535 Кронштейн амортизатора левый
65115-2906070 Кронштейн стабилизатора
6520-2900002 Установка задней подвески
6520-2912012 Рессора задняя
6520-2918050 Кронштейн балансира с осью
6520-2918068 Башмак рессоры с втулками и манжетой
6520-3000012 Ось передняя с тормозами
6520-3000015 Ось передняя
6520-3001012 Кулак поворотный
65205-3101002 Установка передних колес
65205-3101003 Установка сдвоенных колес
65205-3101011 Колесо с шиной
6520-3103009 Ступица переднего колеса с барабаном, подшипником и манжетой
6520-3103010 Ступица с тормозным барабаном
6520-3104009 Ступица заднего колеса с манжетами
6520-3104012 Ступица заднего колеса с болтами
6520-3105010-10 Держатель запасного колеса
6520-3400002-19 Установка рулевого колеса
5460-3400002-19 Установка рулевого колеса
6520-3400004-40 Установка колонки рулевого управления
6520-3406014-19 Установка крана регулировки рулевой колонки
6520-3444006-30 Колонка рулевого управления с карданным валом
6520-3444075-19 Колонка рулевого управления с кронштейном
6520-3444008-19 Колонка рулевого управления
6520-3444010-19 Колонка рулевого управления
6520-3422008-30 Вал карданный
6520-3422010-30 Вал карданный
6520-3422014-30 Шарнир с втулкой
6520-3422012-30 Шарнир с корпусом подшипника
6520-3400012-35 Установка рулевого механизма
6520-3400012-40 Установка рулевого механизма
6520-3414010-40 Тяга сошки с наконечниками
6520-3414011-40 Тяга с наконечником
6520-3400018-35 Установка трубопроводов и бачка насоса ГУР
6520-3400018-36 Установка трубопроводов и бачка насоса ГУР
6520-3400019-35 Установка насоса ГУР
6520-3414052 Тяга
6520-3500006-01 Установка пневмопривода тормозов
5460-3500080-05 Установка пневмопривода в кабине
6520-3500014-34 Установка двухсекционного тормозного крана
5320-3514108 Кран тормозной двухсекционный с педалью
100-3514108-10 Кран тормозной двухсекционный
16-3515310 Клапан контрольного вывода
6520-3500013-01 Установка ресиверов
6520-3506001 Установка блока управления тормозами передней оси
6520-3542005 Блок модуляторов АБС
6520-3570010 Электромагнитный клапан с фитингами
6520-3506002 Установка блока управления тормозами задней тележки
6520-3518010-82 Блок управления тормозами задней тележки
5350-3518001-01 Ускорительный клапан с глушителем
2233-3518010-20 Ускорительный клапан с глушителем
16-3515310 Клапан контрольного вывода
6520-3542007-80 Блок управления тормозами второго контура
65201-3506170-02 Установка охладителя
6520-3501011-12 Тормоз передний
6520-3502011-12 Тормоз задний
6520-3501090-41 Колодка тормоза с накладками
6520-3501090-40 Колодка тормоза с накладками
6520-3502128 Кронштейн с втулками
6520-3501012 Суппорт тормоза
6520-3501121 Кронштейн тормозной камеры и разжимного кулака
6520-3541110 Датчик скорости с кронштейном
53205-3541109-01 Датчик скорости с втулкой
100-3537110 Кран аварийного растормаживания в сборе
5308-3570010 Корпус вспомогательного тормоза с пневмоцилиндром
53205-3570205 Пневмоцилиндр вспомогательного тормоза
53215-3570210 Цилиндр пневматический ф35х65
6520-3700011-56 Светотехника на автомобиле
6520-3700011-56 Электрооборудование. Расположение на автомобиле
6520-3700060-56 Электрооборудование. Расположение на панели приборов
53605-3703001-30 Установка аккумуляторных батарей
6540-3710001-55 Установка выключателей
5308-3710004 Установка выключателя аккумуляторной батареи
6520-3718001 Установка блока управления корректором фар
5320-3721001-10 Установка звуковых электрических сигналов
65115-3722002 Установка блока предохранителей
4308-3722001-30 Установка предохранителей
53205-3723005 Установка розетки переносной лампы
6540-3737001 Установка выключателя массы
65115-3724002-61 Установка проводов на панели приборов
65228-3741001 Установка электрооборудования подогревателя
65115-3741016-70 Установка электрооборудования системы подогрева топлива на панели приборов
65115-3741018 Установка электрооборудования обогрева зеркал на кабине
4308-3747001-50 Установка реле
65115-3741017 Установка оборудования обогрева зеркал
53215-3700005 Установка электрооборудования на козырьке
65115-3738002 Установка габаритных фонарей
65115-3741300 Установка контактора подогревателя воздуха
5308-3802001 Пломбировка спидометра
4308-3830005 Установка датчиков указателя давления воздуха
5308-3805001 Установка щитка приборов
53205-3830002 Установка датчиков аварийного давления воздуха
65115-3840001 Установка тахографа
6520-4000012-30 АБС. Расположение на автомобиле
43253-4000120-10 АБС. Расположение на панели приборов
43253-4000220-10 АБС. Расположение на кабине
6520-4000320-30 Управление АБС с функцией ПБС. Расположение на шасси
6520-4000010-25 Система управления двигателем. Расположение на автомобиле.
6520-4000100-24 Система управления двигателем. Расположение на панели приборов
6520-4000200-24 Система управления двигателем. Расположение на кабине.
65201-5000007-10 Установка подвески кабины и ограничителя подъема кабины. Условная сборочная единица.
65201-5001006-10 Установка задней подвески кабины
65201-5000003 Установка передней подвески кабины
65201-5002051-10 Установка ограничителя подъма кабины
6520-5000014-83 Кабина с дверями окрашенная
6520-5000079-50 Установка механизма опрокидывания кабины
65222-5000090 Установка пробок и заглушек на кабине
65222-5000100 Установка термошумоизоляции и обивки кабины
5460-5000121 Установка сиденья водителя
5460-5000122 Установка сиденья пассажира
5460-5000123 Установка среднего сиденья
6460-5000080 Установка заглушек на крыше
4308-5109001 Установка ковров и термошумоизоляции пола
53205-5101250 Установка облицовок порогов
6520-5205001 Установка стеклоочистителя
65115-5206005 Установка ветровых стекол
65115-5208004 Установка омывателя
6560-5300023-10 Установка панели приборов
6560-5325300 Установка панели приборов
6522-5325160 Установка поручней панели приборов
53205-5310001 Установка ручки передка
65115-5603005 Установка стекол окна задка
6520-5614200-40 Установка шумоизоляционного экрана над двигателем
53205-5713008 Установка вентиляционного люка крыши
65115-6100005 Установка стекол и арматуры двери
53205-6100015 Дверь левая
53205-6100014 Дверь правая
65115-6102005 Установка обивок двери
65115-6103005 Установка форточек двери
65115-6104005 Установка стеклоподъемников двери
5320-6105011 Установка замков и ручек двери левая
5320-6105150 Ручка двери наружная
5320-6105080 Привод замка двери правый в сборе
65115-6105011 Установка замков и ручек двери левая
65115-6110005 Установка опускных стекол
65115-6114005 Установка подлокотников двери
54115-6800900-02 Схема подключения пневмосистемы сидений
6460-6800900-02 Схема подключения пневмосистемы сидений
4308-7900010 Радиооборудование. Расположение на панели приборов
4308-7900020 Радиооборудование. Расположение на кабине
4308-8100005 Установка системы отопления кабины
5320-8105160-01 Кран отопления
5320-8118027 Улитка вентилятора с распределителем левая
6520-8106002-38 Установка топливного бачка и топливопроводов подогревателя
6520-8106003-38 Установка жидкостных рукавов
6520-8106005-92 Установка подогревателя и электронасоса
5320-8105010 Кран сливной
6520-8212008-01 Установка заводских боковых знаков
5460-8201002-01 Установка зеркал заднего вида
6522-8202005 Установка поручней входа
53205-8212300 Установка окантовок и уплотнителей
65115-8212180 Установка маркировки светоотражающей на кабине
65115-8213005 Установка надоконных полок
65115-8217005-01 Установка ремня безопасности водителя
43255-8400006 Установка оперения кабины
63501-8401009 Установка облицовочной панели
6520-8401010 Панель облицовочная
6520-8403010-42 Установка задней части переднего крыла правая
6520-8403011-42 Установка задней части переднего крыла левая
6520-8404005-15 Установка задних крыльев
6520-8410003-71 Установка боковой защиты
53205-8415002 Установка аэродинамического козырька
65222-8416009 Нижний пояс «Рестайлинг».Условная сборочная единица
65222-8416009-50 Нижний пояс «Рестайлинг».Условная сборочная единица
5460-8416012-10 Установка облицовки буфера
5460-8416012-50 Установка облицовки буфера
65222-8405011 Установка подножек левая
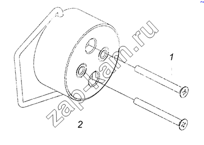
1
2
2
2
Поз.
Артикул
Название детали
Кол-во
53205-3723005
53205-3723005
Установка розетки переносной лампы
1;
532157-3723005
532157-3723005
Установка розетки переносной лампы
1;
1
231514
Болт М3-6gх32
2;
2
3424913021
Розетка штепсельная 47К
1;
2
3424913023
Розетка штепсельная 47К-Т ТУ1 6-526.359-74
1;
Содержащиеся в справочниках-каталогах запасные части и детали не предлагаются к продаже, а носят исключительно информационный характер
Дополнительная информация
×
Название:
Номер:
Примечание:
Войти
Имя пользователя
Пароль
Забыли пароль?
Запомнить меня
Войти
Поиск товаров
Поиск товаров
Корзина покупок