Установка пневмотормозов
/ КамАЗ 65226

1
2
3
4
6
8
9
11
11
14
14
14
14
15
16
16
17
18
19
22
22
25
25
27
27
28
28
30
30
31
31
31
32
33
33
35
35
36
37
38
38
40
40
41
42
43
44
44
45
45
45
51
57
58
60
60
61
61
70
72
73
74
75
75
75
85
85
87
90
90
91
92
93
93
94
95
96
96
96
97
97
99
100
125
125
125
125
125
126
126
126
128
129
130
130
131
131
131
131
131
131
135
140
140
140
142
144
145
147
147
147
150
156
157
157
157
157
157
160
160
164
164
171
172
172
172
172
172
173
173
173
173
174
177
179
183
186
186
186
187
187
189
191
192
192
193
193
193
194
195
195
197
198
198
200
201
202
203
203
203
204
205
206
207
211
214
214
214
214
215
220
222
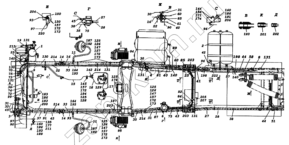
Поз. | Артикул | Название детали | Кол-во | |
---|---|---|---|---|
1 | 6522-3500011-96 | Установка осушителя | 1; | |
2 | 6522-3500013-99 | Установка воздушных ресиверов | 1; | |
3 | 6520-3500014 | Установка двухсекционного тормозного крана | 1; | |
4 | 6520-3500015 | Установка четырехконтурного защитного клапана | 1; | |
5 | 65226-3500018 | Установка ускорительного клапана | 1; | |
6 | 5410-3500022-10 | Установка клапанов управления тормозами прицепа | 1; | |
7 | 6520-3500033 | Установка регулятора тормозных сил | 1; | |
8 | 6522-3500062-99 | Установка двухмагистрального клапана | 1; | |
9 | 65226-3506180 | Охладитель | 1; | |
10 | 6520-3506060 | Шланг гибкий соединительный | 1; | |
11 | 5320-3506060-10 | Шланг гибкий | 2; | |
12 | 54112-3506060 | Шланг гибкий | 6; | |
13 | 65226-3506500-99 | Установка пневмовыводов к полуприцепу | 1; | |
14 | 6460-3500042-42 | Установка модуляторов АБС тягач | 1; | |
14 | 6460-3500042-23 | Установка модуляторов АБС тягач | 1; | |
14 | 6460-3500042-46 | Установка модуляторов АБС тягач | 1; | |
15 | 65226-3506190 | Трубка | 1; | |
16 | 53215-3506300 | Трубка | 1; | |
17 | 6522-3506190-02 | Трубка | 1; | |
18 | 6522-3506190-03 | Трубка | 1; | |
19 | 53205-3506046 | Трубка | 1; | |
22 | 53215-3506330 | Трубка | 1; | |
25 | 53205-3506430 | Втулка трубки | 1; | |
27 | 53215-3506067 | Трубка | 1; | |
28 | 53215-3506110 | Трубка | 1; | |
30 | 53215-3506125 | Трубка | 1; | |
31 | 53215-3506620 | Трубка | 1; | |
32 | 53215-3506080 | Трубка | 1; | |
33 | 53215-3506040 | Трубка | 2; | |
35 | 53215-3506214 | Трубка | 1; | |
36 | 53215-3506170 | Трубка | 1; | |
37 | 53215-3506076 | Трубка | 1; | |
38 | 53205-3506240 | Трубка | 1; | |
40 | 53215-3506067 | Трубка | 1; | |
41 | 53215-3506024 | Трубка | 1; | |
42 | 53215-3506030 | Трубка | 1; | |
43 | 53215-3506386 | Трубка | 1; | |
44 | 53215-3506186 | Трубка | 1; | |
45 | 53205-3506327 | Держатель пучка проводов | 1; | |
46 | 53215-3506195 | Трубка | 1; | |
47 | 53215-3506110 | Трубка | 2; | |
48 | 53215-3506040 | Трубка | 2; | |
49 | 53215-3506156 | Трубка | 1; | |
50 | 53215-3506030 | Трубка | 1; | |
51 | 53215-3506235 | Трубка | 1; | |
52 | 53215-3506080 | Трубка | 1; | |
53 | 53215-3506060 | Трубка | 1; | |
55 | 53215-3506150 | Трубка | 1; | |
57 | 53215-3506040 | Трубка | 4; | |
58 | 53215-3506045 | Трубка | 1; | |
60 | 53215-3506186 | Трубка | 1; | |
61 | 53215-3506168 | Трубка | 1; | |
62 | 53215-3506090 | Трубка в сборе | 1; | |
63 | 53215-3506156 | Трубка | 1; | |
64 | 53215-3506110 | Трубка | 1; | |
65 | 53215-3506060 | Трубка | 2; | |
70 | 53205-3506497 | Трубка | 1; | |
71 | 53205-3506085 | Трубка | 1; | |
72 | 53205-3506085 | Трубка | 1; | |
73 | 53205-3506698 | Трубка | 1; | |
74 | 53205-3506085 | Трубка | 1; | |
75 | 53205-3506275 | Трубка подвода воздуха | 1; | |
85 | 53205-3506105 | Трубка подвода воздуха | 1; | |
87 | 53205-3506234 | Трубка | 1; | |
90 | 6520-3506390 | Трубка | 1; | |
91 | 53205-3506214 | Трубка | 1; | |
92 | 53205-3506050 | Трубка | 1; | |
93 | 53205-3570162 | Трубка | 1; | |
94 | 6522-3570194 | Трубка | 1; | |
95 | 6522-3570196 | Трубка | 1; | |
96 | 53205-3506055 | Трубка | 1; | |
97 | 53205-3570078 | Трубка подвода воздуха в сборе | 1; | |
98 | 53205-3506055 | Трубка | 1; | |
99 | 65226-3570078 | Трубка | 1; | |
100 | 864000-10 | Клапан предохранительный крышки в сборе | 1; | |
125 | 53205-3506430 | Втулка трубки | 27; | |
126 | 5320-3506432 | Скоба | 27; | |
127 | 6522-3506019 | Кронштейн крепления шлангов | 1; | |
128 | 53205-8120032 | Кронштейн | 2; | |
129 | 6522-3506025 | Гайка накидная | 2; | |
130 | 53205-3506431 | Лента спиральная 22х18х19 ТУ 22-45-001-10841338-93 | 35; | |
131 | 53205-3506433 | Лента спиральная 12х9х11 ТУ 22-45-001-10841338-93 | 35; | |
132 | 6520-3506019 | Кронштейн крепления шлангов | 2; | |
133 | 6520-3506088 | Кронштейн | 2; | |
134 | 6520-3506016 | Тройник фланцевый проходной | 2; | |
135 | 100-3537139 | Гайка М26х1,5-6Н | 1; | |
136 | 6522-3506088 | Кронштейн крепления шлангов | 1; | |
137 | 65226-3506420 | Переходник | 1; | |
139 | 5320-3724048 | Держатель заднего правого пучка проводов | 1; | |
140 | 5320-3703301 | Втулка проходная | 5; | |
141 | 5320-3724049 | Держатель заднего левого пучка проводов | 1; | |
142 | 6522-3506470 | Тройник проходной | 1; | |
143 | 6522-3506450 | Штуцер проходной | 2; | |
144 | 1/10304/21 | Болт М6-6gх75 | 2; | |
145 | 1/60434/21 | Болт М8-6gх20 | 8; | |
146 | 1/60438/21 | Болт М8-6gх30 | 12; | |
147 | 1/60439/21 | Болт М8-6gх35 | 12; | |
148 | 1/60440/21 | Болт М8-6gх40 | 4; | |
150 | 1/60444/21 | Болт М8-6gх60 | 2; | |
155 | 1/33013/01 | Винт М6-6gх16 | 2; | |
156 | 1/58962/11 | Гайка ЕМ6-6Н | 4; | |
157 | 1/61008/11 | Гайка М8х1,25-6Н | 34; | |
160 | 1/07912/11 | Гайка низкая М12х1,5-6Н | 2; | |
161 | 1/07913/11 | Гайка низкая М14х1,5-6Н | 3; | |
162 | 1/07914/11 | Гайка низкая М16х1,5-6Н | 8; | |
163 | 1/07266/11 | Гайка низкая М18х1,5-6Н | 1; | |
164 | 1/07267/11 | Гайка низкая М20х1,5-6Н | 8; | |
171 | 1/05164/77 | Шайба 6 пружинная | 4; | |
172 | 1/05166/77 | Шайба 8 пружинная | 36; | |
173 | 1/05196/01 | Шайба плоская 8х17 | 24; | |
174 | 1/26437/01 | Шайба плоская 6,15х18х1,5 | 2; | |
177 | 1/05208/01 | Шайба плоская 30х54 | 1; | |
179 | 853931 | Скоба | 2; | |
180 | 853938 | Скоба | 4; | |
181 | 864894 | Штуцер ввертный | 1; | |
182 | 864896 | Штуцер ввертный | 4; | |
183 | 853962 | Переходник ввертный | 1; | |
184 | 861035 | Тройник | 1; | |
185 | 853975 | Штуцер 8 проходной | 3; | |
186 | 861022 | Шайба 10 | 7; | |
187 | 861023 | Шайба | 12; | |
188 | 853979 | Штуцер ввертный 8 | 3; | |
189 | 861328 | Угольник | 1; | |
190 | 861004 | Угольник | 5; | |
191 | 864204 | Кольцо уплотнительное | 3; | |
192 | 864236 | Кольцо уплотнительное | 12; | |
193 | 864273 | Кольцо уплотнительное | 66; | |
194 | 864411-01 | Хомут | 2; | |
195 | 864825 | Угольник фланцевый проходной | 7; | |
196 | 864826 | Тройник фланцевый проходной | 1; | |
197 | 864920 | Тройник 6 проходной | 1; | |
198 | 864921 | Тройник 12 проходной | 4; | |
199 | 864880 | Штуцер фланцевый проходной | 1; | |
200 | 864892 | Тройник ввертной симметричный | 1; | |
201 | 864221 | Кольцо уплотнительное толкателя | 26; | |
202 | 864269 | Кольцо уплотнительное | 8; | |
203 | 864919 | Тройник проходной | 3; | |
204 | 864870 | Штуцер ввертный | 1; | |
205 | 853978 | Штуцер ввертный | 1; | |
206 | 861001 | Угольник ввертный | 1; | |
207 | 1/02800/60 | Прокладка уплотнительная 14х20х1,5 | 1; | |
208 | 863425 | Прокладка 22х28х1,5 | 1; | |
210 | 16-3515310 | Клапан контрольного вывода в сборе | 2; | |
211 | 8002-3537110 | Кран пневматический | 1; | |
213 | 45 104353710090 | Кран тормозной обратного действия с ручным управлением 961.723.100.0 | 1; | |
214 | 2108-3401228 | Хомут | 18; | |
215 | 16-3515510 | Кран экстренного растормаживания в сборе | 1; | |
220 | 45 104354200100 | Клапан электромагнитный 7Д 3.254.022-10 | 1; | |
221 | 45 104354208990 | Клапан электромагнитный 0501001470 | 1; | |
222 | 45 104354208890 | Клапан электромагнитный 0501310031 | 1; | |
225 | 45 104357000190 | Тормоз вспомогательный 0418-8283 | 2; | |
226 | 45 104357000290 | Уплотнение 0418-2759 | 4; |
Содержащиеся в справочниках-каталогах запасные части и детали не предлагаются к продаже, а носят исключительно информационный характер