ЗапКам
zap-kam16@yandex.ru
(900) 323-41-41
Вход / Регистрация отключена
Вход
Избранное
0
по запросу
Каталог
Все товары и категории
Запчасти КАМАЗ
Двигатель
Двигатели в сборе
Евро-0
КамАЗ-4310
Урал-4320
КамАЗ-4350
Евро-1
КамАЗ-43114
Евро-2
КамАЗ-43118
КамАЗ-65115
КамАЗ-6520
Евро-3
Евро-4
Евро-5
Газовые
Блоки цилиндров
Блоки цилиндров Евро-0 КамАЗ
Блоки цилиндров Евро-1 КамАЗ
Блоки цилиндров Евро-2 КамАЗ
Блоки цилиндров Евро-3 КамАЗ
Блоки цилиндров Евро-4,5 КамАЗ Common Rail
Сборочные комплекты (лонг-, шорт-блоки)
Блоки управления
Валы коленчатые
Коленвалы Евро-0 КамАЗ
Коленвалы Евро-1 КамАЗ
Коленвалы Евро-2 КамАЗ
Коленвалы Евро-3 КамАЗ
Коленвалы Евро-4,5 КамАЗ Common Rail
Вкладыши коренные
Евро-3,4,5
Евро-0,1,2
Вкладыши шатунные
Евро-3,4,5
Евро-0,1,2
Валы распредительные
ЦПГ – поршневая
Поршневая Евро-4,-5 (740.602)
Поршневая Евро-2,-3 (740.60)
Поршневая Евро-1,-2 (740.30)
Поршневая Евро-0,1 (740)
Кольца поршневые
ТНВД
Евро-4-5 Common Rail
Евро-3
Евро-2
Евро-1
Евро-0
Система питания
Форсунки топливные
Распылители форсунок
Топливозаборники
ГБЦ
Евро-3,4,5 Common Rail
Евро-1,2,3
Евро-0
Газ
Турбокомпрессоры
ТРК Евро-4,5 (однотурбовые)
Евро-4
Евро-3
Евро-2
Евро-1
Насос водяной
Насос масляный
Маховики
Коробка передач
КПП в сборе
Валы
Валы вторичные
Валы первичные
Валы промежуточные
Шестерни
Синхронизаторы
Делители в сборе
Коробка раздаточная
РК в сборе
РК 6522
Дифференциалы
Валы
Валы первичные
Валы промежуточные
Вилки
Шестерни
Механизмы переключения
Трансмиссия
Мосты
Редукторы в сборе
Заднего моста
Переднего моста
Среднего моста
Зубьев
31, 35
50
49
48
47
46
КамАЗ
4310
43114
43118
4326
5320
53205
65115
43253
53229
6520
6522
4308
65111
65116
65117
55102
55111
53212
53215
54115
5410
5511
Мосты в сборе
Передние
Средние
Задние
6520, 6522 (20т)
65115 (15т)
65111 (15т)
43118 (10т)
43114 / 4310 (8т)
53205 Евро (10т)
5320 (8т)
5511 (10т)
МОД
Мадара
Подвеска в сборе
Ось передняя
Ось в сборе
Ходовая часть
Подвеска (тележка) в сборе
Колеса и шины
Рама
Рессоры
Лебедка
Механизмы управления
Отопление и вентиляция
Система выпуска
Сцепление
Тормоза
Кабина
Управление рулевое
Электрооборудование
Автомобили
КАМАЗ 5490
Двигатель 457
Двигатели в сборе
Сцепление
Кабина
Кузов
Мосты
Рама
Система выпуска
Тормоза
Управление рулевое
Ходовая часть
КАМАЗ К5
Двигатели WeiChai
Двигатели в сборе
Двигатели Р6
Двигатели 910 Р6 в сборе
Кабина
Сцепление
Тормоза
Управление рулевое
Электрооборудование
ZF
КПП ZF в сборе
16S EcoSplit
КПП 16s 1820 TO
КПП 16S 2220
9S Ecomid
12AS Astronic
12TX Traxon
Запчасти 12tx Traxon
Cummins
Двигатели в сборе
Блоки цилиндров
Коленвалы
Головки блока
Генератор
Китайские грузовики
Shaanxi HanDe
Fast Gear
Sitrak
Weichai
FAW
Laizhou Tongji
Европейские грузовики
Mercedes
Электрооборудование
Блоки управления
Блоки управления ADM
Блоки управления CPC4
Блоки управления двигателем
Блоки управления электрооборудованием
Датчики
Стартеры
Карданная передача
Карданы КамАЗ
Коробки отбора мощности
Прицепная техника
ССУ (Седла)
Ремонт
Ремонт двигателей
Ремонт КПП Камаз и ZF
Ремонт раздаток и редукторов
Ремонт кабин
Услуги
Комплектация заявок
Скупка запчастей и агрегатов
Контакты
Отправить заявку
Каталоги запчастей к технике
Грузовые
КамАЗ
6522 (Euro-2, 3)
7406.1115030-20 Патрубок соединительный
Поиск
7406.1115030-20 Патрубок соединительный
/ КамАЗ 6522 (Euro-2, 3)
zoom-in
zoom-out
enlarge
shrink
circle-right
circle-left
file-text2
info
cart
Тип техники
Не выбрано
Грузовые
Двигатели
Марка
Не выбрано
DAF
DongFeng
FAW
Foton
HOWO
IVECO
JAC Motors
MAN
Shaanxi
SITRAK
Volvo
Автокомпонент Плюс
ЗИЛ
КАЗ
КамАЗ
Мадара
НефАЗ
СЗАП
Тонар
УралАЗ
Модель
Не выбрано
4308 (2004)
4308 (2008)
4308 (Евро 3) (2013)
4308 (Евро 4) (2012)
4308-C4 (2019)
4308-C4 (2019)
4308-H3 (2019)
4308-R4 (2019)
4310
4310
43101
43114
43118 (2002)
43118 (Евро 4) (2012)
43253 (Часть-1) (2011)
43253 (Часть-2) (2011)
43253, 43255 (Евро-4) (2012)
43255 (Евро-2) (2012)
43255 (Евро-3) (2012)
4326 (2001)
4326 (2003г)
43261 (Евро-1, 2) (2007)
4350 (4х4) (2004)
43501 (4х4) (2007)
43502 (Евро 4) (2013)
45141 (2009)
45142 (2009)
45143 (2009)
5308 (Евро 3) (2012)
5308 (Евро 4) (2013)
5315
5320
53212
53228, 65111 (2004)
53229 (Евро 2) (2010)
5350 (6х6) (2004)
53501 (6х6) (2007)
53504 (6х6) (2007)
5360
53605 (Евро-4) (2013)
5410
54112
5460
5460 (2005)
5490 (2016)
55102
5511 (2003)
6350 (8х8) (2004)
63501 (8х8) (2007)
6450 (8х8) (2007)
6460
6460 (Евро 3, 4) (2013)
6460 (Евро 4) (2013)
65111 (2008)
65111 (Евро 4) (2012)
65115 (2001)
65115 (2009)
65115 (Евро-3) (2013)
65115, 65116 (Евро-4) (2010)
65116 (2006)
6520
6520 (Euro-2, 3) (2009)
6520 (Euro-4) (2012)
6520 (Euro-4) (2016)
65201 (2007)
65201 Евро 2-3 (2016)
6522 (2005)
6522 (Euro-2, 3) (2009)
6522 (Евро-4) (2016)
65226 (2009)
65226 (2013)
6540
KNORR-BREMSE для КамАЗ
Общий (5320, 53212, 5410, 54112, 5511, 55102)
Самосв. установка 6520 (2011)
Схема
>
Не выбрано
6520-5000003 Переднее крепление и механизм уравновешивания кабины
6520-5000014 Кабина с дверями окрашенная
6520-5000014-76 Кабина с дверями окрашенная
6520-5000014-20 Кабина с дверями окрашенная
53205-5000075 Установка ремней безопасности
6520-5000079 Установка механизма опрокидывания кабины
6520-5000079-01 Установка механизма опрокидывания кабины
6520-5000079-60 Установка механизма опрокидывания кабин
6520-5000079-70 Установка механизма опрокидывания кабины
53205-5000120-01 Установка сидений
6460-5000120 Установка сидений
6520-5001006-20 Установка задней подвески кабины
65115-5001006 Установка задней подвески кабины
5320-5001010 Кронштейн переднего крепления кабины верхний
5320-5001080 Рессора кабины
6520-5002051 Установка ограничителя подъема кабины
4310-5002074 Шпилька стопорная
4310-5003010 Гидроцилиндр
43114-5003014 Гидроцилиндр МОК в сборе
4310-5003014 Цилиндр опрокидывающего механизма кабины
4310-5003038 Поршень
53205-5018010 Запор кабины правый
53205-5018011 Запор кабины левый
5320-5018014 Корпус запора кабины правый
6520-5205001 Установка стеклоочистителя
65115-5205601-70 Стеклоочиститель и его привод
6520-5208004 Установка омывателя
431016-5208004 Установка омывателя электрического
6520-5300023 Установка панели приборов
4308-5300023 Установка панели приборов
5320-5301047 Панель передка боковая съемная левая
5320-5303012 Ящик вещевой
5320-5303020-01 Дверка вещевого ящика
5320-5303039 Ограничитель
53205-5310010 Ручка передка
6522-5325160 Установка поручней панели приборов
6520-5614200 Установка шумоизоляционного экрана
53205-5713008 Установка вентиляционного люка крыши
53205-6100005 Установка стекол и арматуры двери левой
53205-6100014 Дверь правая
53205-6100015 Дверь левая
53205-6104011/010 Стеклоподъемник двери
53205-6104030 Механизм стеклоподъемника двери
5320-6104060 Ручка стеклоподъемника
5320-6105020-10/021-10 Замок двери правый/левый
5320-6105035-10 Фиксатор замка левый
5320-6105080/81 Привод замка двери правый/левый в сборе
5320-6105150 Ручка двери наружная в сборе
5320-6106083 Ограничитель двери
53205-6800010 Сидение водителя
5320-6804010 Механизм подрессоривания сиденья водителя
5320-6804111 Механизм перемещения сиденья водителя
5320-6804756 Ручка регулировки торсиона
53205-6830010 Сиденье пассажирское с ящиком
6460-6800900 Подключение сидений к пневмосистеме автомобиля
6520-8100005 Установка системы отопления кабины
6520-8100705-76 Установка системы отопления кабины
65201-8100005 Установка системы отопления
5320-8101257 Распределитель горячего воздуха левый
5320-8102030 Сопло обдува ветрового стекла
5320-8105160 Кран отопления
5320-8109020-10 Привод управления отоплением
65115-8109020-76 Привод управления отоплением
5320-8118027 Улитка вентилятора с распределителем левая
5320-8118069 Колесо рабочее с электродвигателем
5320-8105010 Кран сливной
5320-8105015 Пробка крана
6520-8106001 Установка подогревателя 15.8106-03
6520-8106001-20 Установка подогревателя 14ТС-10
6520-8106001-20 Установка подогревателя 14ТС-10
6520-8106001-40 Установка подогревателя 15.8106
6520-8106001-40 Установка подогревателя 15.8106
6460-8106005 Установка подогревателя, электродвигателя с насосом и топливного фильтра
6460-8106005-10 Установка подогревателя, электродвигателя с насосом и топливного фильтра
6520-8106005-40 Установка подогревателя, электронасоса и топливного фильтра
53205-8201002 Установка зеркал заднего вида
5460-8201002 Установка зеркал заднего вида
5320-8202200/201 Ручка правая/левая
5320-8203010-01 Пепельница
5320-8204011/10 Козырек противосолнечный с обивкой левый/правый
53205-8213005 Установка надоконной полки и противосолнечных козырьков
54115-8213005 Установка надоконной полки и противосолнечных козырьков
65115-8400006-04 Установка оперения кабины
6520-8400006 Установка оперения кабины
53205-8401010 Панель облицовочная
65115-8403010-04 Установка задней части переднего крыла правая
65115-8403011-04 Установка задней части переднего крыла левая
6520-8404005 Установка задних крыльев
6522-8404005 Установка задних крыльев
6520-8405010/011 Установка нижней подножки правая/левая
6560-8405011 Установка нижней подножки левая
5320-8406010-01 Замок панели
5320-8406100 Личинка замка панели
5320-8407011 Петля облицовочной панели левая
6520-8410003 Установка боковой защиты
6522-8410003 Установка боковой защиты
53205-8415002 Установка аэродинамического козырька
65115-8415011 Обтекатель
65115-8416012 Установка спойлера
65115-8417012 Установка панели фар
6520-1000252 Агрегат силовой, укомплектованный для установки на автомобиль
6520-1000252-02 Агрегат силовой, укомплектованный для установки на автомобиль
6520-1000252-14 Агрегат силовой, укомплектованный для установки на автомобиль
6520-1000254 Агрегат силовой, укомплектованный для установки на автомобиль
6520-1000254-14 Агрегат силовой, укомплектованный для установки на автомобиль
6520-1000257-25 Агрегат силовой, укомплектованный для установки на автомобиль
6522-1000250-10 Агрегат силовой 740.51-320, укомплектованный для установки на автомобиль
6522-1000254 Агрегат силовой 740.51-320, укомплектованный для установки на автомобиль
6522-1000254-01 Агрегат силовой, укомплектованный для установки на автомобиль
6522-1000254-90 Агрегат силовой, укомплектованный для установки на автомобиль
6520-1000263-10 Агрегат силовой 740.60-360, укомплектованный для установки на автомобиль
6522-1000263-10 Агрегат силовой 740.61-320, укомплектованный для установки на автомобиль
740.51-1000300 Агрегат силовой
740.51-1000300-14 Агрегат силовой
740.51-1000300-22 Агрегат силовой
740.51-1000300-25 Агрегат силовой
5Э740.51-1000301-10 Агрегат силовой
740.51-1000301-20 Агрегат силовой
740.51-1000301-90 Агрегат силовой
740.60-1000300-91 Агрегат силовой
Базовый двигатель 740.51-320 с оборудованием
740.60-1000400-90 Двигатель с оборудованием
65115-1001000 Установка кронштейнов силового агрегата
6460-1001005-12 Установка силового агрегата
6520-1001005-40 Установка силового агрегата
6520-1001009-10 Балка передней опоры
5320-1001062-10 Башмак задней опоры силового агрегата
7406.1002003 Установка картера агрегатов
7406.1002320 Картер агрегатов
7406.1029115 Шестерня, ведущая
7406.1029125 Ось ведущей шестерни
7406.63-1002004-20 Установка картера маховика
740.63-1002004-10 Установка картера маховика
7406.63-1002310 Картер маховика
740.63-1002310-10 Картер маховика
740.37-1029170 Корпус манжеты
740.50-1002010 Блок цилиндров
740.21-1002011 Блок цилиндров
740.1002080 Заглушка водяной полости
740.1003035 Втулка с кольцами
740.21-1003000 Установка головок цилиндров и механизма газораспределения
740.60-1003000 Установка головок цилиндров и механизма газораспределения
740.30-1003010 Головка цилиндра с клапанами
740.60-1003010 Головка цилиндра с клапанами
740.30-1003014 Головка цилиндра
740.60-1003014 Головка цилиндра
740.1003434 Заглушка с кольцом
7406.1007091 Стойка коромысел
7406.1007140 Коромысло клапана
740.21-1006010 Распределительный вал
7482.1006036 Корпус подшипника распределительного вала с втулкой
740.51-1004010-40 Поршень с шатуном и кольцами
740.60-1004010-40 Поршень с шатуном и кольцами
740.1004045 Шатун
7405.1004120 Установка форсунки охлаждения поршня
7405.1004066 Клапан форсунки охлаждения поршня
740.60-1004120 Установка форсунки охлаждения поршня
740.50-1005007 Установка вала коленчатого
740.63-1005007 Установка вала коленчатого
740.50-1005008 Вал коленчатый
740.63-1005008 Вал коленчатый
7406.1005031 Шестерня коленчатого вала
740.21-1005059-10 Установка гасителя крутильных колебаний и полумуфты отбора мощности
7406.1005060-20 Установка шкива коленчатого вала
7406.1005050 Шкив
740.50-1005100-20 Установка маховика и фиксатора
740.60-1005100-20 Установка маховика и фиксатора
740.50-1005115-10 Маховик
740.50-1005116 Маховик
740.1005440 Фиксатор маховика
7406-1005200 Установка привода отбора мощности переднего
820.52-1005200 Установка привода отбора мощности переднего
7406-1005500 Привод агрегатов
820.52-1005500 Привод агрегатов
740.1002260 Крышка блока цилиндров передняя
820.01-1002260 Крышка блока цилиндров передняя
7406.1005250 Корпус подшипника
7406.1005535 Вал отбора мощности
7406.1008000 Установка газопровода
7403.1008020 Коллектор выпускной правый в сборе
7403.1008021 Коллектор выпускной левый в сборе
7403.1008030 Патрубок правый в сборе
7406.1008031 Патрубок левый в сборе
7406.1009001-02 Установка картера масляного
740.51-1009001-10 Установка картера масляного
740.1009048-30 Трубка указателя уровня
740.11-1009050-01 Указатель уровня в сборе
740.11-1011001 Установка масляного насоса
740.11-1011005 Масляный насос с маслозаборником
740.11-1011010 Масляный насос с шестерней
740.60-1011010 Масляный насос с шестерней
740.11-1011014-02 Насос масляный
740.11-1011016-01 Крышка масляного насоса с клапаном
740.11-1011019-01 Крышка масляного насоса в сборе
740.1011018-50 Корпус насоса
740.1011030-50 Шестерня, ведомая масляного насоса
7406.1011398 Маслозаборник
7406.1012001-30 Установка фильтра и теплообменника
740.20-1012006 Фильтр масляный с теплообменником
740.20-1013200-10 Теплообменник масляный
740.60-1013200 Теплообменник масляный
740.20-1013210 Сердцевина
7406.1012010 Фильтр очистки масла
7406.1012015 Корпус масляного фильтра в сборе
740.20-1012068 Колпак масляного фильтра
740.20-1014100 Установка системы вентиляции
740.50-1014100 Установка системы вентиляции
740.101498 Трубка сапуна с втулкой
7406.1014504 Угольник сапуна
433101-1015630-01 Фильтр тонкой очистки топлива жидкостного подогревателя
7406.1022800 Установка электромагнитного клапана
7482.1022800-10 Установка магнитного клапана
740.63-1022800-90 Установка электромагнитного клапана и штифтовых факельных свечей
7406.1022860 Клапан с кронштейном и трубкой
6520-1080010-20 Капотирование нижнее моторного отсека
6520-1101010-11 Установка топливных баков, ФГОТ и топливопроводов
6520-1101010-35 Установка топливных баков, ФГОТ и топливопроводов
6520-1100035 Установка топливных баков, ФГОТ и топливопроводов
6520-1100055 Установка топливного бака
53215-1101010 Бак топливный
53215-1101010-01 Бак топливный
53215-1101010-05 Бак топливный
53215-1103001 Установка крышки топливного бака
65115-1103010 Пробка топливного бака
541121-1103010 Пробка топливного бака
6520-1105010 Установка фильтра грубой очистки топлива и топливопроводов
541121-1104012 Топливозаборник
7406.1105010 Фильтр грубой очистки с насосом предпусковой прокачки топлива
740.1105010-01 Фильтр грубой очистки топлива
6520-1108003 Управление подачей топлива
6520-1108003-10 Установка управления подачей топлива
6520-1108003-20 Управление подачей топлива
6520-1108002 Управление подачей топлива
6520-1108040 Толкатель
6520-1108040-10 Толкатель
5320-1108054 Наконечник
5320-1108120-99 Тяга ручного управления подачей топлива двигателя
6520-1108130 Тяга ручного останова двигателя
5425-1108130 Тяга ручного останова двигателя
7406.1111040 Корпус переднего подшипника
740.30-1111045 Корпус заднего подшипника
740.37-1121010 Шестерня ведомая привода ТНВД
740.63-1121010-90 Шестерня ведомая привода ТНВД
65115-1104002-40 Установка топливопроводов
65116-1104000-90 Установка топливопроводов
740.21-1104000 Установка топливопроводов
740.51-1104000 Установка топливопроводов
740.51-1104000-90 Установка топливопроводов
740.50-1104000-90 Установка топливопроводов
740.63-1104000-91 Установка топливопроводов
740.21-1117010 Фильтр тонкой очистки топлива
740.51-1117010 Фильтр тонкой очистки топлива
740.1117029 Пружина
7406.1108000 Привод управления регулятором
7482.1108000 Привод управления регулятором
740.51-1108000 Привод управления регулятором
7406.1108030 Кронштейн с валом привода
7482.1108030 Кронштейн с валом привода
7406.1108038 Кронштейн вала привода
7406.1108050 Тяга привода управления регулятором
7482.1108050 Тяга привода управления регулятором
740.51-1108050 Тяга привода управления регулятором
740.1108054 Наконечник тяги рычага управления регулятором
6520-1109001 Установка воздушного фильтра
6520-1109001-10 Установка воздушного фильтра
6520-1109003 Установка воздухозаборника
6520-1109003-10 Установка воздухоочистителя мультициклонного
6520-1109005 Воздухоочиститель с кронштейнами
7405.1109510 Фильтр воздушный
7405.1109557 Элемент фильтрующий с предочистителем
6520-1109048 Установка тройника
6520-1109049 Тройник
740.51-1111000 Установка и привод ТНВД
740.51-1111000-20 Установка и привод ТНВД
740.51-1111000-90 Установка и привод ТНВД
740.51-1111005-90 ТНВД с фланцем и полумуфтой ведомой
740.63-1111000-90 Установка ТНВД
740.63-1111005-90 ТНВД с фланцем и полумуфтой ведомой
7406.1111050 Вал привода ТНВД
7482.1111050 Вал привода ТНВД
740.37-1111050 Вал привода ТНВД
740.50-1112000 Установка форсунки
740.51-1112000-90 Установка форсунки
740.30-1112000-90 Установка форсунки
7406.1115000-30 Установка системы впуска
740.51-1115000 Установка системы впуска
740.63-1115000-10 Установка системы впуска
7406.1115012-40 Коллектор впускной правый
7406.1115014-40 Коллектор впускной левый
7406.1115030-20 Патрубок соединительный
740.51-1115030 Патрубок соединительный
7406.1115045-40 Патрубок объединительный
7406.1115110-20 Тройник
7406.1115122-10 Труба подводящая
740.51-1115122 Труба подводящая
740.30-1118000 Установка турбокомпрессоров на двигатель
7406.1118010 Турбокомпрессор
7405.1118018 Корпус подшипников с ротором
7405.1118020 Корпус подшипников с подшипниками
7405.1118080 Ротор с колесом компрессора
6520-1170000 Установка системы ОНВ
6520-1170300 Теплообменник охлаждения наддувочного воздуха
6520-1200001-10 Установка системы выпуска
Насос топливный высокого давления (ТНВД) в сборе
Насос топливный высокого давления (ТНВД) в сборе
Насос топливный высокого давления (ТНВД) в сборе
Насос топливный высокого давления (ТНВД) в сборе
Топливный насос низкого давления в сборе
Крышка регулятора верхняя в сборе
Державка грузов в сборе
Муфта регулятора в сборе
Крышка регулятора задняя в сборе
Рычаг регулятора в сборе
Рычаг стартовой пружины в сборе
Шестерня регулятора ведущая в сборе
Шестерня регулятора промежуточная в сборе
Корректор подачи топлива по наддуву в сборе
Корпус топливного насоса в сборе
Секция топливного насоса в сборе
Вал кулачковый в сборе
Крышка подшипника с манжетой сборе
Толкатель плунжера в сборе
Клапан перепускной в сборе
Рейка правая в сборе
Рейка левая в сборе
Рычаг реек в сборе
Топливоподкачивающий насос PE8P120A920/5RS7525
Центробежный регулятор PQV300... 1100РА1485К
Топливоподкачивающий насос FP/KG 24 Р 302
6520-1200002 Установка системы выпуска
6520-1200006 Установка системы выпуска
6522-1200002 Установка системы выпуска
6540-1203035-01 Коробка переключения газов
6520-1300023 Установка радиатора
6520-1300023 Установка радиатора
65201-1300023 Установка радиатора
65201-1300023 Установка радиатора
6520-1301500 Установка кожуха защитного радиатора
7406.1303002 Установка водяных труб
7406.1303100-10 Труба водяная правая
7406.13O31O1-10 Труба водяная левая
740.11-1303005 Установка корпуса водяных каналов
740.51-1303005-76 Установка корпуса водяных каналов
740.60-1303005 Установка корпуса водяных каналов
740.11-1303010 Корпус водяных каналов
740.51-1303010-76 Корпус водяных каналов
740.60-1303010 Корпус водяных каналов
740.20-1303013 Крышка с пробкой
740.30-1317570 Фланец крепления датчика включения вентилятора с пробкой
740.13-1305010 Установка кранов сливных системы охлаждения привода управления
5320-1305010 Кран сливной системы охлаждения
5320-1305015 Пробка крана
5320-1305030 Пробка с шариком и держателем
7406.1307005 Установка водяного насоса
740.63-1307005 Установка водяного насоса
740.50-1307010 Водяной насос
740.63-1307010 Насос водяной
7406.1308010-01 Установка вентилятора с муфтой привода
7482.1308010 Установка вентилятора
740.60-1308005 Установка вентилятора с вязкостной муфтой
740.51-1309007-10 Установка обечайки вентилятора
6520-1311005 Установка расширительного бачка
6520-1311005-76 Установка расширительного бачка
5320-1311010-30 Бачок расширительный
5320-1311060 Пробка расширительного бачка
5320-1311086-30 Скоба верхняя
740.50-1317005 Установка электромагнитной муфты
740.30-1317500-01 Муфта электромагнитная привода вентилятора
740.30-1317510-01 Шкив со ступицей вентилятора
740.30-1317520 Ступица вентилятора с фрикционным диском
6520-1600006 Установка педали и привода выключения сцепления
6520-1600606 Установка педали и привода выключения сцепления
5460-1600006-10 Установка педали и привода выключения сцепления
6520-1602008 Педаль сцепления с кронштейном и главным цилиндром
5460-1602008 Педаль сцепления с кронштейном и главным цилиндром
5320-1602510-10 Главный цилиндр управления сцеплением
5320-1602512 Главный цилиндр
5320-1602568 Толкатель
5320-1602560 Бачок главного цилиндра привода сцепления
20.1600010 Установка сцепления
53602-1700005 Установка коробки передач
6460-1703005 Привод управления механизмом переключения передач
6460-1703005-06 Привод управления механизмом переключения передач
6520-1703005-20 Привод управления механизмом переключения передач
6460-1703200-06 Опора с кронштейном
161.1703204 Опора рычага переключения передач
6460-1703204 Опора рычага переключения передач
6460-1703204-06 Опора рычага переключения передач
142.1703362 Серьга с втулкой
6460-1703520 Тяга реактивная
6460-1703520-06 Тяга реактивная
6520-1703520-20 Тяга реактивная
6460-1772005 Установка пневмопривода управлением переключения передач
6460-1772005-06 Установка пневмопривода управлением переключения передач
Картер коробки передач с пробками
Установка нижней крышки картера и трубки распылителя
Установка картера сцепления
Первичный вал
Установка крышки первичного вала
Промежуточный вал
Установка насоса
Основной вал
Установка пробок картера
Штоки вилок переключения передач
Механизм переключения передач
Установка боковых крышек механизма переключения передач
Установка датчиков механизма переключения передач
Комплект пружин
Механизм управления демультипликатором
Установка задней крышки картера
Картер планетарной передачи
Привод планетарной передачи
Установка заднего фланца
Синхронизатор планетарной передачи
Управление планетарной передачей
Механизм выбора передаточного числа
Вилка выключения сцепления
Установка цилиндра сцепления
Комплекты для запасных частей
6522-1800008 Установка раздаточной коробки
6522-1800009 Установка управления раздаточной коробки
63501-1804010-10 Кран управления раздаточной коробки
Раздаточная коробка 1600/300
Картер
Ведущий (первичный) вал, крышка подшипника
Двухвенцовая шестерня, крышка подшипника
Ведомый вал, крышка подшипника
Фланцы
Пневматический привод переключения передач
6520-2200001-32 Установка карданных валов
6520-2200001-40 Установка карданных валов
6522-2200001 Установка карданных валов
6522-2200001-32 Установка карданных валов
43253-2201011-10 Вал карданный заднего моста
6520-2201011-10 Вал карданный заднего моста
6520-2201011-11 Вал карданный заднего моста
53205-2201026-10 Крестовина карданного вала
6520-2205011-10 Вал карданный среднего моста
6520-2205011-11 Вал карданный среднего моста
6520-2205011-32 Вал карданный среднего моста
53205-2205020 Шарнир приварной
53205-2205026-10 Крестовина карданного вала
6522-2300319-10 Мост передний
6522-2302010-10 Передача главная переднего моста
6522-2302050 Крышка подшипника
6522-2303010-10 Дифференциал переднего моста
6520-2400011-10 Мост задний
6520-2400011-10 Мост задний
6520-2400015-10 Мост задний
6520-2400015-10 Мост задний
6522-2400321-10 Мост задний
6520-2401007 Картер моста заднего с механизмом блокировки
6520-2402011-10 Передача главная заднего моста
6520-2402015 Картер редуктора заднего моста
6520-2402021-10 Шестерня ведущая заднего моста
6520-2402048 Стакан подшипников
6520-2402050 Крышка подшипника
6520-2403011-10 Дифференциал моста заднего
53212-2403054 Сателлит дифференциала заднего моста с втулкой
6520-2405024 Водило с кожухом и сателлитами
6520-2405061 Шестерня ведомая колесной передачи
55102-2409016 Вилка блокировки
6520-2411020 Привод блокировки межколесных дифференциалов
6520-2411120-10 Привод блокировки межколесных дифференциалов
6522-2411020 Привод блокировки межколесных дифференциалов
6520-2500011-10 Мост средний
6520-2500011-10 Мост средний
6522-2500320-10 Мост средний
6520-2502011-10 Передача главная среднего моста
6520-2502050 Крышка подшипника
6520-2502208 Крышка подшипника
6520-2503011-10 Дифференциал моста среднего
6520-2506010 Межосевой дифференциал среднего моста
6520-2506054 Сателлит межосевого дифференциала с втулкой
6520-2511021 Привод блокировки межосевого дифференциала
5320-2511060 Кран включения блокировки
5320-2511066 Шток
6520-2511121-10 Привод блокировки межосевого дифференциала
6520-2800010 Рама
6520-2800010-07 Рама
6522-2800010 Рама
6522-2800010-10 Рама
6460-2801003 Установка буксирной поперечины
6460-2801003-20 Установка буксирной поперечины
6520-2804003-40 Установка заднего буфера
6522-2804003-40 Установка заднего буфера
6520-2806040 Установка буксирной вилки
6520-2900001 Установка передней подвески
6522-2900001 Установка передней подвески
6520-2900002 Установка задней подвески
6522-2900002 Установка задней подвески
6520-2902012-30 Рессора передняя
65115-2902020 Ушко с втулкой
65115-2905535 Кронштейн амортизатора левый
65115-2906070 Кронштейн стабилизатора
6520-2912012 Рессора задняя
6520-2918050 Кронштейн балансира с осью
6520-2918068 Башмак рессоры с втулками и манжетой
6520-2918070 Башмак рессоры с втулками
632-2919012 Штанга реактивная
6520-3000012 Ось передняя с тормозами
6520-3000015 Ось передняя
6520-3000612 Ось передняя с тормозами
6520-3000615 Ось передняя в сборе
6520-3001012 Кулак поворотный
6520-3101002 Установка передних колес
6522-3101002-40 Установка передних колёс
6520-3101003-20 Установка сдвоенных колёс
6522-3101003-40 Установка сдвоенных колёс
6520-3101011 Колесо с шиной
6522-3101010-40 Колесо 8,5-20 с шиной правое
6520-3103009 Ступица переднего колеса с барабаном, подшипником и манжетой
6520-3103010 Ступица с тормозным барабаном
6520-3104009 Ступица заднего колеса с манжетами
6520-3104012 Ступица заднего колеса с болтами
65115-3104017 Манжета
6520-3104060 Стакан с манжетами
6520-3105010-10 Держатель запасного колеса
6520-3105010-21 Держатель запасного колеса
6520-3400012 Установка рулевого механизма
6520-3400012-60 Установка рулевого механизма
6522-3400012 Установка рулевого механизма
6520-3414010-10 Тяга сошки с наконечниками
6522-3414010 Тяга сошки
6520-3414010-60 Тяга сошки с наконечниками
6520-3400014 Установка колонки рулевого управления
5460-3400014 Установка колонки рулевого управления
6522-3400014-29 Установка колонки рулевого управления
6520-3422010 Вал карданный рулевого управления
6520-3422010-19 Вал карданный
53205-3422012 Шарнир карданный
6520-3422014 Шарнир со втулкой
6520-3422014-19 Шарнир с втулкой
53205-3422122 Уплотнитель с втулкой
6520-3444006 Рулевая колонка с карданным валом
53205-3444009-30 Рулевая колонка
53205-3444014 Корпус колонки с кронштейном рулевого управления
6520-3444008-19 Колонка рулевого управления
6520-3444010-19 Колонка рулевого управления
6520-3406014-19 Установка крана регулировки рулевой колонки
6520-3400018 Установка трубопроводов рулевого управления
6520-3400018-01 Установка трубопроводов
6520-3400018-10 Установка трубопроводов рулевого управления
6520-3400018-60 Установка трубопроводов
65222-3400018 Установка трубопроводов рулевого управления
740.50-3407002 Установка насоса рулевого усилителя
740.50-3407003 Установка насоса рулевого усилителя
740.50-3407004-10 Установка насоса рулевого усилителя
6520-3414052 Тяга
6520-3414055 Наконечник тяги
6520-3500006 Установка пневмотормозов
6520-3500006 Установка пневмотормозов
6522-3500006 Установка пневмотормозов
6522-3500006 Установка пневмотормозов
6522-3500006 Установка пневмотормозов
6520-3500006-76 Установка пневмотормозов
6520-3500006-13 Установка пневмотормозов
6520-3500011-16 Установка осушителя
6520-3500011-76 Установка осушителя
6520-3500013 Установка воздушных ресиверов
65115-3500014 Установка двухсекционного тормозного крана
65115-3514108 Кран тормозной двухсекционный с педалью
6520-3500015 Установка четырехконтурного защитного клапана
6520-3500015-76 Установка четырехконтурного защитного клапана
53205-3515400-10 Клапан защитный четырехконтурный
6520-3500018-03 Установка ускорительного клапана
6520-3500033 Установка регулятора тормозных сил
6522-3500033 Установка регулятора тормозных сил
6520-3500037-41 Установка кабелей АБС
6520-3500037-41 Установка кабелей АБС
6520-3500042-41 Установка модуляторов АБС
6520-3500062 Установка клапана двухмагистрального
6520-3500022-10 Установка клапана управления тормозами прицепа
6520-3501011-12 Тормоз передний
6520-3501012 Суппорт тормоза
6520-3501090-41 Колодка тормоза с накладками
6520-3501121 Кронштейн тормозной камеры и разжимного кулака
6520-3502011-12 Тормоз задний
6520-3506042 Установка пневмоуправления системой АБС
6520-3506042 Установка пневмоуправления системой АБС
6520-3506180 Установка охладителя
6520-3506180-76 Установка охладителя
7406.3509003 Установка компрессора
740.30-3509004 Установка компрессора
53205-3509015 Компрессор
53205-3509018 Картер компрессора
53205-3509039 Головка цилиндра с крышкой
53205-3509088 Крышка задняя в сборе
53205-3509154 Поршень в сборе
16-3513110 Кран слива конденсата
16-3515310 Клапан контрольного вывода
16-3515510 Кран экстренного растормаживания
6522-3519310 Тормозная камера тип 30
661-3519310-20 Камера тормозная тип 30
661-3519310-30 Камера тормозная
6520-3519500 Тормозная камера тип 30/24
6520-3541110 Датчик скорости с кронштейном
5320-3570010 Установка цилиндра выключения подачи топлива
53205-3570010-54 Установка пневмоцилиндра вспомогательного тормоза
5320-3570074-10 Цилиндр пневматический с тягой
53215-3570105-54 Пневмоцилиндр вспомогательного тормоза
53205-3570014 Корпус вспомогательного тормоза с заслонкой
6520-3570014 Корпус вспомогательного тормоза с заслонкой
6460-3570014-10 Корпус вспомогательного тормоза с заслонкой
53215-3570030 Вал заслонки
53205-3570205 Пневмоцилиндр вспомогательного тормоза
53205-3570210 Цилиндр пневматический 35х65
100-3570210 Цилиндр управления заслонкой в сборе
7406.3701002-20 Установка генератора
740.51-3701002 Установка генератора
7406.3701770-40 Кронштейн генератора
740.50-3708005 Установка стартера
6520-3703001 Установка аккумуляторных батарей
6520-3703001-29 Установка аккумуляторных батарей
65228-3710002 Установка выключателя коробки отбора мощности
4308-3710004-30 Установка выключателя аккумуляторной батареи
6520-3710428 Панель выключателей
6520-3710428-20 Панель выключателей
65115-3710428-70 Панель выключателей
65115-3710001-69 Установка выключателей
6520-3710001-97 Установка выключателей
65115-3711001-04 Установка фар и передних указателей поворота
6520-3711601-70 Установка фар и передних указателей поворота
6520-3711001 Установка фар и передних указателей поворота
65115-3711003-04 Установка фар дополнительных и противотуманных
53205-3714001-10 Установка плафонов
53205-3714003 Установка плафона освещения вещевого ящика
5320-3715001 Установка подкапотной лампы
6520-3717001 Установка фонарей освещения номерного знака
6520-3716002 Установка задних фонарей
53215-3718001-85 Установка электромеханического корректора
5320-3721001-10 Установка звуковых электрических сигналов
53602-3722002 Установка блока предохранителей
53205-3722501 Установка предохранителей
4308-3722001-30 Установка предохранителей
6520-3723001 Установка розетки внешнего запуска
53205-3723005 Установка розетки переносной лампы
53215-3726001 Установка бокового повторителя указателей поворота
53215-3726002 Установка прерывателя указателей поворота
6520-3727003 Установка рабочей фары
6520-3731001 Установка боковых габаритных фонарей
6460-3731001-06 Установка боковых габаритных фонарей
5320-3737001-01 Установка малогабаритного выключателя массы
53205-3738001 Установка фонарей автопоезда
5425-3738002 Установка габаритных фонарей
65115-3738002 Установка габаритных фонарей
6520-3740001 Установка блока управления ЭФУ
53205-3741001 Установка электрооборудования подогревателя
53205-3741001-50 Установка электрооборудования подогревателя
65228-3741001 Установка электрооборудования подогревателя
6520-3741001-92 Установка электрооборудования подогревателя
65115-3741004-50 Установка электрооборудования системы подогрева топлива
65115-3741008 Установка оборудования обогрева зеркал
65115-3741004-40 Установка электрооборудования системы подогрева топлива
65115-3741004-10 Установка электрооборудования системы подогрева топлива
53205-3741060 Пульт управления подогревателем
65228-3741060 Установка таймера
53205-3741094 Установка блока управления подогревателем
6460-3747001 Установка реле
43118-3747001 Установка реле
6520-3747001-24 Установка реле
6460-3747001-50 Установка реле
4308-3747001-50 Установка реле
6460-3747195 Установка электронного реле стартера
6520-3747195 Установка реле блокировки стартера
53215-3759001 Установка преобразователя напряжения
6520-3759601-70 Установка преобразователя напряжения
740.63-3724010 Установка жгута проводов
740.62-3800001 Установка датчиков
6520-3805010 Щиток приборов
6522-3805010-20 Щиток приборов
6520-3805010-30 Щиток приборов
4308-3805001-42 Установка щитка приборов
4308-3805010-42 Щиток приборов
43114-3830001 Установка трубопроводов к манометру
4308-3830005 Установка датчиков указателя давления воздуха
53205-3830002 Установка датчиков аварийного давления воздуха
53205-3830002 Установка датчиков аварийного давления воздуха
53215-3859001-24 Установка электрооборудования АБС
53215-3859001-45 Установка электрооборудования АБС
65201-3859001-40 Установка электрооборудования АБС
65201-3859001-40 Установка электрооборудования АБС
4308-4011037 Установка датчика педали сцепления
6520-4011035 Установка индикации на щитке приборов
6520-4011033 Установка переключателей на панели приборной
6520-4011040 Установка выключателя моторного тормоза
6520-4012002 Установка реле
5460-4071014 Установка электронных блоков управления
65115-4012001 Установка предохранителей
5460-4071010 Установка жгута промежуточного на кабине
6520-2700010 Установка подрамника и сцепных устройств
6520-4202005 Установка коробки отбора мощности
6520-4202005-20 Установка коробки отбора мощности
6520-4202005-40 Установка коробки отбора мощности
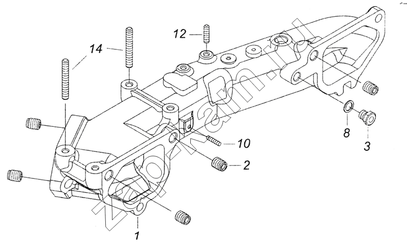
7406.1115030-20
740.60-1115030
740.63-115030-10
1
1
1
2
3
8
10
12
14
Поз.
Артикул
Название детали
Кол-во
7406.1115030-20
7406.1115030-20
Патрубок соединительный
1;
740.60-1115030
740.60-1115030
Патрубок соединительный
1;
740.63-115030-10
740.63-115030-10
Патрубок соединительный
1;
1
7406.1115032-20
Патрубок соединительный
1;
1
740.60-1115032
Патрубок соединительный
1;
1
740.63-1115032-10
Патрубок соединительный
1;
2
740.1115150
Ввертыш
5;
3
15.1772380
Ввертыш
1;
8
1/02800/60
Прокладка уплотнительная 14х20х1,5
1;
10
1/35409/21
Шпилька М6х1х12х16
2(3,4);
12
1/35431/21
Шпилька М8х1,25-16х16
2;
14
870303
Шпилька М10х1,25х20х52
4;
Содержащиеся в справочниках-каталогах запасные части и детали не предлагаются к продаже, а носят исключительно информационный характер
Дополнительная информация
×
Название:
Номер:
Примечание:
Войти
Имя пользователя
Пароль
Забыли пароль?
Запомнить меня
Войти
Поиск товаров
Поиск товаров
Корзина покупок