ЗапКам
zap-kam16@yandex.ru
(900) 323-41-41
Вход / Регистрация отключена
Вход
Избранное
0
по запросу
Каталог
Все товары и категории
Запчасти КАМАЗ
Двигатель
Двигатели в сборе
Евро-0
КамАЗ-4310
Урал-4320
КамАЗ-4350
Евро-1
КамАЗ-43114
Евро-2
КамАЗ-43118
КамАЗ-65115
КамАЗ-6520
Евро-3
Евро-4
Евро-5
Газовые
Блоки цилиндров
Блоки цилиндров Евро-0 КамАЗ
Блоки цилиндров Евро-1 КамАЗ
Блоки цилиндров Евро-2 КамАЗ
Блоки цилиндров Евро-3 КамАЗ
Блоки цилиндров Евро-4,5 КамАЗ Common Rail
Сборочные комплекты (лонг-, шорт-блоки)
Блоки управления
Валы коленчатые
Коленвалы Евро-0 КамАЗ
Коленвалы Евро-1 КамАЗ
Коленвалы Евро-2 КамАЗ
Коленвалы Евро-3 КамАЗ
Коленвалы Евро-4,5 КамАЗ Common Rail
Вкладыши коренные
Евро-3,4,5
Евро-0,1,2
Вкладыши шатунные
Евро-3,4,5
Евро-0,1,2
Валы распредительные
ЦПГ – поршневая
Поршневая Евро-4,-5 (740.602)
Поршневая Евро-2,-3 (740.60)
Поршневая Евро-1,-2 (740.30)
Поршневая Евро-0,1 (740)
Кольца поршневые
ТНВД
Евро-4-5 Common Rail
Евро-3
Евро-2
Евро-1
Евро-0
Система питания
Форсунки топливные
Распылители форсунок
Топливозаборники
ГБЦ
Евро-3,4,5 Common Rail
Евро-1,2,3
Евро-0
Газ
Турбокомпрессоры
ТРК Евро-4,5 (однотурбовые)
Евро-4
Евро-3
Евро-2
Евро-1
Насос водяной
Насос масляный
Маховики
Коробка передач
КПП в сборе
Валы
Валы вторичные
Валы первичные
Валы промежуточные
Шестерни
Синхронизаторы
Делители в сборе
Коробка раздаточная
РК в сборе
РК 6522
Дифференциалы
Валы
Валы первичные
Валы промежуточные
Вилки
Шестерни
Механизмы переключения
Трансмиссия
Мосты
Редукторы в сборе
Заднего моста
Переднего моста
Среднего моста
Зубьев
31, 35
50
49
48
47
46
КамАЗ
4310
43114
43118
4326
5320
53205
65115
43253
53229
6520
6522
4308
65111
65116
65117
55102
55111
53212
53215
54115
5410
5511
Мосты в сборе
Передние
Средние
Задние
6520, 6522 (20т)
65115 (15т)
65111 (15т)
43118 (10т)
43114 / 4310 (8т)
53205 Евро (10т)
5320 (8т)
5511 (10т)
МОД
Мадара
Подвеска в сборе
Ось передняя
Ось в сборе
Ходовая часть
Подвеска (тележка) в сборе
Колеса и шины
Рама
Рессоры
Лебедка
Механизмы управления
Отопление и вентиляция
Система выпуска
Сцепление
Тормоза
Кабина
Управление рулевое
Электрооборудование
Автомобили
КАМАЗ 5490
Двигатель 457
Двигатели в сборе
Сцепление
Кабина
Кузов
Мосты
Рама
Система выпуска
Тормоза
Управление рулевое
Ходовая часть
КАМАЗ К5
Двигатели WeiChai
Двигатели в сборе
Двигатели Р6
Двигатели 910 Р6 в сборе
Кабина
Сцепление
Тормоза
Управление рулевое
Электрооборудование
ZF
КПП ZF в сборе
16S EcoSplit
КПП 16s 1820 TO
КПП 16S 2220
9S Ecomid
12AS Astronic
12TX Traxon
Запчасти 12tx Traxon
Cummins
Двигатели в сборе
Блоки цилиндров
Коленвалы
Головки блока
Генератор
Китайские грузовики
Shaanxi HanDe
Fast Gear
Sitrak
Weichai
FAW
Laizhou Tongji
Европейские грузовики
Mercedes
Электрооборудование
Блоки управления
Блоки управления ADM
Блоки управления CPC4
Блоки управления двигателем
Блоки управления электрооборудованием
Датчики
Стартеры
Карданная передача
Карданы КамАЗ
Коробки отбора мощности
Прицепная техника
ССУ (Седла)
Ремонт
Ремонт двигателей
Ремонт КПП Камаз и ZF
Ремонт раздаток и редукторов
Ремонт кабин
Услуги
Комплектация заявок
Скупка запчастей и агрегатов
Контакты
Отправить заявку
Каталоги запчастей к технике
Грузовые
КамАЗ
6522 (Евро-4)
65225-2800040-20 Установка надрамника
Поиск
65225-2800040-20 Установка надрамника
/ КамАЗ 6522 (Евро-4)
zoom-in
zoom-out
enlarge
shrink
circle-right
circle-left
file-text2
info
cart
Тип техники
Не выбрано
Грузовые
Двигатели
Марка
Не выбрано
DAF
DongFeng
FAW
Foton
HOWO
IVECO
JAC Motors
MAN
Shaanxi
SITRAK
Volvo
Автокомпонент Плюс
ЗИЛ
КАЗ
КамАЗ
Мадара
НефАЗ
СЗАП
Тонар
УралАЗ
Модель
Не выбрано
4308 (2004)
4308 (2008)
4308 (Евро 3) (2013)
4308 (Евро 4) (2012)
4308-C4 (2019)
4308-C4 (2019)
4308-H3 (2019)
4308-R4 (2019)
4310
4310
43101
43114
43118 (2002)
43118 (Евро 4) (2012)
43253 (Часть-1) (2011)
43253 (Часть-2) (2011)
43253, 43255 (Евро-4) (2012)
43255 (Евро-2) (2012)
43255 (Евро-3) (2012)
4326 (2001)
4326 (2003г)
43261 (Евро-1, 2) (2007)
4350 (4х4) (2004)
43501 (4х4) (2007)
43502 (Евро 4) (2013)
45141 (2009)
45142 (2009)
45143 (2009)
5308 (Евро 3) (2012)
5308 (Евро 4) (2013)
5315
5320
53212
53228, 65111 (2004)
53229 (Евро 2) (2010)
5350 (6х6) (2004)
53501 (6х6) (2007)
53504 (6х6) (2007)
5360
53605 (Евро-4) (2013)
5410
54112
5460
5460 (2005)
5490 (2016)
55102
5511 (2003)
6350 (8х8) (2004)
63501 (8х8) (2007)
6450 (8х8) (2007)
6460
6460 (Евро 3, 4) (2013)
6460 (Евро 4) (2013)
65111 (2008)
65111 (Евро 4) (2012)
65115 (2001)
65115 (2009)
65115 (Евро-3) (2013)
65115, 65116 (Евро-4) (2010)
65116 (2006)
6520
6520 (Euro-2, 3) (2009)
6520 (Euro-4) (2012)
6520 (Euro-4) (2016)
65201 (2007)
65201 Евро 2-3 (2016)
6522 (2005)
6522 (Euro-2, 3) (2009)
6522 (Евро-4) (2016)
65226 (2009)
65226 (2013)
6540
KNORR-BREMSE для КамАЗ
Общий (5320, 53212, 5410, 54112, 5511, 55102)
Самосв. установка 6520 (2011)
Схема
>
Не выбрано
6522-1000264 Агрегат силовой 740.632-400, укомплектованный для установки на автомобиль
740.632-1000412-10 Двигатель с оборудованием 740.632-400
65205-1001000 Установка кронштейнов силового агрегата
65222-1001005 Установка силового агрегата
5320-1001062-10 Башмак задней опоры силового агрегата
740.70-1002004 Установка картера маховика
740.70-1002310 Картер маховика
740.70-1002010 Блок цилиндров
740.90-1003000 Установка головок цилиндра и механизма газораспределения
740.90-1003010 Головка цилиндра с клапанами и стойкой коромысел
740.60-1004000-96 Установка цилиндропоршневой группы и форсунок охлаждения поршня
740.60-1004010-42 Поршень с шатуном и кольцами
740.50-1005007 Установка коленчатого вала
740.50-1005008 Коленчатый вал
740.21-1005059-10 Установка гасителя крутильных колебаний и полумуфты отбора мощности
7406.1005060-20 Установка шкива коленчатого вала
740.60-1005100-20 Установка маховика
740.50-1005115-10 Маховик
740.70-1005200 Установка привода отбора мощности переднего
740.50-1008000 Установка газопровода
740.50-1009001-20 Установка картера масляного
740.50-1011001 Установка масляного насоса
740.50-1011005 Насос масляный с маслозаборником
740.90-1012001 Установка фильтра и теплообменника
740.90-1012006 Фильтр масляный с теплообменником
7406.1012010 Фильтр очистки масла
7406.1012015 Корпус масляного фильтра
740.63-1014100 Установка системы вентиляции
65115-1015265 Бачок топливный
740.70-1022800 Установка магнитного клапана и штифтовых факельных свечей
740.70-1022860-10 Клапан с кронштейном, штуцером и трубкой
6520-1100068 Установка топливного бака, фильтра грубой очистки топлива и топливопроводов
6520-1100068-65 Установка топливного бака, фильтра грубой очистки топлива и топливопроводов
53215-1103001 Установка крышки топливного бака
65115-1104004-70 Установка топливопроводов
740.70-1104000 Установка топливопроводов
6520-1109001-50 Установка воздушного фильтра
65225-1109001 Установка воздушного фильтра
6520-1109003-20 Установка воздухоочистителя мультициклонного
6520-1109003-40 Установка воздухозаборника
6520-1109005-20 Воздухоочиститель со стойками
6520-1109400-30 Воздухозаборник
65116-1109048 Установка тройника
6520-1109048 Установка тройника
740.90-1111000 Установка ТНВД
740.90-1111005-10 Редуктор привода ТНВД
740.90-1112000 Установка форсунки
740.90-1115000-20 Установка системы впуска
740.90-1115012-10 Коллектор впускной правый
740.90-1115014-10 Коллектор впускной левый
740.91.1115030 Патрубок соединительный
7406.1115045-40 Патрубок объединительный
740.602-1118000-20 Установка турбокомпрессора
740.60-1118010 Турбокомпрессор
6522-1200004 Установка системы выпуска
6520-1300023-50 Установка блока охлаждения
6520-1301005-50 Блок охлаждения
65224-1301500-30 Установка кожуха защитного радиатора
7406.1303002 Установка водяных труб
7406.1303100-10 Труба водяная правая
740.63-1303005-30 Установка корпуса водяных каналов
740.63-1303010-30 Корпус водяных каналов с термостатами
740.63-1307005 Установка водяного насоса
740.63-1307010 Насос водяной
740.65-1307500 Установка привода агрегатов переднего
740.74-1308005 Установка вентилятора с вязкостной муфтой
65222-1311005 Установка расширительного бачка
740.30-1317005 Установка электромагнитной муфты
740.30-1317500-02 Муфта электромагнитная привода вентилятора
5460-1600006-19 Установка педали и привода выключения сцепления
5460-1602008 Педаль сцепления с кронштейном и главным цилиндром
6460-1602010 Педаль сцепления
5320-1602510-10 Главный цилиндр управления сцеплением
5320-1602560 Бачок главного цилиндра привода сцепления
20.1600010 Сцепление
53602-1700005 Установка коробки передач
6520-1703005-40 Установка привода управления механизмом переключения передач
53602-1703204 Опора рычага переключения передач
6540-1703325-06 Тяга
43085-1703520 Тяга реактивная
6460-1772005-04 Установка пневмопривода управлением переключения передач
6560-1772007-04 Жгут трубопроводов управления переключением передач
65225-1800008-50 Установка раздаточной коробки
6522-1800020 Коробка раздаточная
6522-1802010 Картер раздаточной коробки
6522-1802024 Вал первичный
6522-1802027 Крышка переднего подшипника первичного вала
6522-1802083 Вал промежуточный
6522-1802150 Дифференциал
6522-1802153 Водило с шестерней дифференциала
6522-1802212 Крышка заднего подшипника привода заднего моста
6522-1802230 Картер привода переднего моста
6522-1803010 Механизм включения
65222-1800009 Установка управления раздаточной коробки
63501-1804010-10 Кран управления раздаточной коробкой
65225-2200001 Установка карданных валов
4326-2201011-10 Вал карданный заднего моста
4326-2201017-10 Вал карданный с шарниром
6522-2300022-10 Мост передний
6322-2301009 Картер переднего моста
6522-2302010-10 Передача главная переднего моста
6522-2303010-10 Дифференциал переднего моста
6522-2305024 Водило с сателлитами
6522-2304027 Корпус поворотного кулака левый
6522-2305061 Шестерня ведомая
6520-2400015-10 Мост задний
6520-2401007 Картер моста заднего с механизмом блокировки
55102-2409016 Вилка блокировки
6520-2402011-10 Передача главная заднего моста
43081-2401114 Сапун
6520-2402015 Картер редуктора заднего моста
6520-2402076 Крышка подшипника
6520-2402021-10 Шестерня ведущая коническая
6520-2402048 Стакан подшипников
6520-2402050-01 Крышка подшипника
6520-2403011-10 Дифференциал моста заднего
53212-2403054 Сателлит дифференциала заднего моста с втулкой
6520-2405024 Водило с кожухом и сателлитами
6520-2405061 Шестерня ведомая колесной передачи
6520-2500011-10 Мост средний
6520-2502011-10 Передача главная среднего моста
6520-2502015 Картер редуктора среднего моста
6520-2502050-01 Крышка подшипника
6520-2503011-10 Дифференциал моста среднего
6520-2506010 Дифференциал межосевой среднего моста
5320-2511060 Кран включения блокировки
6520-2511021 -80 Установка блокировки межосевого и межколесных дифференциалов
6522-2800010-55 Рама
65225-2800010-20 Рама
65225-2800040-20 Установка надрамника
6522-2804003-40 Установка заднего буфера
6520-2806040 Установка буксирной вилки
6520-2806046 Вилка буксирная с пружиной
6522-2900001-51 Установка передней подвески
6520-2902012-20 Рессора передняя
6522-2900002 Установка задней подвески
6520-2912012 Рессора задняя
6522-2918050 Кронштейн балансира с осью со стяжкой
6520-2918068 Башмак рессоры с втулками и чашкой
6522-3101002-40 Установка передних колес
6522-3101003-40 Установка сдвоенных колес
6522-3101011 -40 Колесо 8,5-20 с шиной левое
6520-3105010-21 Держатель запасного колеса
6522-3103009 Ступица переднего колеса с подшипником
6520-3104009 Ступица заднего колеса с манжетами
6520-3104012 Ступица заднего колеса с болтами
5460-3400002-19 Установка рулевого колеса
6520-3400002-19 Установка рулевого колеса
6520-3400006-19 Установка круиз-контроля
65225-3400012 Установка рулевого управления
65225-3400012-10 Установка рулевого управления
65225-3401091 Сошка с подшипником
65225-3414010 Тяга сошки
65222-3400018-20 Установка трубопроводов ГУР
6520-3400018-34 Установка трубопроводов
6520-3400004-30 Установка колонки рулевого управления
6520-3400004-40 Установка колонки рулевого управления
6520-3406014-19 Установка крана регулировки рулевой колонки
6520-3422008-30 Вал карданный
6520-3422010-30 Вал карданный
6520-3422010-31 Вал карданный
6520-3444006-30 Колонка рулевого управления с карданным валом
6520-3444075-19 Колонка рулевого управления с кронштейном
6520-3444008-19 Колонка рулевого управления
6520-3444010-19 Колонка рулевого управления
6520-3407001-40 Установка насоса рулевого усилителя
65222-3407001-20 Установка насоса рулевого усилителя
6522-3414052 Тяга рулевой трапеции
6520-3414055 Наконечник тяги
65225-3500006-04 Установка пневмопривода тормозов
65225-3500006-06 Установка пневмопривода тормозов
5460-3500080-05 Установка пневмопривода в кабине
6520-3500014-34 Установка двухсекционного тормозного крана
5320-3514108 Кран тормозной двухсекционный с педалью
100-3514108-10 Кран тормозной двухсекционный
65225-3500013-04 Установка воздушных ресиверов
53205-3513015 Ресивер
6520-3506001 Установка блока управления тормозами передней оси
6520-3506002 Установка блока управления тормозами задней тележки
65201-3506170-07 Установка охладителя
6520-3511001 Блок подготовки воздуха
6520-3500011-86 Установка осушителя
6520-3511001-86 Осушитель
6520-3513011-86 Ресивер
65222-3518010-04 Блок управления тормозами задней тележки
6520-3518010-83 Блок управления тормозами задней тележки
54115-3521110 Головка соединительная автоматическая правая в сборе с трубопроводом спиральным
6460-3542005 Модуляторы с соединительной арматурой
5460-3542005 Блок модуляторов АБС
6520-3542005 Блок модуляторов АБС
6520-3542007-80 Блок задних модуляторов АБС
6460-3570009 Клапан электромагнитный с фитингами
6520-3501090-40 Колодка тормоза с накладками
6520-3501090-41 Колодка тормоза с накладками
6520-3502011-12 Тормоз задний
6520-3502128 Кронштейн с втулками
65115-3509001-03 Установка компрессора
740.30-3509004-03 Установка компрессора
7406.3509003-03 Установка компрессора
7406.3509003-13 Установка компрессора
6522-3519310 Камера тормозная тип 30
6520-3541110 Датчик скорости с кронштейном
5308-3570010 Корпус вспомогательного тормоза с пневмоцилиндром
5308-3570014 Корпус вспомогательного тормоза с заслонкой
53205-3570205 Пневмоцилиндр вспомогательного тормоза
53215-3570210 Цилиндр пневматический ф35х65
6522-3700001 -34 Электрооборудование. Расположение на автомобиле
65222-3700060-20 Электрооборудование. Расположение на панели приборов
6522-3700001-34 Светотехника на автомобиле
65225-3700001-42 Электрооборудование. Расположение на автомобиле
65221-3700060-20 Электрооборудование. Расположение на панели приборов
65225-3700001-42 Светотехника на автомобиле
6520-3703001 Установка аккумуляторных батарей
65115-3710001-61 Установка выключателей
65116-3710001-30 Установка выключателей
65228-3710002 Установка выключателя коробки отбора мощности
5308-3710004 Установка выключателя аккумуляторной батареи
65115-3710007 Установка выключателя ЭФУ
53205-3714003 Установка плафона освещения вещевого ящика
53205-3711040 Установка таблички регулировки пучка света фар
460-3723007-10 Установка парковочной розетки и спирального кабеля
6520-3718001 Установка блока управления корректором фар
5320-3721001-10 Установка звуковых электрических сигналов
65115-3722002 Установка блока предохранителей
4308-3722001-30 Установка предохранителей
53205-3723005 Установка розетки переносной лампы
5320-3737001-01 Установка малогабаритного выключателя массы
6520-3740001 Установка блока управления ЭФУ
65115-3741016-70 Установка электрооборудования системы подогрева топлива на панели
65228-3741001 Установка электрооборудования подогревателя
65115-3741017 Установка оборудования обогрева зеркал
65115-3741018 Установка электрооборудования обогрева зеркал на кабине
4308-3747001-50 Установка реле
740.60-3701001-50 Установка генератора
740.60-3708005 Установка стартера и фиксатора
740.70-3724010 Установка жгута проводов
740.70-3724050 Установка блока управления
53215-3700005 Установка электрооборудования на козырьке
65115-3738002 Установка габаритных фонарей
740.62-3800001-55 Установка заглушек
5308-3802001 Пломбировка спидометра
5308-3805001 Установка щитка приборов
4308-3830005 Установка датчиков указателя давления воздуха
53205-3830002 Установка датчиков аварийного давления воздуха
65115-3840001 Установка тахографа
6520-3840002-50 Пломбировка датчика скорости
6520-4000010-74 Система управления двигателем. Расположение на автомобиле
6520-4000012-30 АБС. Расположение на автомобиле
65225-4000012-31 Система управления АБС. Расположение на автомобиле
43253-4000120-10 АБС. Расположение на панели приборов
43253-4000220-10 АБС. Расположение на кабине
6520-4000320-30 Управление АБС с функцией ПБС. Расположение на шасси ABS.
65225-2700001-20 Установка седельно-сцепного устройства
6520-4202005-20 Установка коробки отбора мощности с насосом
6520-4202006-60 Установка управления коробки отбора мощности
65201-5000003 Установка передней подвески кабины
65201-5001006 Установка задней подвески кабины
65201-5002051-10 Установка ограничителя подъма кабины
43253-5000012-06 Кабина в сборе с оперением
6520-5000014-83 Кабина с дверями окрашенная
65225-5000014-87 Кабина с дверями окрашенная
5460-5000121 Установка сиденья водителя
5460-5000122 Установка сиденья пассажира
5460-5000123 Установка среднего сиденья
6520-5000079-50 Установка механизма опрокидывания кабины
6520-5003179-20 Механизм опрокидывания кабины
53205-5101250 Установка облицовок порогов
65201-5109001 Установка ковров и термошумоизоляции пола
53205-5114250 Установка усилителя противоударного
6520-5205001 Установка стеклоочистителя
65115-5206005 Установка ветровых стекол
65115-5208004 Установка омывателя
6560-5300023-10 Установка панели приборов
6560-5325300 Щиток нижний с приборами
6522-5325160 Установка поручней панели приборов и облицовок стоек
53205-5310001 Установка ручки передка
65115-5603005 Установка стекол окна задка
6522-5614200 Установка шумоизоляционного экрана над двигателем
65201-5614200 Установка шумоизоляционных экранов двигателя
65115-6100005 Установка стекол и арматуры двери
65115-6102005 Установка обивок двери
65115-6103005 Установка форточек двери
65115-6104005 Установка стеклоподъемников двери
65115-6104011 Стеклоподъемник двери
65115-6104030 Механизм стеклоподъемника двери
5320-6105011 Установка замков и ручек двери левая
5320-6105021-10 Замок двери левый
5320-6105035-10 Фиксатор замка левый
5320-6105080 Привод замка двери правый в сборе
5320-6105150 Ручка двери наружная
65115-6110005 Установка опускных стекол
65115-6114005 Установка подлокотников двери
53205-6100014 Дверь правая
53205-6100015 Дверь левая
65115-6108005 Установка косынок передка и ограничителя открывания двери
54115-6800900-02 Схема подключения пневмосистемы сидений
6460-6800900-02 Схема подключения пневмосистемы сидений
4308-7900010 Радиооборудование. Расположение на панели приборов
4308-7900020 Радиооборудование. Расположение на кабине
4308-8100005-91 Установка системы отопления кабины
4308-8101060 Радиатор отопителя
5320-8105160-02 Кран отопления
5320-8109020-10 Привод управления отоплением
5320-8118027 Улитка вентилятора с распределителем левая
5320-8118069 Колесо рабочее с электродвигателем
6520-8106002-93 Установка топливного бачка и топливопроводов подогревателя
6520-8106003-92 Установка жидкостных рукавов
6520-8106005-92 Установка подогревателя и электронасоса
5460-8201002-01 Установка зеркал заднего вида
6522-8202005 Установка поручней входа
53205-8212300 Установка окантовок и уплотнителей
65115-8213005 Установка надоконных полок
65115-8217005-01 Установка ремня безопасности водителя
65115-8217007-01 Установка ремня безопасности среднего пассажира
5460-8207020-10 Установка столика-крышки
6520-8212008-01 Установка заводских боковых знаков
53229-8212008-01 Установка заводских боковых знаков
65115-8212180 Установка маркировки светоотражающей на кабине
43255-8400006 Установка оперения кабины
43255-8400006-08 Установка оперения кабины
63501-8401009 Установка облицовочной панели
65115-8403010-04 Установка задней части переднего крыла правая
65115-8403011-04 Установка задней части переднего крыла левая
6522-8404005-61 Установка задних крыльев
65225-8404005-40 Установка задних крыльев
6522-8404330 Установка брызговиков
65225-8404100 Установка настила
65222-8405020 Установка подножки дополнительной
65225-8405100 Установка лестницы
65222-8405200 Установка подножки откидной
53205-8415002 Установка аэродинамического козырька
65222-8416009 Нижний пояс «Рестайлинг».Условная сборочная единица
65222-8416009-50 Нижний пояс «Рестайлинг» .Условная сборочная единица
65222-8405011 Установка подножек левая
5460-8416012-10 Установка облицовки буфера
5460-8416012-50 Установка облицовки буфера
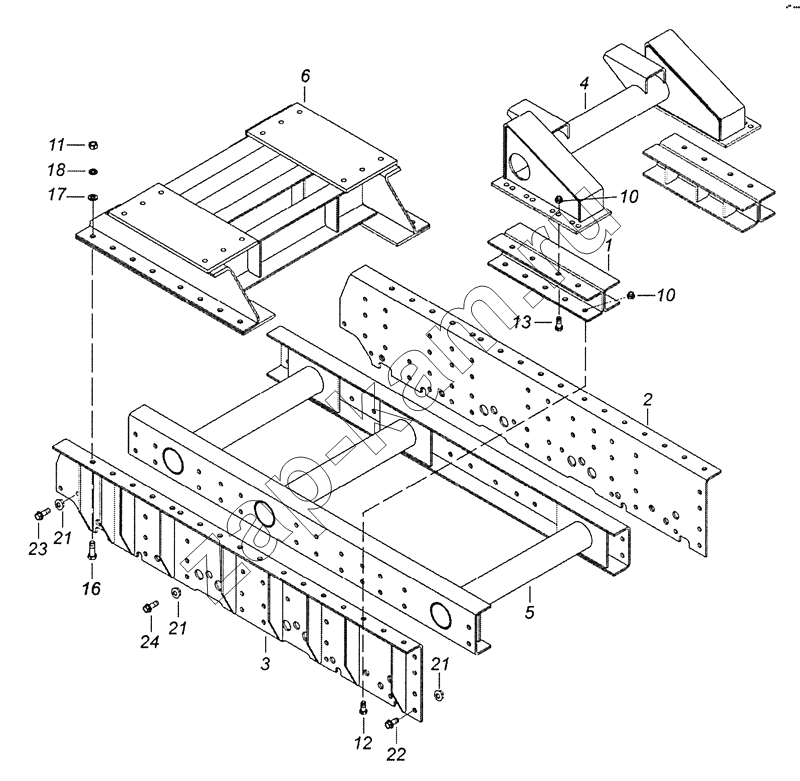
1
2
3
4
5
6
6
10
10
11
12
13
16
17
18
21
21
21
22
23
24
Поз.
Артикул
Название детали
Кол-во
65225-2800040-21
65225-2800040-21
Установка надрамника
1;
65225-2800040-22
65225-2800040-22
Установка надрамника
1;
65225-2800040-23
65225-2800040-23
Установка надрамника
1;
65225-2800040-20
65225-2800040-20
Установка надрамника
1;
1
65225-2702150
Подставка склиза
2;
2
65225-2702180
Усилитель седельного устройства правый
1;
3
65225-2702181
Усилитель седельного устройства левый
1;
4
65225-2702190
Склиз
1;
5
65225-2800050
Надрамник
1;
6
65225-2800070
Подставка седла
1;
6
65226-2800070
Подставка седла
1;
10
251649
Гайка М16х1,5-6Н ОСТ 37.001.197-97
16;
11
1\21642\11
Гайка
16;
12
1\13762\21
Болт М16x1.5-6gx35
10;
13
1\13905\21
Болт
6;
16
1\59844\21
Болт
16;
17
1\05203\01
Шайба плоская
16;
18
1\05173\77
Шайба пружинная
16;
21
45104993004200
Гайка М16х1,50-6Н
90;
22
45104991099800
Болт М16х1,50-6gx35
52;
23
45104991099500
Болт М16х1,50-6gх45
34;
24
45104991099700
Болт М16х1,5-6gx55
4;
Содержащиеся в справочниках-каталогах запасные части и детали не предлагаются к продаже, а носят исключительно информационный характер
Дополнительная информация
×
Название:
Номер:
Примечание:
Войти
Имя пользователя
Пароль
Забыли пароль?
Запомнить меня
Войти
Поиск товаров
Поиск товаров
Корзина покупок