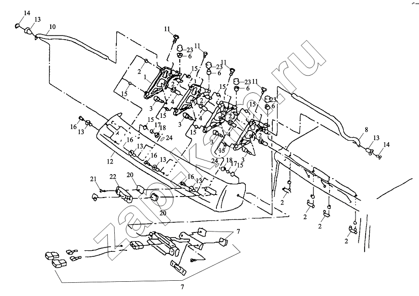
Солнцезащитный козырек
/ Shaanxi DeLONG Е-3 (самосвал)

1
2
2
2
2
2
2
2
2
2
3
3
3
3
4
4
4
6
6
6
6
7
7
8
9
10
11
11
11
11
12
13
13
13
13
13
13
14
14
15
15
15
15
15
15
15
15
15
16
16
16
16
17
17
18
18
19
20
20
21
22
23
23
23
23
24
24
Поз. | Артикул | Название детали | Кол-во | |
---|---|---|---|---|
1 | 81.63735.0025 | Кронштейн | 4; | |
2 | 81.63735.5005 | Хомут | 4; | |
3 | 06.01470.0516 | Болт М8х35Z1-8,8-МАN183-А2С | 4; | |
4 | 06.13169.0007 | Болт АМ5х15,2-СR60/СUZN | 4; | |
5 | 81.63735.0018 | Шайба уплотнительная | 4; | |
6 | 06.11229.0003 | Гайка М8SС-8-А3С | 8; | |
7 | 81.63701.6023 | Пластиковое крепление | 2; | |
8 | 06.13189.0012 | Гайка SТ4,2-2-А3С | 4; | |
9 | 81.63701.0023 | Кронштейн левый | 1; | |
10 | 81.63701.0022 | Кронштейн правый | 1; | |
11 | 81.90470.0607 | Болт РТ-КА6х50-WN1442-SТ-А3В | 4; | |
12 | 81.63701.0021 | Солнцезащитный козырек | 1; | |
13 | 81.96210.0509 | Втулка | 10; | |
14 | 06.04201.8611 | Винт | 2; | |
15 | 81.96601.0456 | Уплотнитель асбестовый | 10; | |
16 | 81.90470.0626 | Болт РТ-К6х30-WN1451-SТ-Т25-А3L | 8; | |
17 | 06.15191.0207 | Шайба 6,4х18х1,6-140НV-МАN183-В1 | 2; | |
18 | 06.11184.0112 | Гайка АМ6-8-МАN183-В1 | 2; | |
19 | 81.63701.0013 | Кронштейн лампочек | 2; | |
20 | 06.13189.0071 | Пластина-фиксатор SТ4,2-7-А3С | 4; | |
21 | 06.13189.0012 | Гайка SТ4,2-2-А3С | 4; | |
22 | 06.07175.1506 | Винт SТ4,2х22С-Н-А3R | 4; | |
23 | 81.96410.0503 | Крышка | 12; | |
24 | 82.96002.0017 | Пробка | 2; |
Содержащиеся в справочниках-каталогах запасные части и детали не предлагаются к продаже, а носят исключительно информационный характер