ЗапКам
zap-kam16@yandex.ru
(900) 323-41-41
Вход / Регистрация отключена
Вход
Избранное
0
по запросу
Каталог
Все товары и категории
Запчасти КАМАЗ
Двигатель
Двигатели в сборе
Евро-0
КамАЗ-4310
Урал-4320
КамАЗ-4350
Евро-1
КамАЗ-43114
Евро-2
КамАЗ-43118
КамАЗ-65115
КамАЗ-6520
Евро-3
Евро-4
Евро-5
Газовые
Блоки цилиндров
Блоки цилиндров Евро-0 КамАЗ
Блоки цилиндров Евро-1 КамАЗ
Блоки цилиндров Евро-2 КамАЗ
Блоки цилиндров Евро-3 КамАЗ
Блоки цилиндров Евро-4,5 КамАЗ Common Rail
Сборочные комплекты (лонг-, шорт-блоки)
Блоки управления
Валы коленчатые
Коленвалы Евро-0 КамАЗ
Коленвалы Евро-1 КамАЗ
Коленвалы Евро-2 КамАЗ
Коленвалы Евро-3 КамАЗ
Коленвалы Евро-4,5 КамАЗ Common Rail
Вкладыши коренные
Евро-3,4,5
Евро-0,1,2
Вкладыши шатунные
Евро-3,4,5
Евро-0,1,2
Валы распредительные
ЦПГ – поршневая
Поршневая Евро-4,-5 (740.602)
Поршневая Евро-2,-3 (740.60)
Поршневая Евро-1,-2 (740.30)
Поршневая Евро-0,1 (740)
Кольца поршневые
ТНВД
Евро-4-5 Common Rail
Евро-3
Евро-2
Евро-1
Евро-0
Система питания
Форсунки топливные
Распылители форсунок
Топливозаборники
ГБЦ
Евро-3,4,5 Common Rail
Евро-1,2,3
Евро-0
Газ
Турбокомпрессоры
ТРК Евро-4,5 (однотурбовые)
Евро-4
Евро-3
Евро-2
Евро-1
Насос водяной
Насос масляный
Маховики
Коробка передач
КПП в сборе
Валы
Валы вторичные
Валы первичные
Валы промежуточные
Шестерни
Синхронизаторы
Делители в сборе
Коробка раздаточная
РК в сборе
РК 6522
Дифференциалы
Валы
Валы первичные
Валы промежуточные
Вилки
Шестерни
Механизмы переключения
Трансмиссия
Мосты
Редукторы в сборе
Заднего моста
Переднего моста
Среднего моста
Зубьев
31, 35
50
49
48
47
46
КамАЗ
4310
43114
43118
4326
5320
53205
65115
43253
53229
6520
6522
4308
65111
65116
65117
55102
55111
53212
53215
54115
5410
5511
Мосты в сборе
Передние
Средние
Задние
6520, 6522 (20т)
65115 (15т)
65111 (15т)
43118 (10т)
43114 / 4310 (8т)
53205 Евро (10т)
5320 (8т)
5511 (10т)
МОД
Мадара
Подвеска в сборе
Ось передняя
Ось в сборе
Ходовая часть
Подвеска (тележка) в сборе
Колеса и шины
Рама
Рессоры
Лебедка
Механизмы управления
Отопление и вентиляция
Система выпуска
Сцепление
Тормоза
Кабина
Управление рулевое
Электрооборудование
Автомобили
КАМАЗ 5490
Двигатель 457
Двигатели в сборе
Сцепление
Кабина
Кузов
Мосты
Рама
Система выпуска
Тормоза
Управление рулевое
Ходовая часть
КАМАЗ К5
Двигатели WeiChai
Двигатели в сборе
Двигатели Р6
Двигатели 910 Р6 в сборе
Кабина
Сцепление
Тормоза
Управление рулевое
Электрооборудование
ZF
КПП ZF в сборе
16S EcoSplit
КПП 16s 1820 TO
КПП 16S 2220
9S Ecomid
12AS Astronic
12TX Traxon
Запчасти 12tx Traxon
Cummins
Двигатели в сборе
Блоки цилиндров
Коленвалы
Головки блока
Генератор
Китайские грузовики
Shaanxi HanDe
Fast Gear
Sitrak
Weichai
FAW
Laizhou Tongji
Европейские грузовики
Mercedes
Электрооборудование
Блоки управления
Блоки управления ADM
Блоки управления CPC4
Блоки управления двигателем
Блоки управления электрооборудованием
Датчики
Стартеры
Карданная передача
Карданы КамАЗ
Коробки отбора мощности
Прицепная техника
ССУ (Седла)
Ремонт
Ремонт двигателей
Ремонт КПП Камаз и ZF
Ремонт раздаток и редукторов
Ремонт кабин
Услуги
Комплектация заявок
Скупка запчастей и агрегатов
Контакты
Отправить заявку
Каталоги запчастей к технике
Грузовые
Shaanxi
DeLONG Е-3 (тягач)
Рулевая колонка
Поиск
Рулевая колонка
/ Shaanxi DeLONG Е-3 (тягач)
zoom-in
zoom-out
enlarge
shrink
circle-right
circle-left
file-text2
info
cart
Тип техники
Не выбрано
Грузовые
Двигатели
Марка
Не выбрано
DAF
DongFeng
FAW
Foton
HOWO
IVECO
JAC Motors
MAN
Shaanxi
SITRAK
Volvo
Автокомпонент Плюс
ЗИЛ
КАЗ
КамАЗ
Мадара
НефАЗ
СЗАП
Тонар
УралАЗ
Модель
Не выбрано
DeLONG Е-3 (самосвал) (2008)
DeLONG Е-3 (тягач) (2008)
MAN-F2000 (SX3254JS384) (2008)
Shacman F2000 (2013)
Shacman F3000 (2013)
Shacman SX1255GP4 (2016)
Shacman SX13164N456
Shacman SX3255DR385 (2011)
Shacman SX3256DR384 (F3000) (2015)
Shacman SX3256DT384 (2011)
Shacman SX32586T384 (X3000)
Shacman SX3258DR384 (F3000)
Shacman SX3258DR384—F2000
Shacman SX3316DR366 (F2000) (2011)
Shacman SX3316DT366 (2011)
Shacman SX3316DT426C
Shacman SX3316DV386
Shacman SX3316HT406C
Shacman SX331853386 (X5000) (2023)
Shacman SX331863366 (X3000) (2021)
Shacman SX33186T386 (X3000)
Shacman SX3318DT366 (F3000)
Shacman SX3318HT366TL
Shacman SX4188YY381
Shacman SX4255DV385 (2011)
Shacman SX42564V324 (X3000)
Shacman SX4256NT324
Shacman SX42584V324
Shacman SX42584V384TL
Shacman SX5256GJBMR364 (2018)
Shacman SX5315GJB5V326C (X3000) (2021)
Shacman SX5318GJBDT386TL
SX-3255-DR 3804B 6х4
SX32566R384
Схема
>
Не выбрано
Кронштейны крыла левого/правого
Кронштейн подножки
Рабочая площадка
Задний кронштейн крыла
Высокая кабина сваривая в сборе
Высокая кабина сваривая в сборе
Компоновка кабины
Крыша высокой кабины в сборе
Электроподъемник люка
Ручной люк
Панель приборов
Кожух кабеля
Заглушка передней панели
Радиаторная решетка и вакуумный индикатор воздухофильтра
Стеклоочиститель
Кронштейн стеклоочистителя
Водонасос стеклоочистителя и его принадлежности
Лобовое стекло
Панель приборов
Крепление диагностической системы
Крышка правая вспомогательной электросистемы
Изоляция капота двигателя с кронштейном
Пол и капот двигателя
Покрытие пола и противозаносная лента
Половик
Звукоизоляционная панель
Врутреняя облицовка с кронштейном и ручкой
Боковая панель уплотнительная с кронштейном
Боковая панель уплотнительная с кронштейном
Боковина кабины
Задняя уплотнительная панель
Задняя уплотнительная панель
Крепление спального места
Крепление нижнего спального места
Спальное место нижнее
Спальное место верхнее
Панель задняя
Крышка сиденья
Сиденье левое
Сиденье правое
Ограничитель и механизм левой двери
Ограничитель и механизм правой двери
Шарниры левой и правой двери
Стеклоподъёмник ручной
Электростеклоподъёмник левой двери
Электростеклоподъёмник правой двери
Элементы левой двери
Элементы правой двери
Окно левой двери
Окно правой двери
Облицовочная панель левой двери
Облицовочная панель правой двери
Форточка левой двери
Форточка правой двери
Кронштейн пола
Крепление кронштейна пола
Механизм подъема кабины
Элементы передней подвески
Механизм законтривания кабины
Гидравлический механизм подъема кабины
Крыло левое
Крыло правое
Заднее крыло кабины левое
Заднее крыло кабины правое
Подножка левой двери
Подножка правой двери
Крышка защитная заднего брызговика
Ручка задней панели кабины
Облицовочная панель передняя боковая
Солнцезащитная занавеска
Окружающая шторка и крепление
Шторки
Багажник
Солнцезащитный козырек
Зеркало нижнего вида правое с подогревом
Зеркало заднего вида с подогревом
Зеркало заднего вида широкое правое с подогревом
Крепление зеркала заднего вида левое
Крепление зеркала заднего вида правое
Задние панели высокой кабины
Эмблемы
Ящик инструментов
Кронштейн домкрата
Буфер и связывающая упорка
Блок цилиндров
Маховик коленчатого вала
Шатун и поршень
Головка цилиндра в сборе
Воздухораспределительный механизм
Шестерёнчатый привод
Ременный привод
Система питания
Форсунка
Выхлопная система
Впускная система
Подвеска двигателя
Воздушный фильтр
Охлаждающая система (тягач)
Расширительный бачок
Газоотвод и глушитель
Механизм управления акселератором
Топливный бак 400 л. в сборе
Диафрагменное сцепление стяжное диаметр 430
Механизм привода сцепления стяжного
Клапан управления механизмом сцепления
Карданный вал в сборе
Карданный вал в сборе
Карданный вал в сборе
Карданный вал
Карданный вал
Корпус КПП 12JS180TA в сборе
Первичный вал в сборе
Корпус сцепления
Задняя крышка в сборе
Сервоусилитель в сборе
Крышка заднего подшипника в сборе
Сваренный удлиненный вал в сборе
Регулятор воздушного фильтра и пробка в сборе
Соединитель спидометра
Вторичный вал в сборе
Промежуточный вал в сборе
Борткольцо промежуточного вала в сборе
Промежуточный вал задней передачи в сборе
Подшипник вторичного вала
Верхняя крышка в сборе
Механизм управления в сборе
Клапан одинарный в сборе
Направляющая задней передачи в сборе
Механизм управления перемен передач
Вспомогательный держатель
Рама в сборе
Рама в сборе
Передняя подвеска (4х2 6х4)
Передняя подвеска (8х4)
Задняя подвеска (4х2)
Балансирная подвеска
Балансирная подвеска
Передний стабилизатор в сборе (6х4 4х2)
Передний стабилизатор в сборе (8х4)
Задний стабилизатор (4х2)
Задний стабилизатор (6х2)
Задний амортизатор
Амортизатор гаризонтальный (8х4)
Штанга реактивная верхняя
Штанга реактивная нижняя
Передняя рессора
Задняя рессора (4х2 6х2)
Передний мост
Поперечная рулевая тяга
Корпус среднего моста
Привод среднего моста
Привод среднего моста
Привод среднего моста
Корпус заднего моста
Привод заднего моста
Планетарный редуктор заднего моста
Планетарный редуктор заднего моста
Рулевая колонка
Гидравлическое устройство
Двухстороннее устройство
Двухстороннее гидравлическое устройство
Бачок в сборе
Гидронасос в сборе
Механизм управления рабочего тормоза
Механизм управления стояночного тормоза
Передний тормоз в сборе
Передний тормоз в сборе
Тормоз среднего моста
Тормоз среднего моста
Тормоз заднего моста
Тормоз заднего моста
Схема тормозной системы для бортовых автомобилей 4х2
Схема тормозной системы для тягача 4х2
Схема тормозной системы для тягача 6х4
Схема тормозной системы для тягача 6х4
Система AБС для автомобиля 4х2
Система AБС для автомобиля 6х4
Пневмопровода воздушного компрессора
Влагоотделитель, четырехконтурный предохранительный клапан, баллоны
Пневмопривод моторного тормоза
Воздушный сигнал
Трубопровода прицепа
Пневмопровода межколесной блокировки
Пневмопровода межосевой блокировки
Пневмопровода двухосной межколесной блокировки
Фитинги и штуцеры
Фитинги и штуцеры
Фитинги и штуцеры
Трубные штуцеры
Трубные штуцеры
Баллоны
Баллоны
Баллоны
Комплекс приборов в сборе
Лампочки индикаторные
Электронный спидометр
Электронный тахометр
Переключатель и прикуриватель
Переключатели
Система управления кондиционера
Отопитель и система управления
Воздухозаборное устройство для кабины
Воздухопровод
Отопительное оборудование (без кондиционера)
Трубопровода кондиционера
Емкость кондиционерной жидкости
Подрулевой переключатель и замок руля
Выключатель сцепления и выключатель тормозного света
Кнопка (моторное торможение)
Блок предохранителей и реле
Блок предохранителей и реле
Переключатель электростеклоподъемника (на выбор)
Элементы управления АБС
Жгуты магнитолы
Передние фары и лампочки поворота в сборе
Передние противотуманные фары
Указатель поворота на бампере
Электросигнал и электрооборудование на раме
Бокс распределения, зуммер заднего хода и розетка для прицепа
Задние фонари и кронштейн фонаря
Задние фонари с одноблочным брызговиком
Розетка АБС
Датчик системы АБС
Электромагнитный клапан системы АБС
Боковой указатель
Верхний лампы (на крыше высокой кабины)
Лампа внутренняя в кабине (низкая кабина)
Фонарь заднего освещения кабины
Рамка фонарей заднего освещения
Ящик аккумуляторных батарей
Жгут проводов
Жгуты внутри панели приборов
Жгут электростеклоподъемник
Жгут проводов предупреждающой лампы
Жгуты в потолке
Кабель спидометра
Жгут кондиционера
Жгуты левой и правой передней части
Установка седла
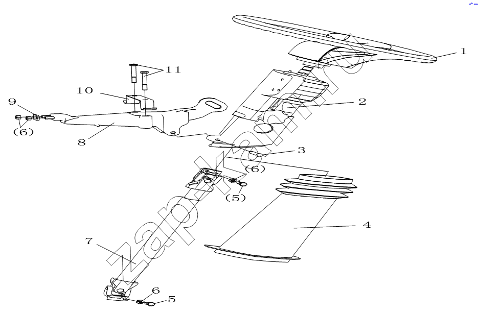
1
2
3
4
5
5
6
6
6
7
8
9
10
11
Поз.
Артикул
Название детали
Кол-во
1
DZ9112470030
Рулевое колесо
1;
2
DZ9112470001
Рулевая колонка в сборе
1;
3
81.91020.2289
Палец
1;
4
81.46132.0074
Трубка в сборе
1;
5
199012470051
Анкер болта
2;
6
Q33210
Гайка
4;
7
81.46122.6112
Телескопический вал
1;
8
81.46440.5073
Упор колонки
1;
9
81.97487.0225
Пластина соединения
1;
10
81.25441.0525
КРУ
1;
11
Q150B1080TF2
Болт
2;
Содержащиеся в справочниках-каталогах запасные части и детали не предлагаются к продаже, а носят исключительно информационный характер
Дополнительная информация
×
Название:
Номер:
Примечание:
Войти
Имя пользователя
Пароль
Забыли пароль?
Запомнить меня
Войти
Поиск товаров
Поиск товаров
Корзина покупок