ЗапКам
zap-kam16@yandex.ru
(900) 323-41-41
Вход / Регистрация отключена
Вход
Избранное
0
по запросу
Каталог
Все товары и категории
Запчасти КАМАЗ
Двигатель
Двигатели в сборе
Евро-0
КамАЗ-4310
Урал-4320
КамАЗ-4350
Евро-1
КамАЗ-43114
Евро-2
КамАЗ-43118
КамАЗ-65115
КамАЗ-6520
Евро-3
Евро-4
Евро-5
Газовые
Блоки цилиндров
Блоки цилиндров Евро-0 КамАЗ
Блоки цилиндров Евро-1 КамАЗ
Блоки цилиндров Евро-2 КамАЗ
Блоки цилиндров Евро-3 КамАЗ
Блоки цилиндров Евро-4,5 КамАЗ Common Rail
Сборочные комплекты (лонг-, шорт-блоки)
Блоки управления
Валы коленчатые
Коленвалы Евро-0 КамАЗ
Коленвалы Евро-1 КамАЗ
Коленвалы Евро-2 КамАЗ
Коленвалы Евро-3 КамАЗ
Коленвалы Евро-4,5 КамАЗ Common Rail
Вкладыши коренные
Евро-3,4,5
Евро-0,1,2
Вкладыши шатунные
Евро-3,4,5
Евро-0,1,2
Валы распредительные
ЦПГ – поршневая
Поршневая Евро-4,-5 (740.602)
Поршневая Евро-2,-3 (740.60)
Поршневая Евро-1,-2 (740.30)
Поршневая Евро-0,1 (740)
Кольца поршневые
ТНВД
Евро-4-5 Common Rail
Евро-3
Евро-2
Евро-1
Евро-0
Система питания
Форсунки топливные
Распылители форсунок
Топливозаборники
ГБЦ
Евро-3,4,5 Common Rail
Евро-1,2,3
Евро-0
Газ
Турбокомпрессоры
ТРК Евро-4,5 (однотурбовые)
Евро-4
Евро-3
Евро-2
Евро-1
Насос водяной
Насос масляный
Маховики
Коробка передач
КПП в сборе
Валы
Валы вторичные
Валы первичные
Валы промежуточные
Шестерни
Синхронизаторы
Делители в сборе
Коробка раздаточная
РК в сборе
РК 6522
Дифференциалы
Валы
Валы первичные
Валы промежуточные
Вилки
Шестерни
Механизмы переключения
Трансмиссия
Мосты
Редукторы в сборе
Заднего моста
Переднего моста
Среднего моста
Зубьев
31, 35
50
49
48
47
46
КамАЗ
4310
43114
43118
4326
5320
53205
65115
43253
53229
6520
6522
4308
65111
65116
65117
55102
55111
53212
53215
54115
5410
5511
Мосты в сборе
Передние
Средние
Задние
6520, 6522 (20т)
65115 (15т)
65111 (15т)
43118 (10т)
43114 / 4310 (8т)
53205 Евро (10т)
5320 (8т)
5511 (10т)
МОД
Мадара
Подвеска в сборе
Ось передняя
Ось в сборе
Ходовая часть
Подвеска (тележка) в сборе
Колеса и шины
Рама
Рессоры
Лебедка
Механизмы управления
Отопление и вентиляция
Система выпуска
Сцепление
Тормоза
Кабина
Управление рулевое
Электрооборудование
Автомобили
КАМАЗ 5490
Двигатель 457
Двигатели в сборе
Сцепление
Кабина
Кузов
Мосты
Рама
Система выпуска
Тормоза
Управление рулевое
Ходовая часть
КАМАЗ К5
Двигатели WeiChai
Двигатели в сборе
Двигатели Р6
Двигатели 910 Р6 в сборе
Кабина
Сцепление
Тормоза
Управление рулевое
Электрооборудование
ZF
КПП ZF в сборе
16S EcoSplit
КПП 16s 1820 TO
КПП 16S 2220
9S Ecomid
12AS Astronic
12TX Traxon
Запчасти 12tx Traxon
Cummins
Двигатели в сборе
Блоки цилиндров
Коленвалы
Головки блока
Генератор
Китайские грузовики
Shaanxi HanDe
Fast Gear
Sitrak
Weichai
FAW
Laizhou Tongji
Европейские грузовики
Mercedes
Электрооборудование
Блоки управления
Блоки управления ADM
Блоки управления CPC4
Блоки управления двигателем
Блоки управления электрооборудованием
Датчики
Стартеры
Карданная передача
Карданы КамАЗ
Коробки отбора мощности
Прицепная техника
ССУ (Седла)
Ремонт
Ремонт двигателей
Ремонт КПП Камаз и ZF
Ремонт раздаток и редукторов
Ремонт кабин
Услуги
Комплектация заявок
Скупка запчастей и агрегатов
Контакты
Отправить заявку
Каталоги запчастей к технике
Грузовые
Shaanxi
Shacman SX4188YY381
КОНТРОЛЛЕР EBS; EBS CONTROLLER
Поиск
КОНТРОЛЛЕР EBS; EBS CONTROLLER
/ Shaanxi Shacman SX4188YY381
zoom-in
zoom-out
enlarge
shrink
circle-right
circle-left
file-text2
info
cart
Тип техники
Не выбрано
Грузовые
Двигатели
Марка
Не выбрано
DAF
DongFeng
FAW
Foton
HOWO
IVECO
JAC Motors
MAN
Shaanxi
SITRAK
Volvo
Автокомпонент Плюс
ЗИЛ
КАЗ
КамАЗ
Мадара
НефАЗ
СЗАП
Тонар
УралАЗ
Модель
Не выбрано
DeLONG Е-3 (самосвал) (2008)
DeLONG Е-3 (тягач) (2008)
MAN-F2000 (SX3254JS384) (2008)
Shacman F2000 (2013)
Shacman F3000 (2013)
Shacman SX1255GP4 (2016)
Shacman SX13164N456
Shacman SX3255DR385 (2011)
Shacman SX3256DR384 (F3000) (2015)
Shacman SX3256DT384 (2011)
Shacman SX32586T384 (X3000)
Shacman SX3258DR384 (F3000)
Shacman SX3258DR384—F2000
Shacman SX3316DR366 (F2000) (2011)
Shacman SX3316DT366 (2011)
Shacman SX3316DT426C
Shacman SX3316DV386
Shacman SX3316HT406C
Shacman SX331853386 (X5000) (2023)
Shacman SX331863366 (X3000) (2021)
Shacman SX33186T386 (X3000)
Shacman SX3318DT366 (F3000)
Shacman SX3318HT366TL
Shacman SX4188YY381
Shacman SX4255DV385 (2011)
Shacman SX42564V324 (X3000)
Shacman SX4256NT324
Shacman SX42584V324
Shacman SX42584V384TL
Shacman SX5256GJBMR364 (2018)
Shacman SX5315GJB5V326C (X3000) (2021)
Shacman SX5318GJBDT386TL
SX-3255-DR 3804B 6х4
SX32566R384
Схема
>
Не выбрано
ДИСТАНЦИОННОЕ УПРАВЛЕНИЕ ECAS; ECAS REMOTE CONTROL
ЭЛЕКТРОННЫЙ БЛОК УПРАВЛЕНИЯ ECAS (CAN); ECAS ELECTRONIC CONTROL UNIT (CAN)
ПРЕДОХРАНИТЕЛЬ; FUSE
ОСНОВНАЯ ПЛАТФОРМА МОНИТОРИНГА ОКРУЖАЮЩЕЙ СРЕДЫ; ENVIRONMENTAI MONITORING MAINFRAME
ПЕРЕДНЯЯ КАМЕРА И КРЕПЛЕНИЕ; FRONT CAMERA ASSEMBLY, FRONT CAMERA BRACKET
ЛЕВАЯ КАМЕРА И КРЕПЛЕНИЕ, ОСНОВАНИЕ ДЛЯ УСТАНОВКИ БОКОВОЙ КАМЕРЫ, ЛЕВЫЙ ЩИТ КАМЕРЫ; LEFT CAMERA ASSEMBLY, THE BASE FOR ERECTING THE SIDE CAMERA, LEFT CAMERA SHIELD
ПРАВАЯ КАМЕРА И КРЕПЛЕНИЕ, ОСНОВАНИЕ ДЛЯ УСТАНОВКИ БОКОВОЙ КАМЕРЫ, ПРАВЫЙ ЩИТ КАМЕРЫ; RIGHT CAMERA ASSEMBLY, THE SIDE FOR ERECTING THE SIDE CAMERA, RIGHT CAMERA SHIELD
ЖГУТ ПРОВОДОВ МОНИТОРИНГА ОКРУЖАЮЩЕЙ СРЕДЫ, УСТАНОВЛЕННЫЙ В КАБИНЕ; ENVIRONMENTAL MONITORING CAB ATTACHED HARNESS
ЗАДНЯЯ КАМЕРА HD; HD REAR CAMERA
ДОПОЛНИТЕЛЬНЫЙ ЖГУТ ПРОВОДОВ КАБИНЫ; CAB ADDITIONAL HARNESS
ДОПОЛНИТЕЛЬНЫЙ ЖГУТ ПРОВОДОВ КАБИНЫ; CAB ADDITIONAL HARNESS
ДОПОЛНИТЕЛЬНЫЙ ЖГУТ ПРОВОДОВ КАБИНЫ; CAB ADDITIONAL HARNESS
БРЫЗГОВИК; MUDGUARD
КОНТРОЛЛЕР EBS; EBS CONTROLLER
ТАБЛИЧКА ИДЕНТИФИКАЦИИ ТРАНСПОРТНОГО СРЕДСТВА; VEHICLE IDENTIFICATION PLATE
ТАБЛИЧКА ИДЕНТИФИКАЦИИ ТРАНСПОРТНОГО СРЕДСТВА; VEHICLE IDENTIFICATION PLATE
УСТРОЙСТВО УПРАВЛЕНИЯ СЦЕПЛЕНИЕМ; PULL CLUTCH CONTROL DEVICE
РУЛЕВАЯ ОСЬ; STEER AXLE
АЛЮМИНИЕВЫЙ ТОПЛИВНЫЙ БАК; ALUMINUM ALLOY FUEL TANK ASSEMBLY
АЛЮМИНИЕВЫЙ ТОПЛИВНЫЙ БАК; ALUMINUM ALLOY FUEL TANK ASSEMBLY
АЛЮМИНИЕВЫЙ ТОПЛИВНЫЙ БАК; ALUMINUM ALLOY FUEL TANK ASSEMBLY
АЛЮМИНИЕВЫЙ ТОПЛИВНЫЙ БАК; ALUMINUM ALLOY FUEL TANK ASSEMBLY
АЛЮМИНИЕВЫЙ ТОПЛИВНЫЙ БАК; ALUMINUM ALLOY FUEL TANK ASSEMBLY
АЛЮМИНИЕВЫЙ ТОПЛИВНЫЙ БАК; ALUMINUM ALLOY FUEL TANK ASSEMBLY
БАМПЕР С СИСТЕМОЙ LED-ACC (БЕЗ ОЧИСТИТЕЛЯ ФАР); BUMPER SYSTEM-LED-ACC (NO HEADLAMP CLEANER)
БАМПЕР С СИСТЕМОЙ LED-ACC (БЕЗ ОЧИСТИТЕЛЯ ФАР); BUMPER SYSTEM-LED-ACC (NO HEADLAMP CLEANER)
БАМПЕР С СИСТЕМОЙ LED-ACC (БЕЗ ОЧИСТИТЕЛЯ ФАР); BUMPER SYSTEM-LED-ACC (NO HEADLAMP CLEANER)
БАМПЕР С СИСТЕМОЙ LED-ACC (БЕЗ ОЧИСТИТЕЛЯ ФАР); BUMPER SYSTEM-LED-ACC (NO HEADLAMP CLEANER)
БАМПЕР С СИСТЕМОЙ LED-ACC (БЕЗ ОЧИСТИТЕЛЯ ФАР); BUMPER SYSTEM-LED-ACC (NO HEADLAMP CLEANER)
БАМПЕР С СИСТЕМОЙ LED-ACC (БЕЗ ОЧИСТИТЕЛЯ ФАР); BUMPER SYSTEM-LED-ACC (NO HEADLAMP CLEANER)
БАМПЕР С СИСТЕМОЙ LED-ACC (БЕЗ ОЧИСТИТЕЛЯ ФАР); BUMPER SYSTEM-LED-ACC (NO HEADLAMP CLEANER)
БАМПЕР С СИСТЕМОЙ LED-ACC (БЕЗ ОЧИСТИТЕЛЯ ФАР); BUMPER SYSTEM-LED-ACC (NO HEADLAMP CLEANER)
БАМПЕР С СИСТЕМОЙ LED-ACC (БЕЗ ОЧИСТИТЕЛЯ ФАР); BUMPER SYSTEM-LED-ACC (NO HEADLAMP CLEANER)
СИСТЕМА ПОДАЧИ МОЧЕВИНЫ (WP13.550E501); UREA SUPPLY SYSTEM (WP13.550E501)
КАТАЛОГ ЗАПЧАСТЕЙ ЭЛЕКТРИЧЕСКОГО ОБОРУДОВАНИЯ ШАССИ, ФАР; CHASSIS, ELECTRICAL APPLIANCES, HEADLIGHT SPARE PARTS CATALOG
КАТАЛОГ ЗАПЧАСТЕЙ БОКОВЫХ ПОВОРОТНИКОВ ЭЛЕКТРИЧЕСКОГО ОБОРУДОВАНИЯ ШАССИ; CHASSIS ELECTRICAL SIDE TURN SIGNAL LAMP SPARE PARTS CATALOG
КАТАЛОГ ЗАПЧАСТЕЙ БОКОВЫХ ГАБАРИТНЫХ ОГНЕЙ ЭЛЕКТРИЧЕСКОГО ОБОРУДОВАНИЯ ШАССИ; CHASSIS ELECTRICAL SIDE MARKER LIGHT SPARE PARTS CATALOG
КАТАЛОГ ЗАПЧАСТЕЙ БОКОВЫХ ГАБАРИТНЫХ ОГНЕЙ ЭЛЕКТРИЧЕСКОГО ОБОРУДОВАНИЯ ШАССИ; CHASSIS ELECTRICAL SIDE MARKER LIGHT SPARE PARTS CATALOG
КАТАЛОГ ЗАПЧАСТЕЙ ЗАДНИХ ФОНАРЕЙ ЭЛЕКТРИЧЕСКОГО ОБОРУДОВАНИЯ ШАССИ; CHASSIS ELECTRICAL TAILLIGHT SPARE PARTS CATALOG
ЗВУКОИЗОЛИРУЮЩАЯ КАБИНА; NOISE INSULATION CAB
ПЕРЕДНЯЯ КРЫШКА; FRONT LID
ПЕРЕДНЯЯ КРЫШКА; FRONT LID
ШИРОКОЕ ПЕРЕДНЕЕ КРЫЛО (ИНСТРУМЕНТАЛЬНЫЙ ЯЩИК); WIDEN FRONT FENDER (TOOL CABINET)
ШИРОКОЕ ПЕРЕДНЕЕ КРЫЛО (ИНСТРУМЕНТАЛЬНЫЙ ЯЩИК); WIDEN FRONT FENDER (TOOL CABINET)
ЗАДНЕЕ КРЫЛО И ЗАЩИТА ОТ БРЫЗГ/X6000; REAR FENDER AND ANTI SPLASH/X6000
ЗАДНЕЕ КРЫЛО И ЗАЩИТА ОТ БРЫЗГ/X6000; REAR FENDER AND ANTI SPLASH/X6000
СТУПЕНЬКА КАБИНЫ ЛЕВАЯ; CABIN STEP ASSY_LH
СТУПЕНЬКА КАБИНЫ ЛЕВАЯ; CABIN STEP ASSY_LH
СТУПЕНЬКА КАБИНЫ ПРАВАЯ; CABIN STEP ASSY_RH
СТУПЕНЬКА КАБИНЫ ПРАВАЯ; CABIN STEP ASSY_RH
КРЕПЛЕНИЕ СТУПЕНЬКИ ШАССИ ЛЕВОЕ; CHASSIS STEP BRACKET LH
КРЕПЛЕНИЕ СТУПЕНЬКИ ШАССИ ПРАВОЕ; CHASSIS STEP BRACKET RH
СТУПЕНЬКА ШАССИ ЛЕВАЯ; CHASSIS STEP LH
СТУПЕНЬКА ШАССИ ПРАВАЯ; CHASSIS STEP RH
ДВЕРЬ ИНСТРУМЕНТАЛЬНОГО ЯЩИКА; TOOLBOX DOOR
ДВЕРЬ ИНСТРУМЕНТАЛЬНОГО ЯЩИКА; TOOLBOX DOOR
ВЕНТИЛЯЦИЯ КРЫШИ ДВИГАТЕЛЯ; MOTOR ROOF VENT
СИДЕНЬЕ; SEAT
КОВРОВОЕ ПОКРЫТИЕ; CARPET
СОЛНЦЕЗАЩИТНЫЙ РОЛЛЕР; SUN VISOR ROLLER
ЗВУКОИЗОЛИРУЮЩАЯ КАБИНА; NOISE INSULATION CAB
ЭЛЕКТРИЧЕСКИЕ КОМПОНЕНТЫ КАБИНЫ/КОНДИЦИОНЕР/КОНТРОЛЛЕР/АВТО; CAB ELECTRIC PART ASSESSORY/AC/CONROLLER/AUTO
СИСТЕМА ОЧИСТКИ ЛОБОВОГО СТЕКЛА/ЛЕВАЯ; WINDSCREEN RINSE SYSTEM/LEFT
СИСТЕМА ОЧИСТКИ ЛОБОВОГО СТЕКЛА/ЛЕВАЯ; WINDSCREEN RINSE SYSTEM/LEFT
КОНДИЦИОНЕР КАБИНЫ; CAB AIR CONDITION
ОБОГРЕВАТЕЛЬ КАБИНЫ (С КОНДИЦИОНЕРОМ); CAB HEATER DEVICE (WITH AIR CONDITION)
КОНДИЦИОНЕР КАБИНЫ; CAB AIR CONDITION
ОБОГРЕВАТЕЛЬ КАБИНЫ (С КОНДИЦИОНЕРОМ); CAB HEATER DEVICE (WITH AIR CONDITION)
ОБОГРЕВАТЕЛЬ КАБИНЫ (С КОНДИЦИОНЕРОМ); CAB HEATER DEVICE (WITH AIR CONDITION)
ВОЗДУШНЫЙ ОТКЛОНИТЕЛЬ; AIR DEFLECTOR
ВОЗДУШНЫЙ ОТКЛОНИТЕЛЬ; AIR DEFLECTOR
СОЛНЦЕЗАЩИТНЫЙ РОЛЛЕР; SUNVISOR ASSY
ВНЕШНИЕ КОМПОНЕНТЫ КАБИНЫ; CABIN EXTERIOR COMPONENTS
ВНЕШНИЕ КОМПОНЕНТЫ КАБИНЫ; CABIN EXTERIOR COMPONENTS
ВНЕШНИЕ КОМПОНЕНТЫ КАБИНЫ; CABIN EXTERIOR COMPONENTS
АКСЕССУАРЫ ДВИГАТЕЛЯ (WP12/WP13 EFFICIENT SUPERCHARGER/CAB4/CAB6); ACCESSORIES OF ENGINE (WP12/WP13 EFFICIENT SUPERCHARGER/CAB4/CAB6)
СПЕЦИАЛЬНЫЕ ИНСТРУМЕНТЫ ДЛЯ АВТОМОБИЛЯ; SPECIAL AND VEHICLE TOOLS
ПОЛУПРИЦЕПНАЯ БАЗА; SEMI TRAILING BASE
СИСТЕМА КАРДАННОГО ВАЛА; PROPELLER SHAFT SYSTEM
10-ДЮЙМОВЫЙ УМНЫЙ ЦЕНТРАЛЬНЫЙ ЭКРАН УПРАВЛЕНИЯ/HD/АНГЛИЙСКИЙ/ЕВРОПЕЙСКИЙ; 10-INCH SMART CENTRAL CONTROL SCREEN/HD/ENGLISH/EUROPEAN
КОНТРОЛЛЕР МОНИТОРИНГА ПОВЕДЕНИЯ ВОДИТЕЛЯ; DRIVER BEHAVIOR MONITORING CONTROLLER
КАМЕРА СИСТЕМЫ МОНИТОРИНГА ПОВЕДЕНИЯ ВОДИТЕЛЯ; DRIVER BEHAVIOR MONITORING SYSTEM CAMERA
УСТРОЙСТВО УПРАВЛЕНИЯ АКСЕЛЕРОГРАФОМ; ACCELEROGRAPH CONTROL DEVICE
ПЕРЕДНЯЯ ЗАЩИТА НИЖНЕЙ ЧАСТИ; FRONT UNDERPART PROTECTIVE ASSY
ПЕРЕДНИЙ АКСЕССУАР РАМЫ; FRAME FOREPART ACCESSORY
МОНИТОРИНГ ДАВЛЕНИЯ В ШИНАХ; TIRE PRESSURE MONITORING
МОНИТОРИНГ ДАВЛЕНИЯ В ШИНАХ; TIRE PRESSURE MONITORING
СБОРКА РАМЫ; FRAME ASSY
КРЕПЛЕНИЕ ECU; ECU BRACKET
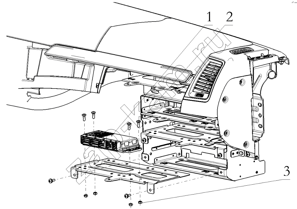
1
2
3
Поз.
Артикул
Название детали
Кол-во
1
DZ9X259584060
Ebs controller
1;
2
Q2140610
Cross recessed pan head screws
4;
3
Q340B06
Nut
4;
Содержащиеся в справочниках-каталогах запасные части и детали не предлагаются к продаже, а носят исключительно информационный характер
Дополнительная информация
×
Название:
Номер:
Примечание:
Войти
Имя пользователя
Пароль
Забыли пароль?
Запомнить меня
Войти
Поиск товаров
Поиск товаров
Корзина покупок