ЗапКам
zap-kam16@yandex.ru
(900) 323-41-41
Вход / Регистрация отключена
Вход
Избранное
0
по запросу
Каталог
Все товары и категории
Запчасти КАМАЗ
Автомобили
Двигатель
Двигатели в сборе
Евро-0
КамАЗ-4310
Урал-4320
КамАЗ-4350
Евро-1
КамАЗ-43114
Евро-2
КамАЗ-43118
КамАЗ-65115
КамАЗ-6520
Евро-3
Евро-4
Евро-5
Газовые
Блоки цилиндров
Блоки цилиндров Евро-0 КамАЗ
Блоки цилиндров Евро-1 КамАЗ
Блоки цилиндров Евро-2 КамАЗ
Блоки цилиндров Евро-4,5 КамАЗ Common Rail
Сборочные комплекты (лонг-, шорт-блоки)
Блоки управления
Валы коленчатые
Коленвалы Евро-0 КамАЗ
Коленвалы Евро-2 КамАЗ
Коленвалы Евро-3 КамАЗ
Коленвалы Евро-4,5 КамАЗ Common Rail
Вкладыши коренные
Евро-3,4,5
Евро-0,1,2
Вкладыши шатунные
Евро-3,4,5
Евро-0,1,2
Валы распредительные
ЦПГ – поршневая
Поршневая Евро-4,-5 (740.602)
Поршневая Евро-2,-3 (740.60)
Поршневая Евро-1,-2 (740.30)
Поршневая Евро-0,1 (740)
Кольца поршневые
ТНВД
Евро-4-5 Common Rail
Евро-2
Евро-1
Евро-0
Система питания
Форсунки топливные
Распылители форсунок
Топливозаборники
ГБЦ
Евро-3,4,5 Common Rail
Евро-1,2,3
Евро-0
Газ
Турбокомпрессоры
ТРК Евро-4,5 (однотурбовые)
Евро-4
Евро-3
Евро-2
Евро-1
Насос водяной
Насос масляный
Коробка передач
КПП в сборе
Валы
Валы вторичные
Валы первичные
Валы промежуточные
Шестерни
Синхронизаторы
Делители в сборе
Коробка раздаточная
РК в сборе
РК 6522
Дифференциалы
Валы
Валы первичные
Валы промежуточные
Вилки
Шестерни
Механизмы переключения
Трансмиссия
Мосты
Редукторы в сборе
Заднего моста
Переднего моста
Среднего моста
Зубьев
31, 35
50
49
48
47
46
КамАЗ
4310
43114
43118
4326
5320
53205
65115
43253
53229
6520
6522
4308
65111
65116
65117
55102
55111
53212
53215
54115
5410
5511
Мосты в сборе
Передние
Средние
Задние
6520, 6522 (20т)
65115 (15т)
65111 (15т)
43118 (10т)
43114 / 4310 (8т)
53205 Евро (10т)
5320 (8т)
5511 (10т)
МОД
Мадара
Подвеска в сборе
Ось передняя
Ось в сборе
Ходовая часть
Подвеска (тележка) в сборе
Колеса и шины
Рама
Рессоры
Лебедка
Механизмы управления
Система выпуска
Сцепление
Тормоза
Кабина
Управление рулевое
Электрооборудование
КАМАЗ 5490
Рама
Система выпуска
Сцепление
Тормоза
Управление рулевое
Ходовая часть
Кабина
Мосты
Двигатель 457
Двигатели в сборе
КАМАЗ К5
Электрооборудование
Управление рулевое
Двигатели WeiChai
Двигатели в сборе
Двигатели Р6
Двигатели 910 Р6 в сборе
Кабина
Сцепление
Тормоза
ZF
КПП ZF в сборе
16S EcoSplit
КПП 16s 1820 TO
КПП 16S 2220
9S Ecomid
12AS Astronic
12TX Traxon
Запчасти 12tx Traxon
Cummins
Двигатели в сборе
Блоки цилиндров
Головки блока
Генератор
Китайские грузовики
Fast Gear
Sitrak
FAW
Shaanxi HanDe
Weichai
Европейские грузовики
Mercedes
Электрооборудование
Стартеры
Блоки управления
Блоки управления ADM
Блоки управления CPC4
Блоки управления двигателем
Блоки управления электрооборудованием
Датчики
Карданная передача
Карданы КамАЗ
Коробки отбора мощности
Прицепная техника
ССУ (Седла)
Ремонт
Ремонт двигателей
Ремонт КПП Камаз и ZF
Ремонт раздаток и редукторов
Ремонт кабин
Услуги
Комплектация заявок
Скупка запчастей и агрегатов
Контакты
Отправить заявку
Каталоги запчастей к технике
Грузовые
Shaanxi
Shacman SX5315GJB5V326C (X3000)
AIR CONDITION PIPES
Поиск
AIR CONDITION PIPES
/ Shaanxi Shacman SX5315GJB5V326C (X3000)
zoom-in
zoom-out
enlarge
shrink
circle-right
circle-left
file-text2
info
cart
Тип техники
Не выбрано
Грузовые
Двигатели
Марка
Не выбрано
DAF
DongFeng
FAW
Foton
HOWO
IVECO
JAC Motors
MAN
Shaanxi
SITRAK
Volvo
Автокомпонент Плюс
ЗИЛ
КАЗ
КамАЗ
Мадара
НефАЗ
СЗАП
Тонар
УралАЗ
Модель
Не выбрано
DeLONG Е-3 (самосвал) (2008)
DeLONG Е-3 (тягач) (2008)
MAN-F2000 (SX3254JS384) (2008)
Shacman F2000 (2013)
Shacman F3000 (2013)
Shacman SX1255GP4 (2016)
Shacman SX13164N456
Shacman SX3255DR385 (2011)
Shacman SX3256DR384 (F3000) (2015)
Shacman SX3256DT384 (2011)
Shacman SX32586T384 (X3000)
Shacman SX3258DR384 (F3000)
Shacman SX3258DR384—F2000
Shacman SX3316DR366 (F2000) (2011)
Shacman SX3316DT366 (2011)
Shacman SX3316DT426C
Shacman SX3316DV386
Shacman SX3316HT406C
Shacman SX331853386 (X5000) (2023)
Shacman SX331863366 (X3000) (2021)
Shacman SX33186T386 (X3000)
Shacman SX3318DT366 (F3000)
Shacman SX3318HT366TL
Shacman SX4188YY381
Shacman SX4255DV385 (2011)
Shacman SX42564V324 (X3000)
Shacman SX4256NT324
Shacman SX42584V324
Shacman SX42584V384TL
Shacman SX5256GJBMR364 (2018)
Shacman SX5315GJB5V326C (X3000) (2021)
Shacman SX5318GJBDT386TL
SX-3255-DR 3804B 6х4
SX32566R384
Схема
>
Не выбрано
ENGINE SUSPENSION
FUEL TANK ASSEMBLY 400L
ACCELEROGRAPH CONTROL DEVICE
AIR CLEANING DEVICE
COOLER SYSTEM (F3000/WP12)
EXPANSION BOX SYSTEM
PULL CLUTCH CONTROL DEVICE
GEAR BOX SUPPORT
SHIFTING DEVECE
PROPELLER SHAFT
MAN9.5T (DRUM TYPE) STEERING SHAFT
WHEEL SIDE REDUCTION THROUGH DRIVE AXLE FINAL REDUCER (MIDDLE AXLE)
WHEEL REDUCTION THROUGH DRIVE AXLE HOUSING (MIDDLE AXLE)
WHEEL EDGE REDUCTION THROUGH DRIVE AXLE WHEEL EDGE
WHEEL REDUCTION DRIVE AXLE FINAL DRIVE (REAR AXLE)
WHEEL REDUCTION TRANSAXLE HOUSING (REAR AXLE)
WHEEL EDGE REDUCTION DRIVE AXLE WHEEL EDGE
CAB WELDING ASSEMBLY
FLOOR MAT WIDE
SLEEPER UNDER CAB (LIGHTWEIGHT)
THE INTERIOR TRIM ASSEMBLY
THE INTERIOR TRIM ASSEMBLY
THE INTERIOR TRIM ASSEMBLY
INTERIOR TRIM ASSEMBLY
DASHBOARD
SUN BLIND
SUN BLIND
SEAT
LEFT DOOR LOCK SYSTEM
LEFT DOOR LOCK SYSTEM
LEFT DOOR LOCK SYSTEM
LEFT DOOR LOCK SYSTEM
RIGHT DOOR LOCK SYSTEM
RIGHT DOOR LOCK SYSTEM
RIGHT DOOR LOCK SYSTEM
RIGHT DOOR LOCK SYSTEM
LEFT DOOR LIMIT
RIGHT DOOR LIMIT
LEFT DOOR WINDOW LIFTER
RIGHT DOOR WINDOW LIFTER
DOOR COVERING LEFT (ELECTROMOTION)
DOOR COVERING RIGHT (ELECTROMOTION)
LEFT DOOR SEAL AND DOOR CLASS SEAL
RIGHT DOOR SEAL AND DOOR CLASS SEAL
DECORATIVE ASSEMBLY
DECORATIVE ASSEMBLY
DECORATIVE ASSEMBLY
DECORATIVE ASSEMBLY
RADIATOR PROTECTOR SYSTEM
FRONT COVER
SKYLIGHT PANEL ASSEMBLY
WINDSCREEN RINSE SYSTEM/LEFT
WINDSCREEN RINSE SYSTEM/LEFT
CAR WINDOW
VIEW MIRROR
SUN VISOR
FENDER SYSTEM
RIGHT FOOT PANEL
LEFT FOOT PANEL
LEFT FOOT PANEL FOR CAB
RIGHT FOOT PANEL FOR CAB
BUMPER
MUDGUARDS
STEERING COLUMN ADJUSTABLE
STEERING HYDRAULIC DEVICE
DOUBLE SHAFTS STEERING TRANSMISSION DEVICE
SERVE BRAKE CONTROL DEVICE
PARKING BRAKE CONTROL DEVICE
DOUBAL CIRCUIT BRAKE SYSTEM (DC91189360658)
DOUBAL CIRCUIT BRAKE SYSTEM (DC91189360666)
DOUBAL CIRCUIT BRAKE SYSTEM
DOUBAL CIRCUIT BRAKE SYSTEM (DC91189360666)
DOUBAL CIRCUIT BRAKE SYSTEM
AIR TANK FIXING (I)
EXHAUST BRAKE CONTROL
LOOMS ON CAB OUTER
FRONT TERMINAL BOX
SWITCH
SWITCH
CIGRATE
COMMBINATION SWITCH
REAR LIGHT
LOUDHAILER
CAB ELECTRICAL/ADDITIONAL/MULTIFUNCTIONAL STEERING WHEEL (ISM)
CAB ELECTRICAL APPLIANCES
REMOTE ACCELEROGRAPH CONTROLLER
CAB ELECTRICAL APPLIANCES
CAB ELECTRICAL APPLIANCES
CAB ELECTRICAL APPLIANCES
CAB ELECTRICAL APPLIANCES
CAB ELECTRICAL APPLIANCES
CAB ELECTRICAL APPLIANCES
CAB ELECTRICAL ACCESSORIES
CAB ELECTRICAL ACCESSORIES
CAB ELECTRICAL ACCESSORIES
CHASSIS ELECTRICAL APPLIANCES /ISM/10000MM
ROCKER SWITCH
CHASSIS ELECTRICAL APPLIANCES/NON-TRACTOR/8Г—4/3175/1600/NO ELECTRIC FLIP/NO ABS/STORAGE II LEFT 1500/NEW SUSPENSION/FHQ/COLD AREA
CHASSIS ELECTRICAL APPLIANCES/ISME30/8Г—4/CENTRAL SWITCH/ELECTRONICALLY CONTROLLED FAN/ACCUMULATOR II SHAFT 1500/EXHAUST BRAKE/FHQ/COLD ZONE
CHASSIS ELECTRICAL APPLIANCES/ISME30/8Г—4/CENTRAL SWITCH/ELECTRONICALLY CONTROLLED FAN/ACCUMULATOR II SHAFT 1500/EXHAUST BRAKE/FHQ/COLD ZONE
BATTERY 180AH
BATTERY 180AH
BATTERY 180AH
ENGINE HARNESS ACCESSORIES (X3000/ISME30/FHQ)
FRAME WIRING HARNESS ACCESSORIES (X3000/TRACTOR/6Г—4/FHQ)
FRAME WIRING HARNESS ACCESSORIES (X3000/TRACTOR/6Г—4/FHQ)
FRAME WIRING HARNESS ACCESSORIES (X3000/TRACTOR/6Г—4/FHQ)
CHASSIS LIGHTING/GLASS FIBER REINFORCED PLASTIC BUMPER/DAYTIME RUNNING LIGHTS/YELLOW HIGH-INDICATOR LIGHTS/MAN TAIL LIGHTS/COLD ZONE
CHASSIS LAMPS
CHASSIS LAMPS
CHASSIS LAMPS
CHASSIS LAMPS
CHASSIS LAMPS
AIR CONDITION PIPES
HEATER DEVICE (WITH AIR CONDITION)
AIR SYSTEM
AIR SYSTEM
AIR SYSTEM
AIR DUCT
AIR CONDITION PIPES
HEATER DEVICE (WITH AIR CONDITION)
AIR CONDITION CONTROLLER
SENSOR
CAB LOCKING DEVICE
FRONT SUSPENSION (DC95319690782)
REAR SUSPENSION I (DC97319520813)
REAR SUSPENSION II (DC97319520813)
FRONT SHOCK ABSORBER (DC95319680198)
FRONT STABILIZER ASSEMBLY (DC95319680198)
REAR STABILIZER BAR (DC95319680198)
FRAME FOREPART ACCESSORY
SPARE WHEEL HOLDER
DEFENSIVE DRILL PROTECTION FRAME
TAILLIGHT BRACKET
DRAW GEAR
WHEELING SYSTEM
AIR RESERVOIR SUPPORT DC97189361057
CONNECTING PARTS, LINE & NIPPLE JOINT
CONNECTING PARTS, LINE & NIPPLE JOINT
CONNECTING PARTS, LINE & NIPPLE JOINT
CONNECTING PARTS, LINE & NIPPLE JOINT
CONNECTING PARTS, LINE & NIPPLE JOINT
CONNECTING PARTS, LINE & NIPPLE JOINT
CONNECTING PARTS, LINE & NIPPLE JOINT
CONNECTING PARTS, LINE & NIPPLE JOINT
CONNECTING PARTS, LINE & NIPPLE JOINT
CONNECTING PARTS, LINE & NIPPLE JOINT
CONNECTING PARTS, LINE & NIPPLE JOINT
CONNECTING PARTS, LINE & NIPPLE JOINT
CONNECTING PARTS, LINE & NIPPLE JOINT
DC95189090100 AIR FOR CAB
PARKING WEDGE
AIR COMPRESSOR PIPELINE
AIR BLACKCURRANT UNIT
CONNECTING PARTS, LINE & NIPPLE JOINT
CONNECTING PARTS, LINE & NIPPLE JOINT
AIR RESERVOIR SUPPORT ASSEMBLY
METHOD OF SHIPPING
CAB OSTENTATIOUS SCUTCHEON GLISTEN MARK
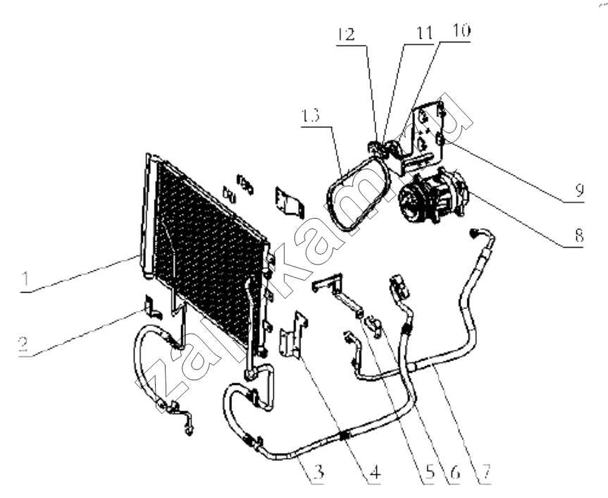
1
2
3
4
5
6
7
8
9
10
11
12
13
Поз.
Артикул
Название детали
Кол-во
1
DZ14251844370
Condenser assembly
1;
2
DZ13241845122
Pipeline bracket
1;
3
DZ14251848515
Evaporator- compressor duct
1;
4
DZ14251845008
Pipeline bracket
1;
5
DZ14251845009
Pipeline bracket
1;
6
DZ14251845011
Pipe clamp
1;
7
DZ14251845025
Compressor-condenser connecting tube
1;
8
DZ95189154010
Compressor assembly
1;
9
DZ13241824201
Compressor bracket
1;
10
DZ13241824229
Pressing wheel
1;
11
DZ13241824223
Adjusting sleeve
2;
12
DZ13241824228
Supporting shaft
1;
13
DZ13241824603
Multi-wedge belt
1;
Содержащиеся в справочниках-каталогах запасные части и детали не предлагаются к продаже, а носят исключительно информационный характер
Дополнительная информация
×
Название:
Номер:
Примечание:
Войти
Имя пользователя
Пароль
Забыли пароль?
Запомнить меня
Войти
Поиск товаров
Поиск товаров
Корзина покупок