Кронштейн подножкии крепление
/ Тонар-6428

1
2
3
3
4
4
5
5
6
6
6
7
7
8
9
10
11
12
12
12
13
14
14
15
15
16
16
17
17
18
18
18
19
19
20
21
22
23
24
24
24
25
26
26
27
28
29
30
31
32
33
34
35
35
35
35
36
36
37
37
37
37
38
38
38
38
39
40
41
43
44
45
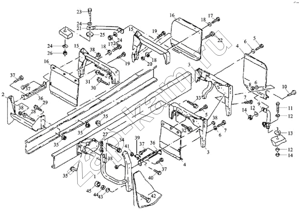
Поз. | Артикул | Название детали | Кол-во | |
---|---|---|---|---|
1 | 81418905059 | Кронштейн левый передний | 1; | |
2 | 81418905062 | Кронштейн правый передний | 1; | |
3 | 81418905119 | Кронштейн левый задний | 1; | |
4 | DZ1642240009 | Панель левая задняя | 1; | |
5 | 06013032910 | Болт | 5; | |
6 | 06150130409 | Шайба | 2; | |
7 | 06012834911 | Болт | 1; | |
8 | 06112400303 | Гайка | 1; | |
9 | 81418900051 | Кронштейн левый | 1; | |
10 | 06012890262 | Болт | 1; | |
11 | 06012890264 | Болт | 1; | |
12 | 06150190084 | Шайба | 4; | |
13 | 06151900409 | Шайба | 1; | |
14 | 06110690158 | Гайка | 2; | |
15 | 81418905068 | Кронштейн правый задний | 1; | |
16 | 81418900008 | Панель правая задняя в сборе | 1; | |
17 | 06013032910 | Болт | 3; | |
18 | 06150130409 | Шайба | 5; | |
19 | 06012834911 | Болт | 2; | |
20 | 06112400303 | Гайка | 2; | |
21 | 81418900050 | Кронштейн правый | 1; | |
22 | 06012890262 | Болт | 1; | |
23 | 06012890264 | Болт | 1; | |
24 | 06150190084 | Шайба | 4; | |
25 | 06151900409 | Шайба | 1; | |
26 | 06110690158 | Гайка | 2; | |
27 | 81418205061 | Шайба | 1; | |
28 | 06028158934 | Болт | 1; | |
29 | 06028134914 | Болт | 1; | |
30 | 06028134913 | Болт | 2; | |
31 | 06028134911 | Болт | 2; | |
32 | 06028134913 | Болт | 2; | |
33 | 06028134911 | Болт | 2; | |
34 | 06028134918 | Болт | 2; | |
35 | 06112512005 | Болт | 8; | |
36 | 81418900044 | Держатель | 2; | |
37 | 06012835112 | Болт | 6; | |
38 | 06112512018 | Гайка | 6; | |
39 | 81274210151 | Датчик давления | 2; | |
40 | 06012835112 | Болт | 2; | |
41 | 06112400404 | Гайка | 2; | |
42 | 06012835215 | Гайка | 8; | |
43 | 06151990016 | Шайба | 8; | |
44 | 06112400406 | Гайка | 8; | |
45 | 88960020027 | Крышка | 8; |
Содержащиеся в справочниках-каталогах запасные части и детали не предлагаются к продаже, а носят исключительно информационный характер