Балка оси 9523-2410090-10
/ Тонар-95231

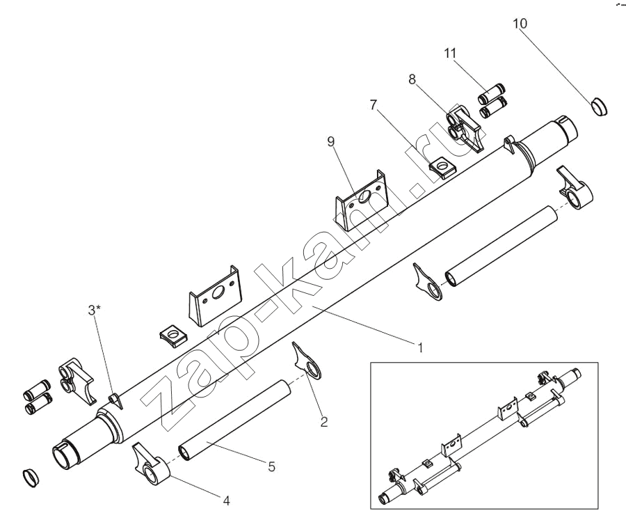
1
2
3
4
5
7
8
9
10
11
Поз. | Артикул | Название детали | Кол-во | |
---|---|---|---|---|
1 | 9042-2410021-10 | Труба балки оси d 146мм. | 1; | |
2 | 9042-3502273 | Кронштейн опоры разжимного кулака | 2; | |
3 | 4542054329 | Кронштейн датчика 9042-3538110 | 2; | |
4 | 2312520186 | Головка суппорта 9042-3502015-20 | 2; | |
5 | 9042-3502230-10 | Опора разжимного кулака | 2; | |
7 | 2312520184 | Фиксатор 9042-2912415-10 Китай | 2; | |
8 | 9042-3502016-20 | Основание суппорта | 2; | |
9 | 9042-3519012 | Кронштейн тормозной камеры | 2; | |
10 | 9746-2912472 | Заглушка | 2; | |
11 | 1284000251 | Ось колодки 9042-3502132-10 | 4; |
Содержащиеся в справочниках-каталогах запасные части и детали не предлагаются к продаже, а носят исключительно информационный характер