Балка оси 9523-2410090-50
/ Тонар-95234
/4.gif)
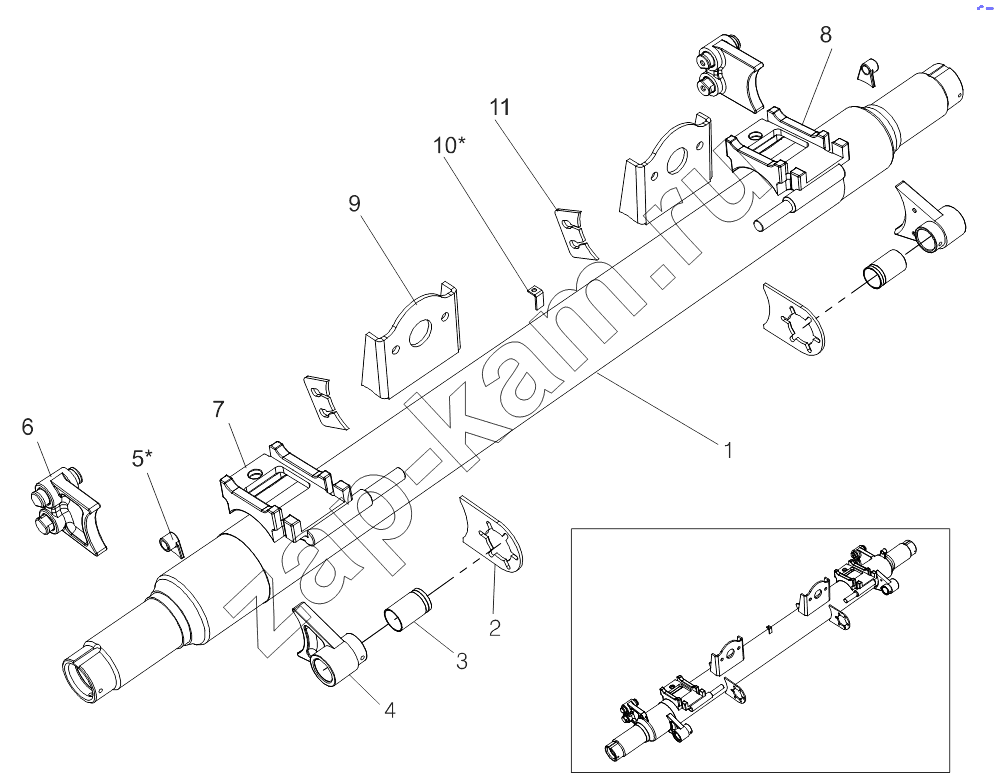
1
2
3
4
5
6
7
8
9
10
11
Поз. | Артикул | Название детали | Кол-во | |
---|---|---|---|---|
1 | 9042-2410021-20 | Труба балки оси | 1; | |
2 | 9042-3502273-30 | Кронштейн опоры разжимного кулака | 2; | |
3 | 2200080055 | Втулка | 2; | |
4 | 2312520099 | Головка суппорта | 2; | |
5 | 4542054329 | Кронштейн датчика 9042-3538110 | 2; | |
6 | 9042-3502250-20 | Основание суппорта с осями | 2; | |
7 | 2312520189 | Подкладка рессоры 9042-2912412-11 | 1; | |
8 | 2312520188 | Подкладка рессоры 9042-2912412-10 | 1; | |
9 | 2257120045 | Кронштейн тормозной камеры 9042-3519012 | 2; | |
10 | 9746-2912482 | Уголок | 1; | |
11 | 9042-3502156 | Кронштейн | 2; |
Содержащиеся в справочниках-каталогах запасные части и детали не предлагаются к продаже, а носят исключительно информационный характер