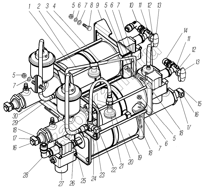
Установка пневмогидравлических усилителей тормозов
/ УралАЗ УРАЛ-43204-1111-70

1
2
3
4
5
5
5
5
6
6
6
7
7
7
7
8
9
10
11
11
12
12
13
13
14
15
16
16
17
17
18
18
18
19
20
21
22
23
24
25
26
27
28
29
30
Поз. | Артикул | Название детали | 4320-1958-70И | 43204-1111-70 | 43204-1153-70 | |
---|---|---|---|---|---|---|
1 | 5557Ш-3510011 | Усилитель тормоза пневматический | 2 | 2 | 2 | |
2 | 4320Ф-4712057 | Трубка выводная пневмоусилителей | 1 | 1 | 1 | |
3 | 4320П-4712140 | Тройник | 1 | 1 | 1 | |
4 | 4320Б-4712254 | Трубка от пневмоусилителя | 1 | 1 | 1 | |
5 | 250514-П29 | Гайка М12-6Н | 11 | 11 | 11 | |
6 | 252137-П2 | Шайба 12 пружинная | 11 | 11 | 11 | |
7 | 252007-П29 | Шайба 12 | 11 | 11 | 11 | |
8 | 200367-П29 | Болт М12-6gх45 | 4 | 4 | 4 | |
9 | 4320Б-3510095 | Кронштейн усилителей | 2 | 2 | 2 | |
10 | D650210-M16x1,5-S | Угольник | 1 | 1 | 1 | |
11 | D2062M16x1,5-M22x1,5-S | Тройник | 2 | 2 | 2 | |
12 | 5323-3506054 | Прокладка | 2 | 2 | 2 | |
13 | 100-3515310-10 | Клапан контрольного вывода | 2 | 2 | 2 | |
14 | DS651010-М16х1,5-S | Штуцер | 1 | 1 | 1 | |
15 | 51-3506012 | Болт соединительный | 3 | 3 | 3 | |
16 | 4320-3506002 | Муфта соединительная | 3 | 3 | 3 | |
17 | 4320-3506054 | Прокладка | 6 | 6 | 6 | |
18 | 201541-П29 | Болт М12-6gх32 | 6 | 6 | 6 | |
19 | 4320Б-3510011 | Усилитель тормоза пневматический | 1 | 1 | 1 | |
20 | 339947 | Штуцер М16х1,5-М20х1,5 | 1 | 1 | 1 | |
21 | 4320Ф-4712130 | Глушитель шума в сборе | 2 | 2 | 2 | |
22 | 4320X-4712054 | Трубка герметизации пневмоусилителей | 1 | 1 | 1 | |
23 | BK503-3710-0 | Выключатель сигнализации | 1 | 1 | 1 | |
24 | 335903 | Прокладка | 1 | 1 | 1 | |
25 | 334161 | Штуцер | 3 | 3 | 3 | |
26 | 4320-3514023 | Прокладка | 9 | 9 | 9 | |
27 | 4721950180 | Модулятор | 3 | 3 | 3 | |
28 | D650210-M22x1,5-S | Фитинг угловой | 1 | 1 | 1 | |
29 | 5323-4712164 | Трубка от бачка в сборе | 3 | 3 | 3 | |
30 | 375-4245043-10 | Шланг соединительный | 3 | 3 | 3 |
Содержащиеся в справочниках-каталогах запасные части и детали не предлагаются к продаже, а носят исключительно информационный характер