Система гидропневматическая тормозов
/ УралАЗ УРАЛ-4320

1
2
3
4
5
6
7
8
9
10
11
11
11
12
13
14
15
16
17
18
19
20
21
22
23
24
25
26
27
28
28
29
29
29
29
29
30
31
32
33
34
35
36
37
38
39
40
41
42
43
44
45
45
46
47
49
50
51
52
53
Поз. | Артикул | Название детали | 4320 | 4420 | |
---|---|---|---|---|---|
375 3524004 | 375 3524004 | Прокладка уплотнительная | 1 | 1 | |
339232 | 339232 | Угольник К1/2-М16Х1,5 | 1 | ||
339046 | 339046 | Угольник М20х1,5 КГ3/8" | 1 | 1 | |
339046 | 339046 | Угольник М20х1,5 КГ3/8" | 1 | 1 | |
375-3520030 | 375-3520030 | Фланец крепления разобщительного крана и соединительной головки | 1 | 1 | |
339392-П29 | 339392-П29 | Хомут 9 | 2 | 2 | |
339414-П29 | 339414-П29 | Хомут 19 | 2 | 2 | |
339696-П29 | 339696-П29 | Хомут | 2 | 2 | |
339098-П29 | 339098-П29 | Хомут крепления шланга | 1 | 1 | |
339098-П29 | 339098-П29 | Хомут крепления шланга | 1 | 1 | |
339159-П29 | 339159-П29 | Хомут 24 | 2 | 2 | |
339178-П29 | 339178-П29 | Хомут 9 | 1 | 1 | |
375-3513018-01 | 375-3513018-01 | Хомут | 4 | 4 | |
4320-3370140 | 4320-3370140 | Шайба | 1 | 1 | |
1-26386-01 | 1-26386-01 | Шайба 10 | 2 | 2 | |
339668 | 339668 | Тройник К3/8"-М20х1,5-М12х1,5 | 1 | 1 | |
339046 | 339046 | Угольник М20х1,5 КГ3/8" | 1 | 1 | |
339039 | 339039 | Угольник М16х1,5 К3/8" | 3 | 3 | |
375-3524003-А | 375-3524003-А | Прокладка уплотнительная | 1 | 1 | |
298430 | 298430 | Сапун | 1 | 1 | |
Н2927-П29 | Н2927-П29 | Скоба | 1 | 1 | |
Н2927-П29 | Н2927-П29 | Скоба | 4 | 4 | |
375-4225046 | 375-4225046 | Скоба | 1 | 1 | |
353-3916017 | 353-3916017 | Пряжка хомута | 1 | 1 | |
353-3916017 | 353-3916017 | Пряжка хомута | 1 | 1 | |
353-3916017 | 353-3916017 | Пряжка хомута | 2 | 2 | |
339665 | 339665 | Тройник М10Х1 | 1 | 1 | |
339647 | 339647 | Тройник М14х1,5-М10х1 | 1 | 1 | |
4320-3570158 | 4320-3570158 | Трубка от крана к тройнику в сборе | 1 | 1 | |
4320-3570162 | 4320-3570162 | Трубка в сборе от пневмосигнала к крану | 1 | 1 | |
4420-3506208 | 4420-3506208 | Трубка от тормозного крана к соединительной головке в сборе | 1 | ||
4320-3570154 | 4320-3570154 | Трубка от тройника к пневмоцилиндру останова двигателя в сборе | 1 | 1 | |
1-05168-73 | 1-05168-73 | Шайба 10 пружинная | 4 | 4 | |
252136-П9 | 252136-П9 | Шайба пружинная 10 | 2 | ||
252135-П9 | 252135-П9 | Шайба пружинная 8 | 2 | 2 | |
375СН-3506226 | 375СН-3506226 | Шланг в сборе | 1 | ||
4320-3570172 | 4320-3570172 | Шланг гибкий в сборе | 1 | 1 | |
1-35466-21 | 1-35466-21 | Шпилька М10х1,25х20х20х35 | 11 | 11 | |
258038-П29 | 258038-П29 | Шплинт 3,2х16 | 1 | 1 | |
258038-П29 | 258038-П29 | Шплинт 3,2х16 | 1 | 1 | |
258038-П29 | 258038-П29 | Шплинт 3,2х16 | 2 | 2 | |
375СН-3520030-10 | 375СН-3520030-10 | Штуцер соединительной головки | 1 | ||
375-3524002 | 375-3524002 | Штуцер буксирного клапана | 1 | 1 | |
339049 | 339049 | Штуцер К1/2"-М16х1,5 | 1 | 1 | |
339699 | 339699 | Штуцер К1/8"-М12х1,5" | 1 | 1 | |
339200-П29 | 339200-П29 | Штуцер М10х1 К1/8" | 2 | 2 | |
339157-П29 | 339157-П29 | Штуцер М10х1 манометра | 2 | 2 | |
339538 | 339538 | Штуцер М10х1-М12х1,5 | 2 | 2 | |
252155-П9 | 252155-П9 | Шайба пружинная 8 | 2 | 2 | |
252155-П9 | 252155-П9 | Шайба пружинная 8 | 1 | 1 | |
252134-П9 | 252134-П9 | Шайба пружинная 6 | 3 | 3 | |
252136-П9 | 252136-П9 | Шайба пружинная 10 | 1 | 1 | |
252136-П9 | 252136-П9 | Шайба пружинная 10 | 1 | 1 | |
252136-П9 | 252136-П9 | Шайба пружинная 10 | 2 | ||
252136-П9 | 252136-П9 | Шайба пружинная 10 | 2 | 2 | |
252136-П9 | 252136-П9 | Шайба пружинная 10 | 4 | 4 | |
252136-П9 | 252136-П9 | Шайба пружинная 10 | 1 | 1 | |
252136-П9 | 252136-П9 | Шайба пружинная 10 | 1 | 1 | |
252137-П9 | 252137-П9 | Шайба пружинная 12 | 2 | 2 | |
252159-П9 | 252159-П9 | Шайба пружинная 16 | 2 | 2 | |
252159-П9 | 252159-П9 | Шайба пружинная 16 | 2 | 2 | |
252159-П9 | 252159-П9 | Шайба пружинная 16 | 1 | 1 | |
252037-П9 | 252037-П9 | Шайба 6,4.01.05 | 1 | 1 | |
252154-П9 | 252154-П9 | Шайба пружинная 6 | 1 | 1 | |
252134-П9 | 252134-П9 | Шайба пружинная 6 | 2 | 2 | |
339539 | 339539 | Штуцер М20х1,5-М22х1,5-К3/8" | 1 | 1 | |
51-3506013 | 51-3506013 | Прокладка | 6 | 6 | |
201493-П29 | 201493-П29 | Болт М10-6gх16 | 1 | 1 | |
Н203 | Н203 | Втулка | 1 | 1 | |
339058 | 339058 | Втулка | 1 | ||
4320-3570146 | 4320-3570146 | Гайка | 1 | 1 | |
250512-П29 | 250512-П29 | Гайка М10 | 2 | ||
250512-П29 | 250512-П29 | Гайка М10 | 1 | 1 | |
250512-П29 | 250512-П29 | Гайка М10 | 2 | ||
250512-П29 | 250512-П29 | Гайка М10 | 1 | 1 | |
250512-П29 | 250512-П29 | Гайка М10 | 2 | 2 | |
250513-П29 | 250513-П29 | Гайка М10х1-6Н | 1 | 1 | |
250517-П29 | 250517-П29 | Гайка М10х1,25 | |||
250514-П29 | 250514-П29 | Гайка М12-6Н | 2 | 2 | |
250636-П29 | 250636-П29 | Гайка М16х1,5-6Н | 1 | 1 | |
250636-П29 | 250636-П29 | Гайка М16х1,5-6Н | 2 | 2 | |
250636-П29 | 250636-П29 | Гайка М16х1,5-6Н | 2 | 2 | |
Н202 | Н202 | Втулка проходная | 1 | 1 | |
201457-П29 | 201457-П29 | Болт М8-6gх22 | 2 | 2 | |
201457-П29 | 201457-П29 | Болт М8-6gх22 | 1 | 1 | |
201493-П29 | 201493-П29 | Болт М10-6gх16 | 4 | 4 | |
201495-П29 | 201495-П29 | Болт М10-6gх20 | 2 | ||
201497-П29 | 201497-П29 | Болт М10-6gх25 | 2 | ||
201497-П29 | 201497-П29 | Болт М10-6gх25 | 1 | 1 | |
201497-П29 | 201497-П29 | Болт М10-6gх25 | 2 | 1 | |
201499-П29 | 201499-П29 | Болт М10-6gх30 | 1 | 1 | |
201500-П29 | 201500-П29 | Болт М10 | 1 | ||
1-59718-21 | 1-59718-21 | Болт М10х1,25х100 | 2 | 2 | |
1-59716-21 | 1-59716-21 | Болт М10х1,25х90 | 2 | 2 | |
201539-П29 | 201539-П29 | Болт М12-6gх28 | 2 | 2 | |
201417-П29 | 201417-П29 | Болт М6-6gх14 | 1 | 1 | |
201418-П29 | 201418-П29 | Болт М6-6gх16 | 3 | 3 | |
201419-П29 | 201419-П29 | Болт М6 | 2 | 2 | |
201454-П29 | 201454-П29 | Болт М8-6gх16 | 2 | 2 | |
335026-П29 | 335026-П29 | Гайка М22х1,5 | 1 | 1 | |
740-3509403-10 | 740-3509403-10 | Прокладка корпуса компрессора | 1 | 1 | |
375-3506002 | 375-3506002 | Муфта соединительная | 2 | 2 | |
375-3506002 | 375-3506002 | Муфта соединительная | 4 | 4 | |
740-3509275 | 740-3509275 | Патрубок подвода воздуха | 2 | 2 | |
375СН-3521013 | 375СН-3521013 | Переходник | 1 | ||
4320-3515068 | 4320-3515068 | Пробка | 1 | 1 | |
262541-П29 | 262541-П29 | Пробка КГ1/8" | 1 | 1 | |
51-3506013 | 51-3506013 | Прокладка | 1 | 1 | |
51-3506013 | 51-3506013 | Прокладка | 1 | 1 | |
51-3506013 | 51-3506013 | Прокладка | 8 | 8 | |
51-3506013 | 51-3506013 | Прокладка | 2 | 2 | |
4320-3514023 | 4320-3514023 | Прокладка | 2 | 2 | |
375-3430081 | 375-3430081 | Прокладка уплотнительная | 1 | 1 | |
375-3506023 | 375-3506023 | Прокладка хомута | 1 | 1 | |
375-3506023 | 375-3506023 | Прокладка хомута | 1 | 1 | |
375-3506093 | 375-3506093 | Хомут стяжной | 2 | 2 | |
375-3506093 | 375-3506093 | Хомут стяжной | 1 | 1 | |
375-3506093 | 375-3506093 | Хомут стяжной | 1 | 1 | |
335101-П29 | 335101-П29 | Гайка М24х2-6Н | 1 | ||
250510-П29 | 250510-П29 | Гайка М8-6Н | 16 | 16 | |
375-3524010 | 375-3524010 | Гайка с цепочкой в сборе | 1 | 1 | |
252771 | 252771 | Заклепка 8х22 | 4 | 4 | |
375-3524008 | 375-3524008 | Клапан шариковый в сборе | 1 | 1 | |
375-3524001 | 375-3524001 | Корпус буксирного клапана | 1 | 1 | |
КР2-1305010-А | КР2-1305010-А | Кран сливной в сборе | 2 | 2 | |
11-3514010 | 11-3514010 | Кран тормозной в сборе | 1 | 1 | |
100-3537100 | 100-3537100 | Кран трехходовой пневматический в сборе | 1 | 1 | |
4320-3506094 | 4320-3506094 | Кронштейн | 1 | 1 | |
375-3506007 | 375-3506007 | Кронштейн тройника | 2 | 2 | |
4320-3513029 | 4320-3513029 | Кронштейн воздушных баллонов | 2 | 2 | |
375-3521011-30 | 375-3521011-30 | Кронштейн | 1 | 1 | |
4420-3521064 | 4420-3521064 | Кронштейн электропневмовыводов верхний | 1 | ||
4420-3521065 | 4420-3521065 | Кронштейн электропневмовыводов нижний | 1 | ||
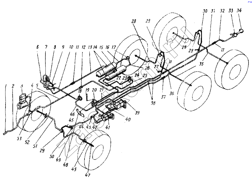
1 | 375-3524000 | Клапан буксирный в сборе | 1 | 1 | |
2 | 4320-3506076 | Трубка от тройника к буксирному клапану в сборе | 1 | 1 | |
3 | 5320-3509012 | Компрессор в сборе | 1 | 1 | |
4 | 4320-3506386 | Шланг компрессора в сборе | 1 | 1 | |
5 | 4320-3506190 | Трубка от компрессора к регулятору давления первая в сборе | 1 | 1 | |
6 | 375-3506330 | Воздухопровод от крестовины ко второму воздушному баллону первый в сборе | 1 | 1 | |
7 | 375Д-4225102-А | Трубка от крестовины разбора воздуха к крану управления давлением в сборе | 1 | 1 | |
8 | 375-3506145 | Крестовина разбора воздуха | 1 | 1 | |
9 | 11-3413010 | Кран отбора воздуха в сборе | 1 | 1 | |
10 | 4320-3506326 | Трубка к верхнему штуцеру манометра в сборе | 1 | 1 | |
11 | 339050 | Штуцер М16х1,5 | 1 | 1 | |
12 | 339222 | Штуцер М20х1,5 | 1 | 1 | |
13 | 4320-3506320 | Трубка от первого баллона к крестовине разбора воздуха первая в сборе | 1 | 1 | |
14 | 375-3513015 | Баллон воздушный в сборе | 2 | 2 | |
15 | 262543-П29 | Пробка РК3/8" | 1 | 1 | |
16 | 4320-3506188 | Трубка от межбаллонного редуктора к правому баллону в сборе | 1 | 1 | |
17 | 4320-3515105 | Редуктор межбаллонный в сборе | 1 | 1 | |
18 | МД213-3810500-Э | Манометр двухстрелочный | 1 | 1 | |
19 | 4320-3508015 | Рычаг тормоза верхний в сборе | 1 | 1 | |
20 | 375-3514005 | Кран тормозной с угольниками в сборе | 1 | 1 | |
21 | 4320-3506208 | Трубка от тормозного крана к соединительной головке первая в сборе | 1 | 1 | |
22 | 4320-3506240-10 | Трубка от правого воздушного баллона в сборе | 1 | 1 | |
23 | 4320-3506184 | Трубка от регулятора давления к левому воздушному баллону в сборе | 1 | 1 | |
24 | 11-3512010 | Регулятор давления | 1 | 1 | |
25 | 4320-3506182 | Трубка от компрессора к регулятору давления вторая в сборе | 1 | 1 | |
26 | 4320-3506186 | Трубка от левого баллона к межбаллонному редуктору в сборе | 1 | 1 | |
27 | 375-3506035 | Кронштейн тормозного шланга | 2 | 2 | |
28 | 375-3506100-Б2 | Трубопровод от тройника к правому тормозу среднего (заднего) моста в сборе | 2 | 2 | |
29 | 375-3506091 | Тройник трубопроводов | 1 | 1 | |
29 | 375-3506091 | Тройник трубопроводов | 2 | 2 | |
30 | 375-3506024-А1 | Шланг гибкий в сборе | 2 | 2 | |
31 | 375-3506210-Г | Воздухопровод от тормозного крана к соединительной головке второй в сборе | 1 | 1 | |
32 | 375-3506228 | Воздухопровод от тормозного крана к соединительной головке третий в сборе | 1 | ||
33 | 12-3520010 | Кран разобщительный в сборе | 1 | 1 | |
34 | 200-3521010-Г | Головка соединительная | 1 | 1 | |
35 | 375-3506113-Б2 | Трубопровод от тройника к левому тормозу среднего (заднего) моста в сборе | 2 | 2 | |
36 | 375-3506083-Б | Трубопровод от тройника к тормозам заднего моста второй в сборе | 1 | 1 | |
37 | 339226 | Штуцер переходной М12х1 | 1 | 1 | |
38 | 375-3606080 | Трубка от центрального тройника к задним тормозам в сборе | 2 | 2 | |
39 | 339046 | Угольник М20х1,5 КГ3/8" | 2 | 2 | |
40 | 375-3506017 | Угольник трубопровода | 1 | 1 | |
41 | 375-3510005-В | Агрегат силовой с главным тормозным цилиндром первый в сборе | 1 | 1 | |
42 | 375-3506014 | Трубопровод к первому главному тормозному цилиндру в сборе | 1 | 1 | |
43 | 375-3506011 | Тройник центральный трубопроводов | 1 | 1 | |
44 | 375-3506012 | Трубопровод от центрального тройника к передним тормозам в сборе | 1 | 1 | |
45 | 375-3506045-А | Шланг гибкий в сборе | 3 | 3 | |
46 | 377-3506330 | Воздухопровод к нижнему штуцеру манометра в сборе | 1 | 1 | |
47 | 51-3506012 | Болт соединительный | 2 | 2 | |
49 | 375-3506062-Б | Трубопровод от тройника к левому переднему тормозу в сборе | 1 | 1 | |
50 | 375-3506098 | Угольник гибкого шланга | 1 | 1 | |
51 | 376-3506036-Б | Трубка от тройника к правому переднему тормозу в сборе | 1 | 1 | |
52 | 375-3506219 | Кронштейн крепления шланга | 2 | 2 | |
53 | 339228 | Тройник М20х1,5 | 1 | 1 |
Содержащиеся в справочниках-каталогах запасные части и детали не предлагаются к продаже, а носят исключительно информационный характер