Система регулирования давления воздуха в шинах
/ УралАЗ УРАЛ-4320

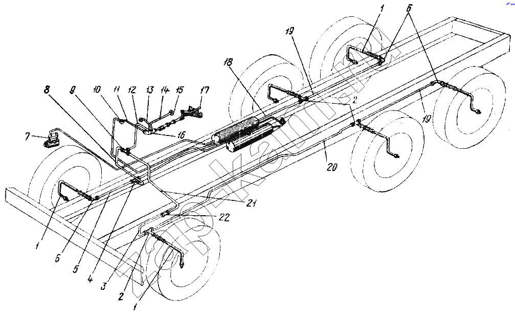
1
1
1
2
2
3
4
5
6
6
7
8
9
10
11
12
13
14
15
16
17
18
19
19
20
21
22
Поз. | Артикул | Название детали | 4320 | 4420 | |
---|---|---|---|---|---|
339177-П29 | 339177-П29 | Штуцер М10х1 М10х0,75 | 1 | 1 | |
375-4225046 | 375-4225046 | Скоба | 1 | 1 | |
4320-3122024 | 4320-3122024 | Стержень | 1 | 1 | |
339236 | 339236 | Тройник М16х1,5-М10х1-К3/8" | 1 | 1 | |
339039 | 339039 | Угольник М16х1,5 К3/8" | 1 | 1 | |
252136-П9 | 252136-П9 | Шайба пружинная 10 | 2 | 2 | |
252007-П29 | 252007-П29 | Шайба 12 | 1 | 1 | |
252004-П29 | 252004-П29 | Шайба 6 | 2 | 2 | |
252134-П9 | 252134-П9 | Шайба пружинная 6 | 2 | 2 | |
252135-П9 | 252135-П9 | Шайба пружинная 8 | 2 | 2 | |
252135-П9 | 252135-П9 | Шайба пружинная 8 | 2 | 2 | |
258011-П29 | 258011-П29 | Шплинт 2х10 | 2 | 2 | |
258041-П29 | 258041-П29 | Шплинт 3,2х32 | 1 | 1 | |
339442-П29 | 339442-П29 | Штуцер М16х1,5 К3/8" | 1 | 1 | |
339262-П29 | 339262-П29 | Скоба | 1 | 1 | |
375-4222017 | 375-4222017 | Пружина рычага нажимная | 1 | 1 | |
260012-П52 | 260012-П52 | Палец 6х20 | 2 | 2 | |
201500-П29 | 201500-П29 | Болт М10 | 2 | 2 | |
201454-П29 | 201454-П29 | Болт М8-6gх16 | 2 | 2 | |
200265-П29 | 200265-П29 | Болт М8-6gх40 | 2 | 2 | |
509501-П29 | 509501-П29 | Вилка М6 | 2 | 2 | |
220104-П29 | 220104-П29 | Винт М6-6gх14 | 2 | 2 | |
Н202 | Н202 | Втулка проходная | 1 | 1 | |
250512-П29 | 250512-П29 | Гайка М10 | 2 | 2 | |
250636-П29 | 250636-П29 | Гайка М16х1,5-6Н | 1 | 1 | |
260089-П52 | 260089-П52 | Палец 12х40 | 1 | 1 | |
4320-3122014 | 4320-3122014 | Кронштейн рычага в сборе | 1 | 1 | |
375-4222025-10 | 375-4222025-10 | Кронштейн крепления крана | 1 | 1 | |
375-4225028 | 375-4225028 | Кольцо уплотнительное | 1 | 1 | |
250510-П29 | 250510-П29 | Гайка М8-6Н | 2 | 2 | |
250508-П29 | 250508-П29 | Гайка М6-6Н | 2 | 2 | |
1 | 375-4225075 | Шланг гибкий в сборе | 6 | 6 | |
2 | 339225 | Тройник К1/4"-М14х1,5 | 3 | 3 | |
3 | 4320-3125034 | Трубка от переднего моста к среднему левому колесу в сборе | 1 | 1 | |
4 | 339296 | Тройник М14х1,5 | 1 | 1 | |
5 | 375-4225092 | Трубка от тройника к правому переднему колесу в сборе | 1 | 1 | |
6 | 339040-П29 | Угольник К1/4-М14Х1,5 | 3 | 3 | |
7 | 5320-3509012 | Компрессор в сборе | 1 | 1 | |
8 | 375-4225094 | Трубка к правым колесам в сборе | 1 | 1 | |
9 | 339547 | Тройник М16х1,5-М14х1,5 | 1 | 1 | |
10 | 375-3506145 | Крестовина разбора воздуха | 1 | 1 | |
11 | 375Д-4225102-А | Трубка от крестовины разбора воздуха к крану управления давлением в сборе | 1 | 1 | |
12 | 375-4225100-10 | Трубка к центральному тройнику в сборе | 1 | 1 | |
13 | 375-4222022-Б | Трубка выводная крана управления давлением в сборе | 1 | 1 | |
14 | 4320-3125132 | Трубка к шинному манометру в сборе | 1 | 1 | |
15 | МД101-3816010-У-ХЛ | Манометр шинный (позиция 32) | 1 | 1 | |
16 | 131-4222010 | Кран управления давлением системы накачивания шин в сборе | 1 | 1 | |
17 | 4320-3122012 | Рычаг крана в сборе | 1 | 1 | |
18 | 375-4225182 | Трубка к переднему к среднему колесу | 1 | 1 | |
19 | 375-4225178 | Трубка к заднему колесу в сборе | 2 | 2 | |
20 | 375-4225206 | Трубка от тройника к среднему левому колесу в сборе | 1 | 1 | |
21 | 4320-3125042 | Трубка к левым колесам в сборе | 1 | 1 | |
22 | 339035 | Штуцер 14х1,5 | 1 | 1 |
Содержащиеся в справочниках-каталогах запасные части и детали не предлагаются к продаже, а носят исключительно информационный характер