Двери кабины
/ УралАЗ УРАЛ-55571-30

1
2
3
4
5
6
7
7
8
9
10
11
13
13
13
13
13
14
15
16
17
18
19
20
20
20
21
22
23
24
25
26
26
27
28
29
30
31
32
34
35
36
37
38
38
39
39
40
41
42
42
43
44
45
46
47
48
49
50
51
52
53
54
55
56
57
58
59
60
61
62
63
64
65
66
67
68
69
70
71
72
73
74
75
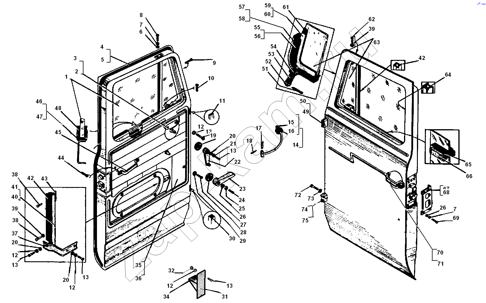
Поз. | Артикул | Название детали | Кол-во | |
---|---|---|---|---|
1 | 377-6103216 | Стекло опускное двери | 2; | |
2 | 4320-6104017 | Стеклоподъемники в сборе левый | 1; | |
3 | 4320-6104016 | Стеклоподъемники в сборе правый | 1; | |
4 | 377-6107025-01 | Уплотнитель двери | 2; | |
5 | 377-6107027-01 | Уплотнитель двери, передний | 2; | |
6 | 252036-П29 | Шайба 5 | 4; | |
7 | 252153-П2 | Шайба 5 пружинная | 12; | |
8 | 224600-П29 | Винт М5-6gх16 | 4; | |
9 | 240622-П29 | Винт 4х20 | 4; | |
10 | 240820-П29 | Винт 4х18 | 2; | |
11 | 377-6107012 | Уплотнитель петли двери верхний | 2; | |
13 | 220103-П29 | Винт М6-6gх12 | 16; | |
14 | 377-6106082 | Ограничитель хода двери с буфером в сборе | 2; | |
15 | 250510-П29 | Гайка М8-6Н | 2; | |
16 | 377-6106085 | Буфер | 2; | |
17 | 260018-П52 | Палец 6х35 | 2; | |
18 | 258012-П29 | Шплинт 2х12 | 2; | |
19 | 377-6104066 | Кольцо | 2; | |
20 | 252004-П29 | Шайба 6 | 8; | |
21 | 252134-П2 | Шайба 6 пружинная | 2; | |
22 | 375-6104100-01 | Ручка в сборе | 2; | |
23 | 377-6105083-02 | Ручка привода замка | 2; | |
24 | 220080-П29 | Винт М5-6gх16 | 2; | |
25 | 252133-П2 | Шайба 5Т | 2; | |
26 | 252003-П29 | Шайба 5 | 10; | |
27 | 4320-6105189 | Кольцо уплотнительное | 2; | |
28 | 240619-П29 | Винт М4х16 | 6; | |
29 | 5557-6102043 | Шайба | 6; | |
30 | 377-6107014-А | Уплотнитель петли двери нижний | 2; | |
31 | 4320-6103270-10 | Упор опускного стекла | 1; | |
32 | 250508-П29 | Гайка М6-6Н | 1; | |
34 | 375-6103274 | Прокладка упора стекла | 2; | |
35 | 377-6102010 | Обивка правая | 2; | |
36 | 377-6102011 | Обивка левая | 2; | |
37 | 377-6103260 | Кронштейн нижний в сборе | 2; | |
38 | 255028-П29 | Заклепка 3х10 | 6; | |
39 | 252002-П29 | Шайба 4 | 2; | |
40 | 377-6103254 | Стойка в сборе правая | 1; | |
41 | 377-6103255 | Стойка в сборе левая | 1; | |
42 | 377-6103262-02 | Желобок опускного стекла | 2; | |
43 | 377-6103265 | Уплотнитель в сборе | 2; | |
44 | 221665-П29 | Винт М8-6gх22 | 4; | |
45 | 5320-8202011 | Поручень входной | 2; | |
46 | 377-6103220 | Обойма в сборе правая | 1; | |
47 | 377-6103221 | Обойма в сборе левая | 1; | |
48 | 377-6103218 | Прокладка опускного стекла | 2; | |
49 | 377-6106012-01 | Петля в сборе верхняя правая | 1; | |
50 | 377-6106013-01 | Петля в сборе верхняя левая | 1; | |
51 | 258025-П29 | Шплинт 2,5х20 | 2; | |
52 | 334734-П29 | Гайка М8х1 | 2; | |
53 | 377-6103088 | Пружина | 2; | |
54 | 252005-П29 | Шайба 8 | 6; | |
55 | 377-6103122-А | Уплотнитель правый | 1; | |
56 | 377-6103123-А | Уплотнитель левый | 1; | |
57 | 377-6103130 | Обойма уплотнительная в сборе правая | 1; | |
58 | 377-6103131 | Обойма уплотнительная в сборе левая | 1; | |
59 | 377-6103064 | Рамка в сборе правая | 1; | |
60 | 377-6103065 | Рамка в сборе левая | 1; | |
61 | 377-6103055 | Прокладка поворотного стекла | 2; | |
62 | 255063-П29 | Заклепка 4х8 | 2; | |
63 | 377-6103052 | Стекло поворотное двери | 2; | |
64 | 377-6103296-10 | Желобок опускного стекла верхний | 2; | |
65 | 377-6103286 | Уплотнитель | 4; | |
66 | 377-6103283 | Держатель нижнего уплотнителя | 4; | |
67 | 377-6101050-Б | Крышка замка правая | 1; | |
68 | 377-6101051-Б | Крышка замка левая | 1; | |
69 | 220077-П29 | Винт М5-6gх10 | 8; | |
70 | 377-6105150-02 | Ручка двери наружная левая с замком в сборе | 1; | |
71 | 377-6105151-01 | Ручка двери наружная правая в сборе | 1; | |
72 | 201458-П29 | Болт М8-6gх25 | 16; | |
73 | 252155-П2 | Шайба 8 пружинная | 16; | |
74 | 377-6106026-01 | Петля в сборе нижняя правая | 1; | |
75 | 377-6106027-01 | Петля в сборе нижняя левая | 1; |
Содержащиеся в справочниках-каталогах запасные части и детали не предлагаются к продаже, а носят исключительно информационный характер