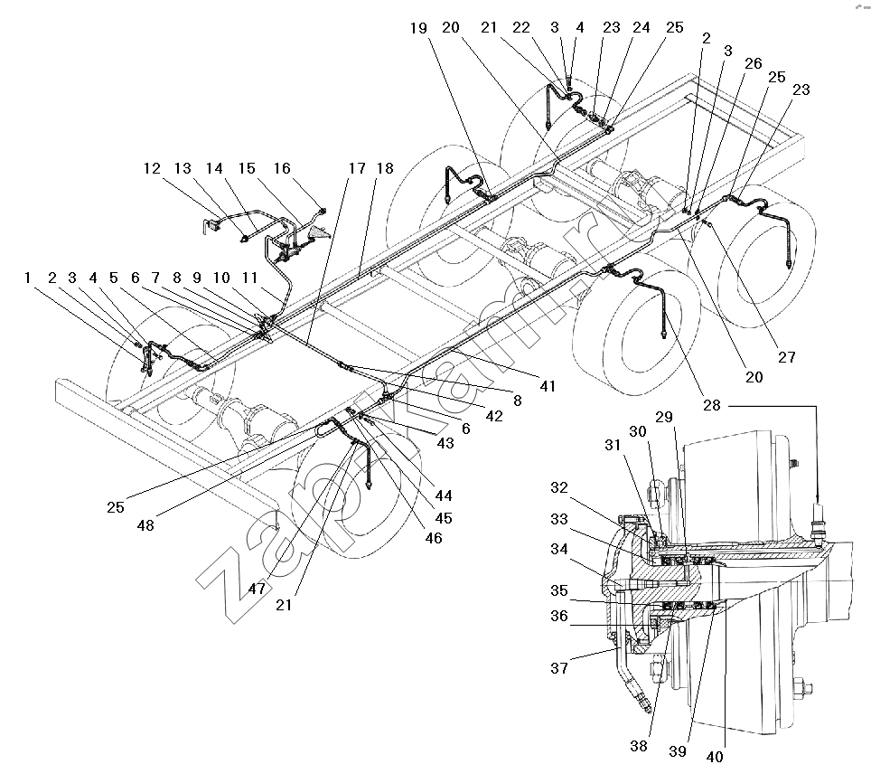
Система регулирования давления воздуха в шинах
/ УралАЗ УРАЛ-55571-40

1
2
2
3
3
3
4
4
5
6
6
7
8
8
9
10
11
12
13
14
15
16
17
18
19
20
20
21
21
22
23
23
24
25
25
25
26
27
28
29
30
31
32
33
34
35
36
37
38
39
40
41
42
43
44
45
46
47
48
Поз. | Артикул | Название детали | Кол-во | |
---|---|---|---|---|
1 | 4320-3125032 | Кронштейн шланга | 2; | |
2 | 250512-П29 | Гайка М10 | 4; | |
3 | 252136-П2 | Шайба 10 пружинная | 8; | |
4 | 201493-П29 | Болт М10-6gх16 | 6; | |
5 | 375Ю-4225092-01 | Трубка от тройника к правому переднему колесу в сборе | 1; | |
6 | 339296 | Тройник М14х1,5 | 2; | |
7 | 555707-3125082-01 | Трубка от тройника к правым колесам, вторая | 1; | |
8 | 339035 | Штуцер 14х1,5 | 2; | |
9 | 555717-3125068-01 | Трубка от тройника к правым колесам, первая | 1; | |
10 | 339547 | Тройник М16х1,5-М14х1,5 | 1; | |
11 | 4320-3125100-01 | Трубка от крана к центральному тройнику в сборе | 1; | |
12 | 4320-3125102-02 | Трубка от крестовины к крану управления давлением в сборе | 1; | |
13 | Н-202 | Втулка проходная уплотнительная | 1; | |
14 | 375Ю-4222022-01 | Трубка выводная крана управления давлением в сборе | 1; | |
15 | 4320-3125132-01 | Трубка к шинному манометру в сборе | 1; | |
16 | 339157-П29 | Штуцер М10х1 манометра | 1; | |
17 | 555707-3125046-01 | Трубка к левым колесам, первая в сборе | 1; | |
18 | 432007-3125218-01 | Трубка от тройника к среднему правому колесу в сборе | 1; | |
19 | 339225 | Тройник К1/4"-М14х1,5 | 2; | |
20 | 432007-3125192-01 | Трубка от среднего к задним колесам в сборе | 2; | |
21 | 375-3506023-01 | Прокладка | 6; | |
22 | 339098-П29 | Хомут крепления шланга | 4; | |
23 | 375-4225251 | Фланец переходный | 6; | |
24 | 250640-П29 | Гайка М20х1,5-6Н | 6; | |
25 | 339040 | Угольник М14х1,5 КГ1/4" | 4; | |
26 | 375-4225046 | Скоба | 1; | |
27 | 201500-П29 | Болт М10 | 2; | |
28 | 375-4225075-02 | Шланг гибкий системы накачки шин в сборе | 4; | |
29 | 375-3124013 | Кольцо распорное | 4; | |
30 | 4320-3103076 | Гайка подшипника колеса в сборе | 4; | |
31 | 375-3103079-01 | Шайба замочная | 4; | |
32 | 375-3103081-Г | Контргайка подшипников колеса | 4; | |
33 | 375-2303067-А | Кольцо стопорное | 4; | |
34 | 375-3124094 | Угольник подвода воздуха | 4; | |
35 | 375-4224017-03 | Сальник подвода воздуха в сборе | 16; | |
36 | 375-3103080-Б | Шайба стопорная | 4; | |
37 | 375-4225073-02 | Шланг гибкий подвода воздуха в сборе | 4; | |
38 | 375-4224020-01 | Обойма манжеты | 8; | |
39 | 375-4224081 | Обойма | 4; | |
40 | 375-2303066 | Направляющая полуоси | 4; | |
41 | 375Ю-4225206-01 | Трубка от тройника к среднему левому колесу в сборе | 1; | |
42 | 555717-3125048-01 | Трубка к левым колесам, вторая в сборе | 1; | |
43 | 339168-П29 | Хомут | 1; | |
44 | 201539-П29 | Болт М12-6gх28 | 1; | |
45 | 252137-П2 | Шайба 12 пружинная | 1; | |
46 | 250514-П29 | Гайка М12-6Н | 1; | |
47 | 339124-П29 | Хомут крепления шланга | 2; | |
48 | 432007-3125034-02 | Трубка к левому переднему колесу в сборе | 1; |
Содержащиеся в справочниках-каталогах запасные части и детали не предлагаются к продаже, а носят исключительно информационный характер