ЗапКам
zap-kam16@yandex.ru
(900) 323-41-41
Вход / Регистрация отключена
Вход
Избранное
0
по запросу
Каталог
Все товары и категории
Запчасти КАМАЗ
Двигатель
Двигатели в сборе
Евро-0
КамАЗ-4310
Урал-4320
КамАЗ-4350
Евро-1
КамАЗ-43114
Евро-2
КамАЗ-43118
КамАЗ-65115
КамАЗ-6520
Евро-3
Евро-4
Евро-5
Газовые
Блоки цилиндров
Блоки цилиндров Евро-0 КамАЗ
Блоки цилиндров Евро-1 КамАЗ
Блоки цилиндров Евро-2 КамАЗ
Блоки цилиндров Евро-3 КамАЗ
Блоки цилиндров Евро-4,5 КамАЗ Common Rail
Сборочные комплекты (лонг-, шорт-блоки)
Блоки управления
Валы коленчатые
Коленвалы Евро-0 КамАЗ
Коленвалы Евро-1 КамАЗ
Коленвалы Евро-2 КамАЗ
Коленвалы Евро-3 КамАЗ
Коленвалы Евро-4,5 КамАЗ Common Rail
Вкладыши коренные
Евро-3,4,5
Евро-0,1,2
Вкладыши шатунные
Евро-3,4,5
Евро-0,1,2
Валы распредительные
ЦПГ – поршневая
Поршневая Евро-4,-5 (740.602)
Поршневая Евро-2,-3 (740.60)
Поршневая Евро-1,-2 (740.30)
Поршневая Евро-0,1 (740)
Кольца поршневые
ТНВД
Евро-4-5 Common Rail
Евро-3
Евро-2
Евро-1
Евро-0
Система питания
Форсунки топливные
Распылители форсунок
Топливозаборники
ГБЦ
Евро-3,4,5 Common Rail
Евро-1,2,3
Евро-0
Газ
Турбокомпрессоры
ТРК Евро-4,5 (однотурбовые)
Евро-4
Евро-3
Евро-2
Евро-1
Насос водяной
Насос масляный
Маховики
Коробка передач
КПП в сборе
Валы
Валы вторичные
Валы первичные
Валы промежуточные
Шестерни
Синхронизаторы
Делители в сборе
Коробка раздаточная
РК в сборе
РК 6522
Дифференциалы
Валы
Валы первичные
Валы промежуточные
Вилки
Шестерни
Механизмы переключения
Трансмиссия
Мосты
Редукторы в сборе
Заднего моста
Переднего моста
Среднего моста
Зубьев
31, 35
50
49
48
47
46
КамАЗ
4310
43114
43118
4326
5320
53205
65115
43253
53229
6520
6522
4308
65111
65116
65117
55102
55111
53212
53215
54115
5410
5511
Мосты в сборе
Передние
Средние
Задние
6520, 6522 (20т)
65115 (15т)
65111 (15т)
43118 (10т)
43114 / 4310 (8т)
53205 Евро (10т)
5320 (8т)
5511 (10т)
МОД
Мадара
Подвеска в сборе
Ось передняя
Ось в сборе
Ходовая часть
Подвеска (тележка) в сборе
Колеса и шины
Рама
Рессоры
Лебедка
Механизмы управления
Отопление и вентиляция
Система выпуска
Сцепление
Тормоза
Кабина
Управление рулевое
Электрооборудование
Автомобили
КАМАЗ 5490
Двигатель 457
Двигатели в сборе
Сцепление
Кабина
Кузов
Мосты
Рама
Система выпуска
Тормоза
Управление рулевое
Ходовая часть
КАМАЗ К5
Двигатели WeiChai
Двигатели в сборе
Двигатели Р6
Двигатели 910 Р6 в сборе
Кабина
Сцепление
Тормоза
Управление рулевое
Электрооборудование
ZF
КПП ZF в сборе
16S EcoSplit
КПП 16s 1820 TO
КПП 16S 2220
9S Ecomid
12AS Astronic
12TX Traxon
Запчасти 12tx Traxon
Cummins
Двигатели в сборе
Блоки цилиндров
Коленвалы
Головки блока
Генератор
Китайские грузовики
Shaanxi HanDe
Fast Gear
Sitrak
Weichai
FAW
Laizhou Tongji
Европейские грузовики
Mercedes
Электрооборудование
Блоки управления
Блоки управления ADM
Блоки управления CPC4
Блоки управления двигателем
Блоки управления электрооборудованием
Датчики
Стартеры
Карданная передача
Карданы КамАЗ
Коробки отбора мощности
Прицепная техника
ССУ (Седла)
Ремонт
Ремонт двигателей
Ремонт КПП Камаз и ZF
Ремонт раздаток и редукторов
Ремонт кабин
Услуги
Комплектация заявок
Скупка запчастей и агрегатов
Контакты
Отправить заявку
Каталоги запчастей к технике
Грузовые
УралАЗ
УРАЛ-55571-40
Установка гидроцилиндра подъема платформы
Поиск
Установка гидроцилиндра подъема платформы
/ УралАЗ УРАЛ-55571-40
zoom-in
zoom-out
enlarge
shrink
circle-right
circle-left
file-text2
info
cart
Тип техники
Не выбрано
Грузовые
Двигатели
Марка
Не выбрано
DAF
DongFeng
FAW
Foton
HOWO
IVECO
JAC Motors
MAN
Shaanxi
SITRAK
Volvo
Автокомпонент Плюс
ЗИЛ
КАЗ
КамАЗ
Мадара
НефАЗ
СЗАП
Тонар
УралАЗ
Модель
Не выбрано
4320-0006982-74 (NEXT) (2017)
УРАЛ-375
УРАЛ-4320
УРАЛ-4320 (1981)
УРАЛ-4320-0971-58 (2010)
УРАЛ-4320-1151-59 (2010)
УРАЛ-4320-1951-58 (2010)
УРАЛ-4320-1958-70И (2012)
УРАЛ-4320-31
УРАЛ-4320-31
УРАЛ-4320-41
УРАЛ-4320-60 (2013)
УРАЛ-4320-61 (2013)
УРАЛ-4320-6951-74 (2015)
УРАЛ-4320-80М/82М (2015)
УРАЛ-43202
УРАЛ-43203-10
УРАЛ-43204-1111-70 (2012)
УРАЛ-43204-1153-70 (2012)
УРАЛ-43206-41
УРАЛ-4420 (1981)
УРАЛ-44202-0511-58 (2010)
УРАЛ-44202-3511-80 (2012)
УРАЛ-44202-3511-80 (2013)
УРАЛ-44202-3511-80М (2015)
УРАЛ-532301
УРАЛ-532361 (2015)
УРАЛ-5557
УРАЛ-5557-31 (2010)
УРАЛ-5557-40
УРАЛ-55571-1121-70 (2011)
УРАЛ-55571-30 (2010)
УРАЛ-55571-40 (2010)
УРАЛ-63674
УРАЛ-63685
УРАЛ-6370-1121 (2011)
УРАЛ-6370-1151 (2011)
УРАЛ-63704 (2011)
Схема
>
Не выбрано
Кабина в сборе
Уплотнители рычагов и коврики пола кабины
Стеклоочиститель и его привод
Омыватель ветрового стекла
Двери кабины
Ручки двери
Стеклоподъемник
Замок двери
Сиденья водителя и пассажиров
Вентиляция и отопление кабины
Трубопроводы системы отопления кабины
Облицовка радиатора
Оперение автомобиля
Установка правой и левой подножек
Платформа
Надрамник
Агрегаты самосвальной установки
Трубопроводы и шланги самосвальной установки
Панель управления с кранами
Установка гидроцилиндра подъема платформы
Ограничительный клапан
Гидроцилиндр подъема платформы
Кран управления I
Кран управления II
Гидрораспределитель
Масляный бак, фильтры и сапун
Левый корпус разрывной муфты
Правый корпус разрывной муфты
Подвеска двигателя
Вентиляция картера
Установка агрегатов системы предпускового подогрева
Трубы и шланги системы предпускового подогрева
Котел предпускового подогревателя
Нагнетатель насосного агрегата
Топливный насос насосного агрегата
Основной топливный бак
Трубопроводы и шланги системы питания
Привод акселератора
Тяга ручного останова двигателя
Воздухопровод с воздушным фильтром
Система выпуска газов
Радиатор системы охлаждения
Расширительный бачок
Привод педалей сцепления и тормоза с пневмогидроуправлением
Пневмопривод выключения сцепления
Установка бачка привода сцепления
Цилиндр гидравлический
Установка рычага переключения передач коробки передач
Картер и подвеска раздаточной коробки
Первичный вал раздаточной коробки
Промежуточный вал раздаточной коробки и привод спидометра
Вал привода переднего моста, дифференциал и вал привода заднего моста раздаточной коробки
Управление и механизм переключения раздаточной коробки
Карданная передача
Карданный вал переднего моста
Промежуточный карданный вал
Карданный вал среднего моста
Карданный вал заднего моста
Картер переднего моста
Передний мост
Дифференциал и полуось среднего и заднего моста
Дифференциал переднего моста
Картер заднего (среднего) моста
Редуктор главной передачи
Привод блокировки межколесных дифференциалов
Механизм включения блокировки дифференциала
Проходной вал редуктора главной передачи
Рама автомобиля
Передний буфер и буксирные крюки
Передняя подвеска
Передняя рессора
Задняя балансирная подвеска
Задняя рессора
Ось задней балансирной подвески
Реактивная штанга
Колесо и шина
Ступица колеса и тормозной барабан переднего и заднего мостов
Ступица колеса и тормозной барабан среднего моста
Вертикальный держатель запасного колеса
Редуктор подъема запасного колеса
Уплотнение трубопроводов системы регулирования давления воздуха в шинах
Рулевое управление
Рулевой механизм
Клапан управления усилительным механизмом
Колесо и вал рулевого управления
Усилительный механизм
Насос гидроусилителя руля
Бак масляный рулевого механизма
Тяга рулевой трапеции
Тяга сошки рулевого управления
Рулевое управление с рулевым механизмом 55557Я-3400020
Механизм рулевой 55557Я-3400020 с распределителем
Механизм рулевой 55557Я-3400020
Распределитель гидроусилителя рулевого механизма 55557Я-3400020
Рабочий тормоз
Установка усилителей тормозов и модуляторов
Пневматический усилитель с главным тормозным цилиндром
Стояночный тормоз
Привод стояночного тормоза и управление краном торможения прицепа
Установка компрессора
Блок-картер компрессора
Головка и поршень компрессора
Установка агрегатов гидропневматического привода рабочих тормозов (с АБС)
Трубопроводы и шланги гидропневматического привода рабочих тормозов с АБС
Крепление трубопроводов и шлангов гидропневматического привода рабочих тормозов
Установка воздушных баллонов
Установка тормозного крана
Установка тройного защитного клапана
Установка клапана прицепа с защитным клапаном
Установка крана управления
Установка крестовины разбора воздуха
Установка влагомаслоотделителя со встроенным регулятором давления
Установка соединительных головок
Установка буксирного клапана
Установка регулятора тормозных сил
Установка двухмагистрального клапана
Вспомогательный тормоз
Система вспомогательного тормоза
Установка клапана с трубками
Пневматические цилиндры вспомогательного тормоза
Рабочий тормоз без АБС
Установка пневматических усилителей с главными тормозными цилиндрами
Установка агрегатов гидропневматического привода рабочих тормозов без АБС
Трубопроводы и шланги гидропневматического привода рабочих тормозов без АБС
Крепление трубопроводов и шлангов гидропневматического привода рабочих тормозов без АБС
Установка воздушных баллонов без АБС
Установка тройного защитного клапана без АБС
Уплотнение трубопроводов тормозной системы
Схема электрооборудования
Фара
Фара-прожектор
Фонарь передний
Установка фонарей знака автопоезда, габаритного и бокового повторителя
Установка выключателя зажигания на рулевой колонке
Установка электрического сигнала
Установка аккумуляторных батарей
Установка задних осветительных приборов
Панель приборов
Буксирный прибор для автомобиля 55571-40
Коробка отбора мощности
Коробка дополнительного отбора мощности
Установка пневмоуправления ДОМ, БМКД
Кран пневмоуправления
Система регулирования давления воздуха в шинах
Установка крана управления давлением
Кран управления давлением
Установка инструментального ящика и масляного бака
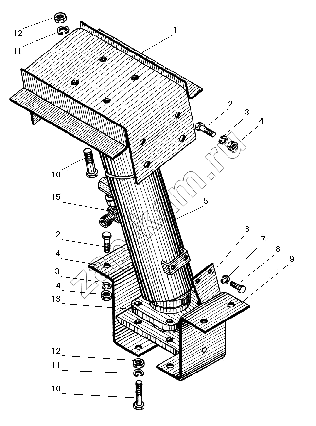
1
2
2
3
3
4
4
5
6
7
8
9
10
10
11
11
12
12
13
14
15
Поз.
Артикул
Название детали
Кол-во
1
55571-8603135
Опора верхняя
1;
2
202118-П29
Болт М16х38
12;
3
252139-П2
Шайба 16
12;
4
250560-П29
Гайка М16х1,5-6Н
12;
5
БРИП.306457.010
Гидроцилиндр подъема платформы в сборе
1;
6
55571-8603156
Кулиса
1;
7
252156-П2
Шайба 10 пружинная
2;
8
201674-П29
Болт М10х1,25-6gх20
2;
9
55571-8603100
Кронштейн гидроцилиндра в сборе левый
1;
10
332784-П29
Болт М18-6gх70
8;
11
252140-П2
Шайба 18.ОТ
8;
12
250562-П29
Гайка М18-6Н
8;
13
5557-8603117
Усилитель кронштейна
1;
14
55571-8603103
Кронштейн гидроцилиндра в сборе правый
1;
15
55571-8603160
Угольник
1;
Содержащиеся в справочниках-каталогах запасные части и детали не предлагаются к продаже, а носят исключительно информационный характер
Дополнительная информация
×
Название:
Номер:
Примечание:
Войти
Имя пользователя
Пароль
Забыли пароль?
Запомнить меня
Войти
Поиск товаров
Поиск товаров
Корзина покупок